TOP
|
特許
|
意匠
|
商標
特許ウォッチ
Twitter
他の特許を見る
公開番号
2025140233
公報種別
公開特許公報(A)
公開日
2025-09-29
出願番号
2024039472
出願日
2024-03-13
発明の名称
ノイズフィルタ
出願人
トヨタ自動車株式会社
,
学校法人トヨタ学園
代理人
弁理士法人アイテック国際特許事務所
主分類
H01F
27/00 20060101AFI20250919BHJP(基本的電気素子)
要約
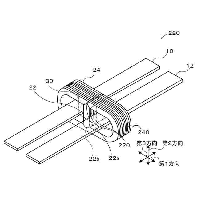
【課題】コモンモードノイズおよびノーマルモードノイズをより低減する。
【解決手段】複数の配線間に位置し、磁性材料により形成された第1薄板が積層されてなる少なくとも1つの第1コアと、磁性材料により形成された第2薄板が積層されてなる少なくとも1つの第2コアと、を備え、第2コアは、第1コアと共に複数の配線を囲むように第1コアの両端部に接合され、第1コアと第2コアとの接合面が、磁気的には導通し、電気的には絶縁している。この結果、コモンモードノイズおよびノーマルモードノイズをより低減できる。
【選択図】図1
特許請求の範囲
【請求項1】
複数の配線から発生するノイズを抑制するノイズフィルタであって、
複数の前記配線間に位置し、磁性材料により形成された第1薄板が積層されてなる少なくとも1つの第1コアと、
磁性材料により形成された第2薄板が積層されてなる少なくとも1つの第2コアと、
を備え、
前記第2コアは、前記第1コアと共に複数の前記配線を囲むように前記第1コアの両端部に接合され、
前記第1コアと前記第2コアとの接合面が、磁気的には導通し、電気的には絶縁している
ノイズフィルタ。
続きを表示(約 440 文字)
【請求項2】
複数の配線から発生するノイズを抑制するノイズフィルタであって、
複数の前記配線間に位置し、磁性材料により形成された第1薄板が積層されてなる少なくとも1つの第1コアと、
磁性材料により形成された第2薄板が積層されてなる少なくとも1つの第2コアと、
を備え、
前記第2コアは、前記第1コアと共に複数の前記配線を囲むように前記第1コアの両端部に接合され、
前記第1、第2薄板の積層方向が前記配線との並走方向である、
または、
前記第2薄板の積層方向が前記並走方向であり、前記第1薄板が前記第2薄板の積層方向に対して略垂直な方向に積層され、前記第2コアが前記第1コアとの接合部において分割されていない、
または、
前記第1薄板の積層方向が前記並走方向であり、前記第2薄板が前記第1薄板の積層方向に対して略垂直な方向に積層され、前記接合部において分割されている
ノイズフィルタ。
発明の詳細な説明
【技術分野】
【0001】
本開示は、ノイズフィルタに関する。
続きを表示(約 2,100 文字)
【背景技術】
【0002】
従来、この種のノイズフィルタとしては、磁性材料により形成された2つの配線(第1、第2バスバー)を囲む環状のコアを備えるものが提案されている(例えば、特許文献1参照)。このフィルタでは、2つの配線の間に環状のコアとは異なる磁性材料によって形成されるコアが配置されている。これにより、2つの配線へのコモンモードノイズおよびノーマルモードノイズの両モードのノイズの干渉を抑制できるとしている。
【先行技術文献】
【特許文献】
【0003】
特開2020-519222号公報
【発明の概要】
【発明が解決しようとする課題】
【0004】
しかし、上述のノイズフィルタでは、2つの配線で発生する両モードのノイズを充分に低減できない場合があることを、発明者は見出した。そのため、両モードのノイズをより低減可能なノイズフィルタが望まれている。
【0005】
本開示のノイズフィルタは、コモンモードノイズおよびノーマルモードノイズをより低減することを主目的とする。
【課題を解決するための手段】
【0006】
本開示のノイズフィルタは、上述の主目的を達成するために以下の手段を採った。
【0007】
本開示の第1のノイズフィルタは、
複数の配線から発生するノイズを抑制するノイズフィルタであって、
複数の前記配線間に位置し、磁性材料により形成された第1薄板が積層されてなる少なくとも1つの第1コアと、
磁性材料により形成された第2薄板が積層されてなる少なくとも1つの第2コアと、
を備え、
前記第2コアは、前記第1コアと共に複数の前記配線を囲むように前記第1コアの両端部に接合され、
前記第1コアと前記第2コアとの接合面が、磁気的には導通し、電気的には絶縁している
ことを要旨とする。
【0008】
この本開示の第1のノイズフィルタでは、複数の配線間に位置し、磁性材料により形成された第1薄板が積層されてなる少なくとも1つの第1コアと、磁性材料により形成された第2薄板が積層されてなる少なくとも1つの第2コアと、を備え、第2コアは、第1コアと共に複数の配線を囲むように第1コアの両端部に接合され、第1コアと第2コアとの接合面が、磁気的には導通し、電気的には絶縁している。発明者は、このノイズフィルタが、コモンモードノイズおよびノーマルモードノイズに対して比較的高いインピーダンスを備えることを見出した。ノイズフィルタは、コモンモードノイズおよびノーマルモードノイズに対して高いインピーダンスを備えることにより、コモンモードノイズおよびノーマルモードノイズをより低減できる。
【0009】
本開示の第2のノイズフィルタは、
複数の配線から発生するノイズを抑制するノイズフィルタであって、
複数の前記配線間に位置し、磁性材料により形成された第1薄板が積層されてなる少なくとも1つの第1コアと、
磁性材料により形成された第2薄板が積層されてなる少なくとも1つの第2コアと、
を備え、
前記第2コアは、前記第1コアと共に複数の前記配線を囲むように前記第1コアの両端部に接合され、
前記第1、第2薄板の積層方向が前記配線との並走方向である、
または、
前記第2薄板の積層方向が前記並走方向であり、前記第1薄板が前記第2薄板の積層方向に対して略垂直な方向に積層され、前記第2コアが前記第1コアとの接合部において分割されていない、
または、
前記第1薄板の積層方向が前記並走方向であり、前記第2薄板が前記第1薄板の積層方向に対して略垂直な方向に積層され、前記接合部において分割されている
ことを要旨とする。
【0010】
この本開示の第1のノイズフィルタでは、 複数の配線間に位置し、磁性材料により形成された第1薄板が積層されてなる少なくとも1つの第1コアと、磁性材料により形成された第2薄板が積層されてなる少なくとも1つの第2コアと、を備え、第2コアは、第1コアと共に複数の配線を囲むように第1コアの両端部に接合され、第1、第2薄板の積層方向が配線との並走方向である、または、第2薄板の積層方向が並走方向であり、第1薄板が第2薄板の積層方向に対して略垂直な方向に積層され、第2コアが第1コアとの接合部において分割されていない、または、第1薄板の積層方向が並走方向であり、第2薄板が第1薄板の積層方向に対して略垂直な方向に積層され、第2コアが接合部において分割されている。発明者は、このノイズフィルタが、コモンモードノイズおよびノーマルモードノイズに対して比較的高いインピーダンスを備えることを見出した。ノイズフィルタは、コモンモードノイズおよびノーマルモードノイズに対して高いインピーダンスを備えることにより、コモンモードノイズおよびノーマルモードノイズをより低減できる。
【図面の簡単な説明】
(【0011】以降は省略されています)
この特許をJ-PlatPat(特許庁公式サイト)で参照する
関連特許
トヨタ自動車株式会社
車両
4日前
トヨタ自動車株式会社
電池
4日前
トヨタ自動車株式会社
車両
今日
トヨタ自動車株式会社
車両
今日
トヨタ自動車株式会社
電動車
今日
トヨタ自動車株式会社
電動車
今日
トヨタ自動車株式会社
電解液
今日
トヨタ自動車株式会社
電動車
今日
トヨタ自動車株式会社
電動車
2日前
トヨタ自動車株式会社
ロータ
2日前
トヨタ自動車株式会社
回転子
今日
トヨタ自動車株式会社
蓄電装置
4日前
トヨタ自動車株式会社
蓄電装置
1日前
トヨタ自動車株式会社
検査装置
4日前
トヨタ自動車株式会社
蓄電装置
4日前
トヨタ自動車株式会社
制御装置
4日前
トヨタ自動車株式会社
制御装置
今日
トヨタ自動車株式会社
塗布装置
2日前
トヨタ自動車株式会社
制御装置
4日前
トヨタ自動車株式会社
蓄電装置
今日
トヨタ自動車株式会社
蓄電装置
1日前
トヨタ自動車株式会社
駆動装置
今日
トヨタ自動車株式会社
育苗装置
1日前
トヨタ自動車株式会社
蓄電セル
2日前
トヨタ自動車株式会社
蓄電セル
2日前
トヨタ自動車株式会社
蓄電装置
2日前
トヨタ自動車株式会社
電源装置
今日
トヨタ自動車株式会社
電動車両
今日
トヨタ自動車株式会社
制御装置
4日前
トヨタ自動車株式会社
蓄電装置
4日前
トヨタ自動車株式会社
蓄電セル
今日
トヨタ自動車株式会社
蓄電装置
4日前
トヨタ自動車株式会社
切断装置
今日
トヨタ自動車株式会社
蓄電装置
4日前
トヨタ自動車株式会社
二次電池
4日前
トヨタ自動車株式会社
冷却構造
7日前
続きを見る
他の特許を見る