TOP
|
特許
|
意匠
|
商標
特許ウォッチ
Twitter
他の特許を見る
公開番号
2025140267
公報種別
公開特許公報(A)
公開日
2025-09-29
出願番号
2024039556
出願日
2024-03-14
発明の名称
積層セラミックコンデンサ及び回路基板
出願人
太陽誘電株式会社
代理人
弁理士法人片山特許事務所
主分類
H01G
4/30 20060101AFI20250919BHJP(基本的電気素子)
要約
【課題】容量の低下を抑制する薄型積層セラミックコンデンサを提供する。
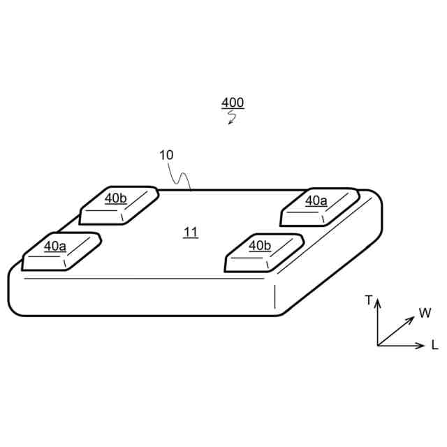
【解決手段】積層セラミックコンデンサ100は、セラミック層21と複数の内部電極22a、bが交互に積層された積層体20、積層体の表面を覆う保護部30及び積層体の積層方向にセラミック層を貫通して配置され、内部電極と電気的に接続すると共に少なくとも一端が保護部の表面に達する複数のビア導体23a、bを有する直方体状の素体10並びにその表面を形成する各面のうち、回路基板実装時に回路基板に対向する面である実装面11に少なくとも配置され、ビア導体に電気的に接続された複数の端子電極40a、40bを備え、素体は、容量形成部12、複数の内部電極の同極性のもの同士が積層方向に重なる領域及び該領域に隣接して配置されたビア導体で形成される内部電極部分対向部13を備え、内部電極部分対向部の積層方向の厚さが、容量形成部の積層方向の最大厚さより小さい。
【選択図】図2
特許請求の範囲
【請求項1】
セラミックで形成されたセラミック層と金属を主成分とする内部電極とが交互に積層された積層体、
前記積層体の表面を覆う保護部、及び
前記積層体の積層方向に前記セラミック層を貫通して配置され、前記内部電極に電気的に接続されると共に、少なくとも一端が前記保護部の表面にまで達する複数のビア導体
を有する直方体状の素体、並びに
前記素体の表面を形成する各面のうち、回路基板実装時に該回路基板に対向する面である実装面に少なくとも配置され、前記ビア導体に電気的に接続された複数の端子電極
を備え、
前記素体は、
前記内部電極のうち、異なる極性のもの同士が積層方向に重なる領域である容量形成部、並びに
前記内部電極のうち、同じ極性のもの同士が積層方向に重なる領域、及び該領域に隣接して配置された前記ビア導体で形成される内部電極部分対向部
を備え、
前記内部電極部分対向部の積層方向の厚さT
p
が、前記容量形成部の積層方向の最大厚さT
1
よりも小さい
積層セラミックコンデンサ。
続きを表示(約 530 文字)
【請求項2】
前記内部電極部分対向部は、前記T
p
の値が、前記ビア導体の形成位置から前記容量形成部に近づくにつれて増大する、請求項1に記載の積層セラミックコンデンサ。
【請求項3】
前記T
p
の最小値をT
2
としたとき、T
1
-T
2
の値が、0.2μm以上40μm以下である、請求項1に記載の積層セラミックコンデンサ。
【請求項4】
前記T
p
の最小値をT
2
としたとき、前記T
1
と前記T
2
との差の、前記T
1
に対する百分率である{(T
1
-T
2
)/T
1
}×100の値が、0.2%以上40%以下である、請求項1に記載の積層セラミックコンデンサ。
【請求項5】
積層方向の寸法が100μm以下である、請求項1に記載の積層セラミックコンデンサ。
【請求項6】
請求項1から5のいずれか1項に記載の積層セラミックコンデンサが搭載された回路基板。
発明の詳細な説明
【技術分野】
【0001】
本発明は、積層セラミックコンデンサ及び回路基板に関する。
続きを表示(約 1,600 文字)
【背景技術】
【0002】
携帯電話を代表とする高周波通信システムでは、多種多様なセラミック電子部品が使用されている。こうしたセラミック電子部品には、小型化・薄型化が求められており、積層セラミックコンデンサにおいても、小型化・薄型化が検討されている。
【0003】
特許文献1には、薄型で破損しにくい積層セラミックコンデンサとして、内部電極層同士、及び内部電極層と端子電極とを電気的に接続するヴィアホール電極を、内部に空隙が形成されたものとした積層セラミックコンデンサが開示されている。
【先行技術文献】
【特許文献】
【0004】
特開2020-72263号公報
【発明の概要】
【発明が解決しようとする課題】
【0005】
特許文献1に開示されるような、ヴィアホール電極(ビア導体)を備える積層セラミックコンデンサでは、金属を主成分とするビア導体と、これに接するセラミック層との間に、大きな熱膨張係数の差異が存在する。このため、製造過程における焼成時や、使用中に大きな温度変化が生じた場合等に、ビア導体とセラミック層との膨張量又は収縮量の差異により、両者の間にクラックが生じることがある。このクラックが伸長し、セラミック層に接する内部電極と、これに接続されたビア導体との界面にまで達すると、内部電極の接続不良を引き起こし、静電容量の低下につながることが問題であった。
【0006】
本発明は、上記問題を解決するためになされたものであり、静電容量の低下が抑制された薄型の積層セラミックコンデンサ、及び該積層セラミックコンデンサが搭載された回路基板を提供することを目的とする。
【課題を解決するための手段】
【0007】
本発明者は、前述の問題を解決するために種々の検討を行なったところ、内部電極同士がビア導体を介して電気的に接続された積層セラミックコンデンサにおいて、素体の厚みを、ビア導体の近傍において他の部分よりも薄くすることで、上記目的が達成できることを見出し、本発明を完成するに至った。
【0008】
すなわち、前記課題を解決するための本発明の第1の側面は、セラミックで形成されたセラミック層と金属を主成分とする内部電極とが交互に積層された積層体、前記積層体の表面を覆う保護部、及び前記積層体の積層方向に前記セラミック層を貫通して配置され、前記内部電極に電気的に接続されると共に、少なくとも一端が前記保護部の表面にまで達する複数のビア導体を有する直方体状の素体、並びに前記素体の表面を形成する各面のうち、回路基板実装時に該回路基板に対向する面である実装面に少なくとも配置され、前記ビア導体に電気的に接続された複数の端子電極を備え、前記素体は、前記内部電極のうち、異なる極性のものが積層方向に重なる領域である容量形成部、並びに前記内部電極のうち、同じ極性のものが積層方向に重なる領域、及び該領域に隣接して配置された前記ビア導体で形成される内部電極部分対向部を備え、前記内部電極部分対向部の積層方向の厚さT
p
が、前記容量形成部の積層方向の最大厚さT
1
よりも小さい積層セラミックコンデンサである。
【0009】
また、前記課題を解決するための本発明の第2の側面は、前記第1の側面に係る積層セラミックコンデンサが搭載された回路基板である。
【発明の効果】
【0010】
本発明によれば、静電容量の低下が抑制された薄型の積層セラミックコンデンサ、及び該積層セラミックコンデンサが搭載された回路基板を提供することができる。
【図面の簡単な説明】
(【0011】以降は省略されています)
この特許をJ-PlatPat(特許庁公式サイト)で参照する
関連特許
太陽誘電株式会社
導波路装置
9日前
太陽誘電株式会社
全固体電池
9日前
太陽誘電株式会社
コイル部品
2日前
太陽誘電株式会社
コイル部品
3日前
太陽誘電株式会社
コイル部品
2日前
太陽誘電株式会社
生体情報測定装置
2日前
太陽誘電株式会社
セラミック電子部品
2日前
太陽誘電株式会社
積層セラミック電子部品
2日前
太陽誘電株式会社
積層セラミック電子部品
4日前
太陽誘電株式会社
グルコース濃度推定装置
3日前
太陽誘電株式会社
積層セラミックコンデンサ
3日前
太陽誘電株式会社
コイル部品および実装基板
3日前
太陽誘電株式会社
センサ装置および取付方法
3日前
太陽誘電株式会社
フィルタ及びマルチプレクサ
4日前
太陽誘電株式会社
導波路装置およびレーダ装置
9日前
太陽誘電株式会社
血圧測定装置および血圧測定方法
3日前
太陽誘電株式会社
コイル部品、コイル部品の製造方法
2日前
太陽誘電株式会社
バッテリパック及び車両の制御装置
9日前
太陽誘電株式会社
コイル部品、コイル部品の製造方法
2日前
太陽誘電株式会社
コイル部品及びコイル部品の製造方法
2日前
太陽誘電株式会社
特徴量取得装置および特徴量取得方法
23日前
太陽誘電株式会社
積層セラミックコンデンサ及び回路基板
5日前
太陽誘電株式会社
積層セラミックコンデンサ及び回路基板
3日前
太陽誘電株式会社
積層セラミックコンデンサ及び回路基板
13日前
太陽誘電株式会社
積層セラミックコンデンサ及び回路基板
13日前
太陽誘電株式会社
積層セラミックコンデンサ及び回路基板
16日前
太陽誘電株式会社
積層セラミック電子部品及びその製造方法
2日前
太陽誘電株式会社
圧電トランスデューサおよび電気音響装置
11日前
太陽誘電株式会社
磁性基体及び磁性基体を備えるコイル部品
2日前
太陽誘電株式会社
積層セラミック電子部品およびその製造方法
3日前
太陽誘電株式会社
積層セラミック電子部品およびその製造方法
2日前
太陽誘電株式会社
積層セラミック電子部品およびその製造方法
2日前
太陽誘電株式会社
電子部品の検査方法および電子部品の製造方法
13日前
太陽誘電株式会社
弾性波デバイス、フィルタ、及びマルチプレクサ
9日前
太陽誘電株式会社
位置情報システム、情報処理装置及び情報処理方法
4日前
太陽誘電株式会社
心拍検出システム、心拍検出方法およびプログラム
2日前
続きを見る
他の特許を見る