TOP
|
特許
|
意匠
|
商標
特許ウォッチ
Twitter
他の特許を見る
公開番号
2025139244
公報種別
公開特許公報(A)
公開日
2025-09-26
出願番号
2024038072
出願日
2024-03-12
発明の名称
積層セラミックコンデンサ及び回路基板
出願人
太陽誘電株式会社
代理人
弁理士法人片山特許事務所
主分類
H01G
4/30 20060101AFI20250918BHJP(基本的電気素子)
要約
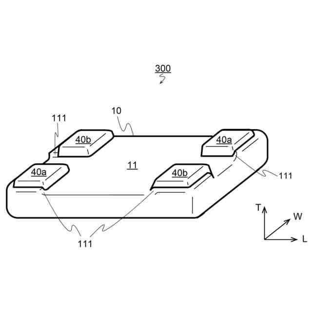
【課題】回路基板への実装時及び実装後にクラックの発生が抑制された積層セラミックコンデンサ並びにその積層セラミックコンデンサが搭載された回路基板を提供する。
【解決手段】積層セラミックコンデンサ100は、積層体20及び積層体の表面を覆う保護部30を有する直方体状の素体10並びに回路基板に対向する実装面11に配置され、内部電極22(22a、22b)に電気的に接続された複数の端子電極40(40a、40b)を備え、実装面は、各端子電極における他の端子電極と対向する端部の近傍に、外縁側が積層体とは反対側に向かってせり上がるスロープ部111を有する。
【選択図】図2
特許請求の範囲
【請求項1】
セラミックで形成されたセラミック層と金属を主成分とする内部電極とが交互に積層された積層体、及び
前記積層体の表面を覆う保護部
を有する直方体状の素体、並びに
前記素体の表面を形成する各面のうち、回路基板実装時に該回路基板に対向する面である実装面に少なくとも配置され、前記内部電極に電気的に接続された複数の端子電極
を備え、
前記実装面は、前記各端子電極における他の端子電極と対向する端部の近傍に、外縁側が前記積層体とは反対側に向かってせり上がるスロープ部を有する
積層セラミックコンデンサ。
続きを表示(約 860 文字)
【請求項2】
前記複数の端子電極が、素体に接する下地導体と、該下地導体の表面に形成されためっき導体とを有し、前記下地導体は、前記スロープ部に接触しない、請求項1に記載の積層セラミックコンデンサ。
【請求項3】
前記めっき導体が前記スロープ部上に配置された、請求項2に記載の積層セラミックコンデンサ。
【請求項4】
前記スロープ部の勾配が、該スロープ部の頂上に近づくにつれて大きくなる、請求項1に記載の積層セラミックコンデンサ。
【請求項5】
前記スロープ部のせり上がり高さh
s
が、0.1μm≦h
s
≦10μmを満たす、請求項1に記載の積層セラミックコンデンサ。
【請求項6】
前記スロープ部を前記積層体の積層方向に垂直な面に投影した長さl
s
が、1μm≦l
s
≦100μmを満たす、請求項1に記載の積層セラミックコンデンサ。
【請求項7】
前記実装面は、前記スロープ部の間に、該スロープ部のせり上がり高さをh
s
としたとき、0.2h
s
以上0.9h
s
以下の高さの凸部を有する、請求項1に記載の積層セラミックコンデンサ。
【請求項8】
前記複数の端子電極の数が4以上であり、該各端子電極は、前記実装面内で最近接する他の端子電極と極性が異なる、請求項1に記載の積層セラミックコンデンサ。
【請求項9】
前記素体の表面を形成する各面のうち、前記実装面に対向する面である対向面には電極が配置されておらず、
前記実装面における前記スロープ部以外の領域に直交する方向の寸法である高さが、100μm以下である、
請求項1に記載の積層セラミックコンデンサ。
【請求項10】
請求項1から9のいずれか1項に記載の積層セラミックコンデンサが搭載された回路基板。
発明の詳細な説明
【技術分野】
【0001】
本発明は、積層セラミックコンデンサ及び回路基板に関する。
続きを表示(約 1,700 文字)
【背景技術】
【0002】
携帯電話を代表とする高周波通信システムでは、多種多様なセラミック電子部品が使用されている。こうしたセラミック電子部品には、小型化・薄型化が求められており、積層セラミックコンデンサにおいても、小型化・薄型化が検討されている。
いる。
【0003】
特許文献1には、薄型で破損しにくい積層セラミックコンデンサとして、内部電極層同士、及び内部電極層と端子電極とを電気的に接続するヴィアホール電極を、内部に空隙が形成されたものとした積層セラミックコンデンサが開示されている。特許文献1に開示された積層セラミックコンデンサでは、素子本体の平坦な形状を有する上面に、端子電極が形成されている。
【先行技術文献】
【特許文献】
【0004】
特開2020-72263号公報
【非特許文献】
【0005】
J. A. Ahmar et al., "Flex Cracking of Multilayer Ceramic Capacitors: Experiments on Fracture Propagation," 2018 7th Electronic System Integration Technology Conference (ESTC), Dresden, Germany, 2018, pp. 1-6
【発明の概要】
【発明が解決しようとする課題】
【0006】
積層セラミックコンデンサでは、回路基板に実装する際のはんだ付けにより生じる熱衝撃や、実装後の回路基板のたわみ変形等に起因して、端子電極同士を離間する方向に応力が加わることがある。この応力は、非特許文献1に報告されているように、端子電極の端部に集中し、素体に伝達されてクラックを生じる場合がある。こうして素体に生じたクラックは、端子電極端部を起点とし、素体内部に向かって進展することが多く、クラック内部に生じる空気層への電界集中によるショート不良の原因となる。このため、回路基板への実装時から、実装された回路基板の取扱いを経て使用時に至るまで、クラックが発生しにくい積層セラミックコンデンサが求められている。
【0007】
本発明は、上記問題を解決するためになされたものであり、回路基板への実装時及び実装後に、クラックの発生が抑制された積層セラミックコンデンサ、並びに該積層セラミックコンデンサが搭載された回路基板を提供することを目的とする。
【課題を解決するための手段】
【0008】
本発明者は、前述の問題を解決するために種々の検討を行なったところ、積層セラミックコンデンサの実装面、すなわち回路基板に実装する際に該回路基板に対向する面を、端子電極との境界部において該端子電極の露出する上面側へとせり上がるスロープ部を有するものとすることで、上記目的が達成できることを見出し、本発明を完成するに至った。
【0009】
すなわち、前記課題を解決するための本発明の第1の側面は、セラミックで形成されたセラミック層と金属を主成分とする内部電極とが交互に積層された積層体、及び
前記積層体の表面を覆う保護部を有する直方体状の素体、並びに前記素体の表面を形成する各面のうち、回路基板実装時に該回路基板に対向する面である実装面に少なくとも配置され、前記内部電極に電気的に接続された複数の端子電極を備え、前記実装面は、前記各端子電極における他の端子電極と対向する端部の近傍に、外縁側が前記積層体とは反対側に向かってせり上がるスロープ部を有する積層セラミックコンデンサ積層セラミックコンデンサである。
【0010】
また、前記課題を解決するための本発明の第2の側面は、前記第1の側面に係る積層セラミックコンデンサが搭載された回路基板である。
【発明の効果】
(【0011】以降は省略されています)
この特許をJ-PlatPat(特許庁公式サイト)で参照する
関連特許
太陽誘電株式会社
感覚提示システム
1か月前
太陽誘電株式会社
積層セラミック電子部品
1か月前
太陽誘電株式会社
電動アシスト車の制御装置
1か月前
太陽誘電株式会社
フィルタ及びマルチプレクサ
1か月前
太陽誘電株式会社
特徴量取得装置および特徴量取得方法
13日前
太陽誘電株式会社
積層セラミックコンデンサ及び回路基板
3日前
太陽誘電株式会社
積層セラミックコンデンサ及び回路基板
3日前
太陽誘電株式会社
積層セラミックコンデンサ及び回路基板
6日前
太陽誘電株式会社
積層セラミックコンデンサ及び回路基板
1か月前
太陽誘電株式会社
圧電トランスデューサおよび電気音響装置
1日前
太陽誘電株式会社
積層セラミック電子部品及びその製造方法
1か月前
太陽誘電株式会社
積層セラミック電子部品及びその製造方法
1か月前
太陽誘電株式会社
積層セラミック電子部品及びその製造方法
22日前
太陽誘電株式会社
電子部品の検査方法および電子部品の製造方法
3日前
太陽誘電株式会社
積層セラミック電子部品および誘電体磁器組成物
1か月前
太陽誘電株式会社
存在検知システム、存在判定装置および存在判定方法
13日前
太陽誘電株式会社
測位システム、測位装置、測位方法、および測位プログラム
22日前
太陽誘電株式会社
弾性波デバイス、フィルタ、及び弾性波デバイスの製造方法
13日前
太陽誘電株式会社
測位システム、測位装置、測位方法、および測位プログラム
22日前
太陽誘電株式会社
セラミック電子部品
2日前
太陽誘電株式会社
弾性波デバイス、フィルタ、マルチプレクサ、及び弾性波デバイスの製造方法
1か月前
太陽誘電株式会社
弾性波デバイス、フィルタ、マルチプレクサ、及び弾性波デバイスの製造方法
1か月前
住友ベークライト株式会社
感応膜用組成物、感応膜、におい検出素子、および、においセンサー
6日前
住友ベークライト株式会社
感応膜用組成物、感応膜、におい検出素子、および、においセンサー
6日前
太陽誘電株式会社
劣化検出装置、劣化検出システム、劣化検出方法、重量測定装置、重量測定方法およびプログラム
1か月前
個人
安全なNAS電池
27日前
東レ株式会社
多孔質炭素シート
22日前
個人
フリー型プラグ安全カバー
1か月前
日本発條株式会社
積層体
3日前
ローム株式会社
半導体装置
1日前
個人
防雪防塵カバー
3日前
ローム株式会社
半導体装置
1日前
ローム株式会社
半導体装置
1日前
ローム株式会社
半導体装置
22日前
キヤノン株式会社
電子機器
22日前
エイブリック株式会社
半導体装置
24日前
続きを見る
他の特許を見る