TOP
|
特許
|
意匠
|
商標
特許ウォッチ
Twitter
他の特許を見る
公開番号
2025140266
公報種別
公開特許公報(A)
公開日
2025-09-29
出願番号
2024039555
出願日
2024-03-14
発明の名称
積層セラミックコンデンサ及び回路基板
出願人
太陽誘電株式会社
代理人
弁理士法人片山特許事務所
主分類
H01G
4/30 20060101AFI20250919BHJP(基本的電気素子)
要約
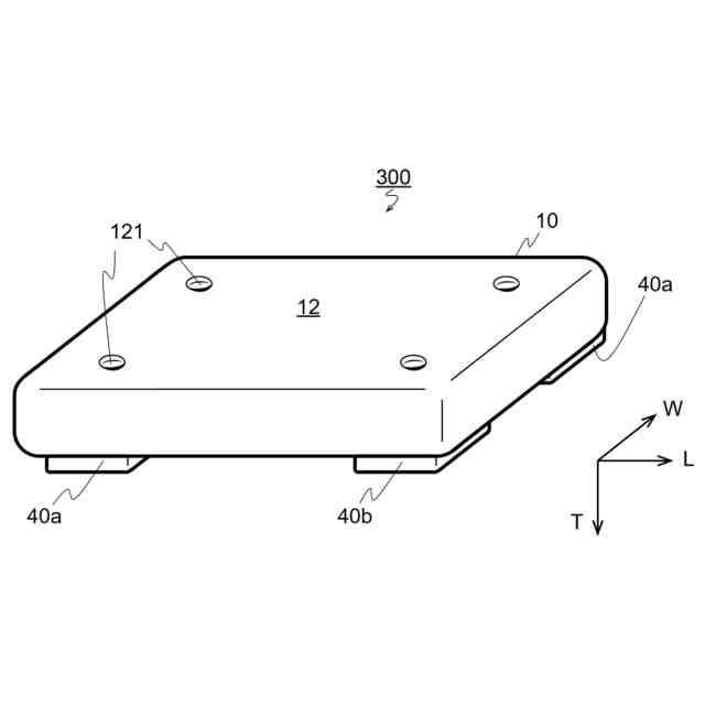
【課題】取扱いの際に発生する静電気の量を抑制する薄型の積層セラミックコンデンサを提供する。
【解決手段】積層セラミックコンデンサ100は、セラミック層2と内部電極22とが交互に積層された積層体20、積層体の表面を覆う保護部30及び積層体の積層方向にセラミック層を貫通して配置され、内部電極に電気的に接続されると共に、一方の端部が保護部の表面にまで達する反面、他方の端部は保護部で覆われた複数のビア導体23a、23bを有する直方体状の素体10並びに素体の表面を形成する各面のうち、回路基板実装時に回路基板と対向する面である実装面11に少なくとも配置され、ビア導体に電気的に接続された複数の端子電極40a、40bを備え、素体の表面を形成する各面のうち、実装面に対向する対向面12には電極が配置されておらず、また、ビア導体の端部のうち保護部で覆われた側を積層体の積層方向に投影した位置に、凹部121を有する。
【選択図】図2
特許請求の範囲
【請求項1】
セラミックで形成されたセラミック層と金属を主成分とする内部電極とが交互に積層された積層体、
前記積層体の表面を覆う保護部、及び
前記積層体の積層方向に前記セラミック層を貫通して配置され、前記内部電極に電気的に接続されると共に、一方の端部が前記保護部の表面にまで達する反面、他方の端部は前記保護部で覆われた、複数のビア導体
を有する直方体状の素体、並びに
前記素体の表面を形成する各面のうち、回路基板実装時に該回路基板に対向する面である実装面に少なくとも配置され、前記ビア導体に電気的に接続された複数の端子電極
を備え、
前記素体の表面を形成する各面のうち、前記実装面に対向する面である対向面は、
電極が配置されておらず、かつ
前記ビア導体の端部のうち前記保護部で覆われた側を前記積層体の積層方向に投影した位置に凹部を有する
積層セラミックコンデンサ。
続きを表示(約 450 文字)
【請求項2】
前記凹部が3箇所以上に存在する、請求項1に記載の積層セラミックコンデンサ。
【請求項3】
前記凹部は、前記対向面に垂直な方向から見たときに、円又は楕円形状を有する、請求項1に記載の積層セラミックコンデンサ。
【請求項4】
前記ビア導体は、積層体の積層方向に平行な断面における前記対向面側の端部が凹部を有する、請求項1に記載の積層セラミックコンデンサ。
【請求項5】
前記対向面が有する前記凹部は、中心部の深さが周縁部よりも深い、請求項1に記載の積層セラミックコンデンサ。
【請求項6】
前記中心部の深さが0.1μm以上10μm以下である、請求項5に記載の積層セラミックコンデンサ。
【請求項7】
積層方向の寸法が100μm以下である、請求項1に記載の積層セラミックコンデンサ。
【請求項8】
請求項1から7のいずれか1項に記載の積層セラミックコンデンサが搭載された回路基板。
発明の詳細な説明
【技術分野】
【0001】
本発明は、積層セラミックコンデンサ及び回路基板に関する。
続きを表示(約 1,700 文字)
【背景技術】
【0002】
携帯電話を代表とする高周波通信システムでは、多種多様なセラミック電子部品が使用されている。こうしたセラミック電子部品には、小型化・薄型化が求められており、積層セラミックコンデンサにおいても、小型化・薄型化が検討されている。
【0003】
特許文献1には、薄型で破損しにくい積層セラミックコンデンサとして、内部電極層同士、及び内部電極層と端子電極とを電気的に接続するヴィアホール電極を、内部に空隙が形成されたものとした積層セラミックコンデンサが開示されている。
【先行技術文献】
【特許文献】
【0004】
特開2020-72263号公報
【発明の概要】
【発明が解決しようとする課題】
【0005】
特許文献1に開示された積層セラミックコンデンサは、対向する上面及び下面のうち、上面にのみ端子電極が形成されている。こうした構造の積層セラミックコンデンサでは、端子電極を形成していない下面は、外部電極による凸部が存在しないため、全面にわたって平坦な形状となっている。このため、製造工程において個片化されたコンデンサチップを取り扱う際に、下面が製造装置及び治具、並びに他のコンデンサチップ等と接触すると、接触面積が大きくなることに起因して、静電気の帯電量が増加する。これにより、貼りつきよる搬送不良が発生しやすくなり、製造時の歩留まりが低下することが問題であった。また、下面が平坦な形状を有することに起因する帯電量の増加は、コンデンサが収容されたキャリアテープからカバーテープを剥離した際にも発生する。帯電量の増加により、剥離したカバーテープにコンデンサチップが貼り付き、実装時の歩留まりが低下することも問題であった。
【0006】
本発明は、上記問題を解決するためになされたものであり、取扱いの際に発生する静電気の量が抑制された薄型の積層セラミックコンデンサ、及び該積層セラミックコンデンサが搭載された回路基板を提供することを目的とする。
【課題を解決するための手段】
【0007】
本発明者は、前述の問題を解決するために種々の検討を行なったところ、内部電極同士がビア導体を介して電気的に接続された積層セラミックコンデンサにおいて、下面、すなわち端子電極が形成されていない面を、ビア導体に対応する位置に凹部を有するものとすることで、上記目的が達成できることを見出し、本発明を完成するに至った。
【0008】
すなわち、前記課題を解決するための本発明の第1の側面は、セラミックで形成されたセラミック層と金属を主成分とする内部電極とが交互に積層された積層体、前記積層体の表面を覆う保護部、及び前記積層体の積層方向に前記セラミック層を貫通して配置され、前記内部電極に電気的に接続されると共に、一方の端部が前記保護部の表面にまで達する反面、他方の端部は前記保護部で覆われた、複数のビア導体を有する直方体状の素体、並びに前記素体の表面を形成する各面のうち、回路基板実装時に該回路基板に対向する面である実装面に少なくとも配置され、前記ビア導体に電気的に接続された複数の端子電極を備え、前記素体の表面を形成する各面のうち、前記実装面に対向する面である対向面は、電極が配置されておらず、かつ前記ビア導体の端部のうち前記保護部で覆われた側を前記積層体の積層方向に投影した位置に凹部を有する積層セラミックコンデンサである。
【0009】
また、前記課題を解決するための本発明の第2の側面は、前記第1の側面に係る積層セラミックコンデンサが搭載された回路基板である。
【発明の効果】
【0010】
本発明によれば、取扱いの際に発生する静電気の量が抑制された薄型の積層セラミックコンデンサ、及び該積層セラミックコンデンサが搭載された回路基板を提供することができる。
【図面の簡単な説明】
(【0011】以降は省略されています)
この特許をJ-PlatPat(特許庁公式サイト)で参照する
関連特許
太陽誘電株式会社
特徴量取得装置および特徴量取得方法
14日前
太陽誘電株式会社
積層セラミックコンデンサ及び回路基板
4日前
太陽誘電株式会社
積層セラミックコンデンサ及び回路基板
4日前
太陽誘電株式会社
積層セラミックコンデンサ及び回路基板
7日前
太陽誘電株式会社
圧電トランスデューサおよび電気音響装置
2日前
太陽誘電株式会社
積層セラミック電子部品及びその製造方法
23日前
太陽誘電株式会社
電子部品の検査方法および電子部品の製造方法
4日前
太陽誘電株式会社
存在検知システム、存在判定装置および存在判定方法
14日前
太陽誘電株式会社
弾性波デバイス、フィルタ、及び弾性波デバイスの製造方法
14日前
太陽誘電株式会社
セラミック電子部品
3日前
住友ベークライト株式会社
感応膜用組成物、感応膜、におい検出素子、および、においセンサー
7日前
住友ベークライト株式会社
感応膜用組成物、感応膜、におい検出素子、および、においセンサー
7日前
個人
安全なNAS電池
28日前
日本発條株式会社
積層体
4日前
東レ株式会社
多孔質炭素シート
23日前
キヤノン株式会社
電子機器
23日前
エイブリック株式会社
半導体装置
25日前
ローム株式会社
半導体装置
2日前
ローム株式会社
半導体装置
2日前
ローム株式会社
半導体装置
23日前
ローム株式会社
半導体装置
2日前
エイブリック株式会社
半導体装置
25日前
個人
防雪防塵カバー
4日前
株式会社ティラド
面接触型熱交換器
15日前
個人
半導体パッケージ用ガラス基板
3日前
ニチコン株式会社
コンデンサ
16日前
東レ株式会社
ガス拡散層の製造方法
23日前
ニチコン株式会社
コンデンサ
16日前
株式会社GSユアサ
蓄電装置
4日前
株式会社ヨコオ
コネクタ
25日前
マクセル株式会社
配列用マスク
15日前
日本特殊陶業株式会社
保持装置
1か月前
トヨタ自動車株式会社
二次電池
4日前
ローム株式会社
電子装置
4日前
日本特殊陶業株式会社
保持装置
4日前
日本特殊陶業株式会社
保持装置
2日前
続きを見る
他の特許を見る