TOP
|
特許
|
意匠
|
商標
特許ウォッチ
Twitter
他の特許を見る
10個以上の画像は省略されています。
公開番号
2025137260
公報種別
公開特許公報(A)
公開日
2025-09-19
出願番号
2024036366
出願日
2024-03-08
発明の名称
特徴量取得装置および特徴量取得方法
出願人
太陽誘電株式会社
代理人
弁理士法人酒井国際特許事務所
主分類
A61B
5/02 20060101AFI20250911BHJP(医学または獣医学;衛生学)
要約
【課題】脈波から特徴量を好適に取得できる特徴量取得装置および特徴量取得方法を提供すること。
【解決手段】特徴量取得装置は、脈波を取得する取得部と、脈波の各周期におけるそれぞれの最大値の点である第1点及び最小値の点である第2点とを特定し、第1点が現れた時刻と第1点の後に最初に第2点が現れた時刻との区間のうちの一部の区間の脈波の1階微分波形の最大の極大値の点である極大点を検出し、1階微分波形の極大点が現れた時刻における脈波の点を特徴点として特定し、少なくとも特徴点の値と時刻に基づき、生体情報に関連する特徴量を計算する、計算部と、を備える。
【選択図】図7
特許請求の範囲
【請求項1】
脈波を含む信号を取得する取得部と、
前記脈波の各周期におけるそれぞれの最大値の点である第1点及び最小値の点である第2点とを特定し、前記第1点が現れた時刻と前記第1点の後に最初に前記第2点が現れた時刻との区間である第1区間のうちの一部の区間である第2区間の前記脈波の1階微分波形の最大の極大値の点である極大点を検出し、前記1階微分波形の前記極大点が現れた時刻における前記脈波の点である第3点を特徴点として特定し、少なくとも前記特徴点の値と時刻に基づき、生体情報に関連する特徴量を計算する、計算部と、
を備える特徴量取得装置。
続きを表示(約 1,000 文字)
【請求項2】
前記計算部は、前記第1区間の先頭から前記第1区間よりも短い第1時間だけ後の時刻と、前記第1区間の末尾から前記第1区間よりも短い時間だけ前の時刻と、の区間を第2区間として特定する、
請求項1に記載の特徴量取得装置。
【請求項3】
前記計算部は、
前記1階微分波形の前記極大点の値が0より小さい場合、前記第3点を前記特徴点として特定し、
前記1階微分波形の前記極大点の値が0より大きい場合、前記1階微分波形の極大点が現れてから前記1階微分波形の値が最初に正負が切り替わる時刻における前記脈波の点を前記特徴点として特定する、
請求項1または請求項2に記載の特徴量取得装置。
【請求項4】
前記計算部は、
前記第2区間に前記脈波に現れた極大点の数が1つである場合、前記特徴量の計算を行い、
前記第2区間に前記脈波に現れた極大点の数が1つでない場合、前記特徴量の計算を行わない、
請求項1または請求項2に記載の特徴量取得装置。
【請求項5】
前記計算部は、前記第2区間において前記1階微分波形が最大値をとる点を前記1階微分波形の前記極大点として特定する、
請求項1または請求項2に記載の特徴量取得装置。
【請求項6】
前記計算部は、前記第1点と、前記第2点と、前記特徴点と、に基づき、前記特徴量であるAugmentation Indexを計算する、
請求項1または請求項2に記載の特徴量取得装置。
【請求項7】
前記第1時間を前記第1区間で除した割合は、30パーセント以下である、
請求項2に記載の特徴量取得装置。
【請求項8】
脈波を含む信号を取得することと、
前記脈波の各周期におけるそれぞれの最大値の点である第1点及び最小値の点である第2点とを特定することと、
前記第1点が現れた時刻と前記第1点の後に最初に前記第2点が現れた時刻との区間である第1区間のうちの一部の区間である第2区間の前記脈波の1階微分波形の最大の極大値の点である極大点を検出することと、
前記1階微分波形の前記極大点が現れた時刻における前記脈波の点である第3点を特徴点として特定することと、
少なくとも前記特徴点の値と時刻に基づき、生体情報を計算することと、
を含む特徴量取得方法。
発明の詳細な説明
【技術分野】
【0001】
本実施形態は、特徴量取得装置および特徴量取得方法に関する。
続きを表示(約 1,700 文字)
【背景技術】
【0002】
従来、脈波から血圧などの生体情報に関連する特徴量を取得することが可能である。例えば、Augmentation Index(以降、AIx)と称される指標を特徴量として用いることができる。AIxは、1周期の脈波に現れる2番目に大きい値の極大点(第2極大点と表記する)における脈波の値を1周期の脈波に現れる1番目に大きい最大値の極大点(第1極大点と表記する)における脈波の値で除算することで得られる。AIxは、加齢に伴う大動脈硬化度を反映した指標として使用され得る。
【先行技術文献】
【特許文献】
【0003】
特開2022-058583号公報
【発明の概要】
【発明が解決しようとする課題】
【0004】
しかしながら、脈波を検出するセンサの方式や、被験者による脈波検出装置の使用方法によっては、精度が高い脈波が検出できるとは限らない。検出された脈波の精度が悪いと、検出された脈波に第2極大点が現れない場合がある。そのような場合は、AIxなど第2極大点を用いた特徴量の取得が困難である。
【0005】
本発明は、脈波から特徴量を好適に取得できる特徴量取得装置および特徴量取得方法を提供することを目的とする。
【課題を解決するための手段】
【0006】
本発明によれば、特徴量取得装置は、脈波を含む信号を取得する取得部と、前記脈波の各周期におけるそれぞれの最大値の点である第1点及び最小値の点である第2点とを特定し、前記第1点が現れた時刻と前記第1点の後に最初に前記第2点が現れた時刻との区間である第1区間のうちの一部の区間である第2区間の前記脈波の1階微分波形の最大の極大値の点である極大点を検出し、前記1階微分波形の前記極大点が現れた時刻における前記脈波の点である第3点を特徴点として特定し、少なくとも前記特徴点の値と時刻に基づき、生体情報に関連する特徴量を計算する、計算部と、を備える。
【発明の効果】
【0007】
本発明によれば、脈波から特徴量を好適に取得できる特徴量取得装置および特徴量取得方法を提供することができる、という効果を奏する。
【図面の簡単な説明】
【0008】
図1は、容積脈波の波形の一例を示す図である。
図2は、検出精度に応じた検出される容積脈波の変化を説明するための図である。
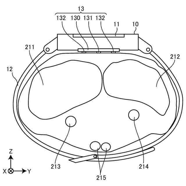
図3は、実施形態に係るスマートウォッチを人体に装着したときの外観図である。
図4は、図3に示した実施形態に係るススマートウォッチおよび腕のYZ平面における断面図である。
図5は、実施形態に係るスマートウォッチの内部構成の一例を示す模式的な図である。
図6は、実施形態に係るセンサモジュールが備えるマイクロコンピュータユニットの機能構成の一例を示す図である。
図7は、実施形態に係る計算部によって実行される第2極大点に対応する特徴点を特定するアルゴリズムの一例を説明するための図である。
図8は、実施形態に係る計算部によって計算される複数種類の特徴量について説明するための図である。
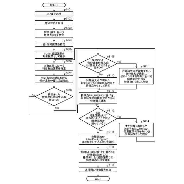
図9は、実施形態に係るマイクロコンピュータユニットの動作を示すフローチャートである。
図10は、実施形態に係る、特徴点FP1および特徴点FP2を特定する方法の一例を説明するための図である。
【発明を実施するための形態】
【0009】
脈波は、血管の容積変化を時間軸で表したものである。脈波を検出する手法には、光電センサを使う方法、圧電センサを使う方法、など、様々ある。この脈波は、容積脈波とも称される。
【0010】
図1は、容積脈波VWの波形の一例を示す図である。容積脈波VWは、1周期の波形のうちで最大の極大値をとる極大点(即ち図1に示す第1極大点)と、最小の極小値をとる極小点(即ち図1に示す第1極小点)と、が周期的に表れる波形を有する。
(【0011】以降は省略されています)
この特許をJ-PlatPat(特許庁公式サイト)で参照する
関連特許
太陽誘電株式会社
全固体電池
3日前
太陽誘電株式会社
導波路装置
3日前
太陽誘電株式会社
感覚提示システム
1か月前
太陽誘電株式会社
積層セラミック電子部品
1か月前
太陽誘電株式会社
電動アシスト車の制御装置
1か月前
太陽誘電株式会社
フィルタ及びマルチプレクサ
1か月前
太陽誘電株式会社
導波路装置およびレーダ装置
3日前
太陽誘電株式会社
バッテリパック及び車両の制御装置
3日前
太陽誘電株式会社
特徴量取得装置および特徴量取得方法
17日前
太陽誘電株式会社
積層セラミックコンデンサ及び回路基板
1か月前
太陽誘電株式会社
積層セラミックコンデンサ及び回路基板
10日前
太陽誘電株式会社
積層セラミックコンデンサ及び回路基板
7日前
太陽誘電株式会社
積層セラミックコンデンサ及び回路基板
7日前
太陽誘電株式会社
圧電トランスデューサおよび電気音響装置
5日前
太陽誘電株式会社
積層セラミック電子部品及びその製造方法
26日前
太陽誘電株式会社
電子部品の検査方法および電子部品の製造方法
7日前
太陽誘電株式会社
弾性波デバイス、フィルタ、及びマルチプレクサ
3日前
太陽誘電株式会社
存在検知システム、存在判定装置および存在判定方法
17日前
太陽誘電株式会社
多重モード型フィルタ、フィルタ、及びマルチプレクサ
3日前
太陽誘電株式会社
弾性波デバイス、フィルタ、及び弾性波デバイスの製造方法
17日前
太陽誘電株式会社
測位システム、測位装置、測位方法、および測位プログラム
26日前
太陽誘電株式会社
測位システム、測位装置、測位方法、および測位プログラム
26日前
太陽誘電株式会社
積層セラミック電子部品、及び積層セラミック電子部品の製造方法
3日前
太陽誘電株式会社
セラミック電子部品
6日前
太陽誘電株式会社
弾性波デバイス、フィルタ、マルチプレクサ、及び弾性波デバイスの製造方法
1か月前
太陽誘電株式会社
弾性波デバイス、フィルタ、マルチプレクサ、及び弾性波デバイスの製造方法
1か月前
太陽誘電株式会社
弾性波デバイス、フィルタ、マルチプレクサ、及び弾性波デバイスの製造方法
3日前
住友ベークライト株式会社
感応膜用組成物、感応膜、におい検出素子、および、においセンサー
10日前
住友ベークライト株式会社
感応膜用組成物、感応膜、におい検出素子、および、においセンサー
10日前
個人
健康器具
7か月前
個人
短下肢装具
2か月前
個人
鼾防止用具
7か月前
個人
歯茎みが品
8か月前
個人
脈波測定方法
7か月前
個人
導電香
8か月前
個人
脈波測定方法
7か月前
続きを見る
他の特許を見る