TOP
|
特許
|
意匠
|
商標
特許ウォッチ
Twitter
他の特許を見る
10個以上の画像は省略されています。
公開番号
2025140520
公報種別
公開特許公報(A)
公開日
2025-09-29
出願番号
2024039974
出願日
2024-03-14
発明の名称
モバイルユニットの連結構造
出願人
ミサワホーム株式会社
代理人
個人
主分類
B60P
3/37 20060101AFI20250919BHJP(車両一般)
要約
【課題】複数のモバイルユニット同士を容易に連結できるとともに容易に分割できるようにして、複数のモバイルユニットが随時かつ任意に移動が可能である状態を維持できるようにし、さらに、複数のモバイルユニット同士の連結箇所における雨仕舞いを確保する。
【解決手段】モバイルユニット同士を連結するとともに、対向する連絡口14a,113a間を取り囲んで通路スペース20を形成する連結包囲手段が、通路スペースを被覆する防水シート部30と、防水シート部における両側縁の下端部を保持する床部40と、を有し、床部40は、モバイルユニット間に架け渡された支持部41と、支持部41の上面に着脱自在に固定された床面部42と、床面部を支持部41に対して固定するための第一固定材44と、を備え、第一固定材は、床面部から支持部に向かって上から下に設けられることで床面部を支持部に固定している。
【選択図】図1
特許請求の範囲
【請求項1】
複数のモバイルユニットが、互いの連絡口が対向した状態で隣り合って配置され、
隣り合う前記モバイルユニット同士の間に亘って設けられて当該モバイルユニット同士を連結するとともに、対向する前記連絡口間を取り囲んで通路スペースを形成する連結包囲手段を備えており、
前記連結包囲手段は、
前記通路スペースの上縁部と一側縁部と他側縁部を少なくとも被覆する防水シート部と、
隣り合う前記モバイルユニットに固定されない状態で、当該隣り合うモバイルユニット間に架け渡されて、前記通路スペースの下縁部に配置されるとともに、前記防水シート部における両側縁の下端部を保持する床部と、を有しており、
前記床部は、
隣り合う前記モバイルユニット間に架け渡されて配置された支持部と、
前記支持部の上面に着脱自在に固定されて前記通路スペースの床面を構成する床面部と、
前記床面部を前記支持部に対して固定するための第一固定材と、を備え、
前記第一固定材は、前記床面部から前記支持部に向かって上から下に設けられることで前記床面部を前記支持部に固定していることを特徴とするモバイルユニットの連結構造。
続きを表示(約 1,000 文字)
【請求項2】
請求項1に記載のモバイルユニットの連結構造において、
前記床面部は、
前記支持部に載せられて前記第一固定材によって前記支持部に固定される下地部と、
前記下地部の上面に着脱自在に固定されて前記通路スペースの床面を構成する床仕上げ部と、
前記床仕上げ部を前記下地部に対して固定するための第二固定材と、を有し、
前記第二固定材は、前記床仕上げ部から前記下地部に向かって上から下に設けられることで前記床仕上げ部を前記下地部に固定していることを特徴とするモバイルユニットの連結構造。
【請求項3】
請求項1に記載のモバイルユニットの連結構造において、
前記支持部は、
隣り合う前記モバイルユニット間に架け渡される架設部と、
前記架設部に載せられて取り付けられるとともに、上面に、前記第一固定材によって前記床面部が固定される支持部本体と、を有し、
前記支持部本体は、前記架設部が、隣り合う前記モバイルユニット間に架け渡された方向に沿って前記架設部の上面を摺動自在となっていることを特徴とするモバイルユニットの連結構造。
【請求項4】
請求項1に記載のモバイルユニットの連結構造において、
前記支持部と前記床面部と間には、シート状のシール材が挟み込まれて設けられ、
前記シール材は、隣り合う前記モバイルユニット間に架け渡されていることを特徴とするモバイルユニットの連結構造。
【請求項5】
請求項4に記載のモバイルユニットの連結構造において、
前記シール材の上面であって、かつ、前記床面部と、当該床面部と隣り合う前記モバイルユニットとの間の隙間に第一断熱材が充填されていることを特徴とするモバイルユニットの連結構造。
【請求項6】
請求項1に記載のモバイルユニットの連結構造において、
前記防水シート部は、
前記連絡口側に位置する内側シート部と、
前記内側シート部よりも外側に位置する外側シート部と、を有し、
前記内側シート部及び前記外側シート部はそれぞれ、前記第一モバイルユニット側と前記第二モバイルユニット側に分離自在に構成され、
前記内側シート部と前記外側シート部との間には第二断熱材が充填されていることを特徴とするモバイルユニットの連結構造。
発明の詳細な説明
【技術分野】
【0001】
本発明は、モバイルユニットの連結構造に関する。
続きを表示(約 3,800 文字)
【背景技術】
【0002】
従来、簡易的に移設や設置が可能なモバイルユニットについては、コンテナハウスやトレーラーハウス、キャンピングカー等として広く知られている。また、モバイルユニットは、住居や店舗、事務所として常設されたり、仮設の宿泊施設として利用されたり、自然災害時における仮設住宅としても利用されるなど、近年、需要が高まっている。
その一方で、このようなモバイルユニットは、自動車によって牽引・搬送されることから法規制(道路運送車両法等)内に収まる大きさにする必要があるが、その分、内部空間が狭いという問題がある。そこで、例えば特許文献1に開示されるように、内部空間の拡張を目的として複数のモバイルユニット同士を行き来可能とするために連結する場合がある。
【先行技術文献】
【特許文献】
【0003】
特開平10-305751号公報
【発明の概要】
【発明が解決しようとする課題】
【0004】
ところが、モバイルユニットは、その利用形態によっては建築基準法上の建築物に当たらない場合があり、その場合は、専用の工具等を用いずに、複数のモバイルユニット同士を容易に連結できるとともに容易に分割(分離)できるようにして、複数のモバイルユニットが随時かつ任意に移動が可能である状態を維持できるようにしなければならない。さらに、複数のモバイルユニット同士を連結するにあたっては、雨水等の浸入を防ぐ必要があるため、連結箇所における雨仕舞いの確保が求められる。
【0005】
本発明は上記事情に鑑みてなされたものであり、その目的は、複数のモバイルユニット同士を容易に連結できるとともに容易に分割できるようにして、複数のモバイルユニットが随時かつ任意に移動が可能である状態を維持できるようにし、さらに、複数のモバイルユニット同士の連結箇所における雨仕舞いを確保することである。
【課題を解決するための手段】
【0006】
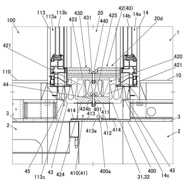
請求項1に記載の発明は、例えば図1~図12に示すように、複数のモバイルユニット1,100が、互いの連絡口14a,113aが対向した状態で隣り合って配置され、
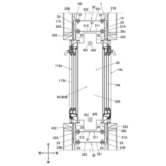
隣り合う前記モバイルユニット1,100同士の間に亘って設けられて当該モバイルユニット1,100同士を連結するとともに、対向する前記連絡口14a,113a間を取り囲んで通路スペース20を形成する連結包囲手段を備えており、
前記連結包囲手段は、
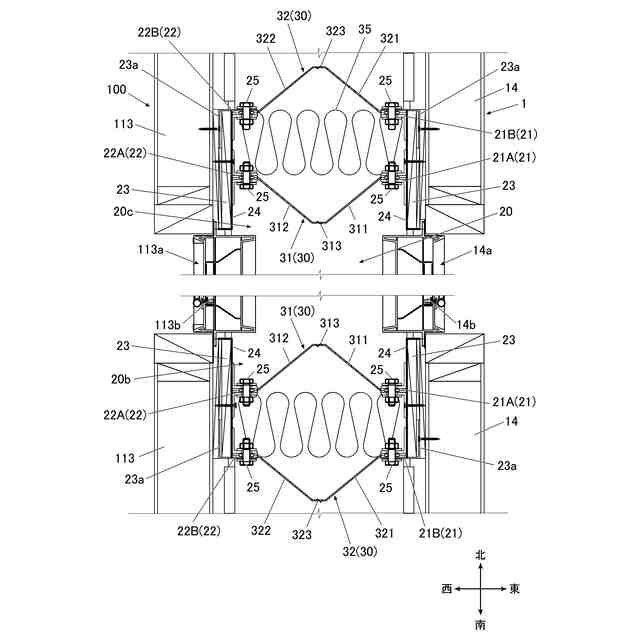
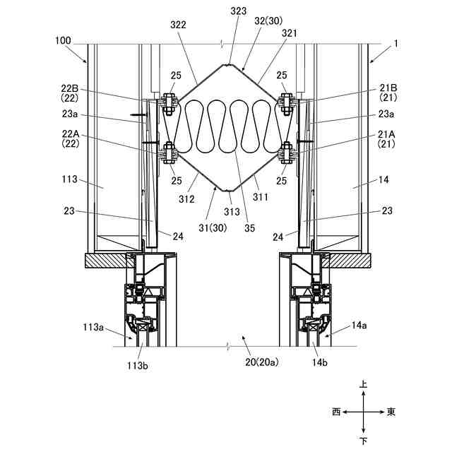
前記通路スペース20の上縁部20aと一側縁部20bと他側縁部20cを少なくとも被覆する防水シート部30と、
隣り合う前記モバイルユニット1,100に固定されない状態で、当該隣り合うモバイルユニット1,100間に架け渡されて、前記通路スペース20の下縁部に配置されるとともに、前記防水シート部30における両側縁の下端部を保持する床部40と、を有しており、
前記床部40は、
隣り合う前記モバイルユニット1,100間に架け渡されて配置された支持部41と、
前記支持部41の上面に着脱自在に固定されて前記通路スペース20の床面を構成する床面部42と、
前記床面部42を前記支持部41に対して固定するための第一固定材44と、を備え、
前記第一固定材44は、前記床面部42から前記支持部41に向かって上から下に設けられることで前記床面部42を前記支持部41に固定していることを特徴とする。
【0007】
請求項1に記載の発明によれば、連結包囲手段が、隣り合うモバイルユニット1,100同士の間に亘って設けられて当該モバイルユニット1,100同士を連結するとともに、対向する連絡口14a,113a間を取り囲んで通路スペース20を形成しているので、隣り合うモバイルユニット1,100同士を、当該隣り合うモバイルユニット1,100同士の間を行き来自在な状態で容易に連結できるとともに容易に分割できるようにして、複数のモバイルユニット1,100が随時かつ任意に移動が可能である状態に維持することができる。
さらに、連結包囲手段は、通路スペース20の上縁部20aと一側縁部20bと他側縁部20cを少なくとも被覆する防水シート部30を有しているので、防水シート部30によって、床部40よりも上方の位置で雨水が通路スペース20内に浸入することを防ぐことができる。
また、連結包囲手段が、隣り合うモバイルユニット1,100に固定されない状態で、当該隣り合うモバイルユニット1,100間に架け渡されて、通路スペース20の下縁部に配置されるとともに、防水シート部30における両側縁の下端部を保持する床部40を有しているので、この床部40によって、隣り合うモバイルユニット1,100同士を、通路スペース20の下縁部20dに沿って容易に連結でき、歩行に用いることができるようにしつつ、防水シート部30と床部40によって通路スペース20を隙間なく取り囲んで防水性を向上でき、隣り合うモバイルユニット1,100同士の連結箇所における雨仕舞いを確保することができる。
しかも、床部40は、隣り合うモバイルユニット1,100間に架け渡されて配置された支持部41と、支持部41の上面に着脱自在に固定されて通路スペース20の床面を構成する床面部42と、床面部42を支持部41に対して固定するための第一固定材44と、を備え、第一固定材44は、床面部42から支持部41に向かって上から下に設けられることで床面部42を支持部41に固定しているので、床面部42を支持部41に固定する際に上から作業を行うことができる。つまり、通路スペース20内で、床面部42を支持部41に固定する作業を行うことが可能となるので、例えば床面部42を支持部41に固定する際に下から作業を行う場合に比して容易に、床面部42を支持部41に固定したり固定解除したりすることが可能となる。これにより、隣り合うモバイルユニット1,100同士を、当該隣り合うモバイルユニット1,100同士の間を行き来自在な状態で更に容易に連結できるとともに更に容易に分割できるようにして、複数のモバイルユニット1,100が随時かつ任意に移動が可能である状態に維持することができる。
【0008】
請求項2に記載の発明は、例えば図7~図12に示すように、請求項1に記載のモバイルユニット1,100の連結構造において、
前記床面部42は、
前記支持部41に載せられて前記第一固定材44によって前記支持部41に固定される下地部420と、
前記下地部420の上面に着脱自在に固定されて前記通路スペース20の床面を構成する床仕上げ部430と、
前記床仕上げ部430を前記下地部420に対して固定するための第二固定材440と、を有し、
前記第二固定材440は、前記床仕上げ部430から前記下地部420に向かって上から下に設けられることで前記床仕上げ部430を前記下地部420に固定していることを特徴とする。
【0009】
請求項2に記載の発明によれば、床面部42は、支持部41に載せられて第一固定材44によって支持部41に固定される下地部420と、下地部420の上面に着脱自在に固定されて通路スペース20の床面を構成する床仕上げ部430と、床仕上げ部430を下地部420に対して固定するための第二固定材440と、を有し、第二固定材440は、床仕上げ部430から下地部420に向かって上から下に設けられることで床仕上げ部430を下地部420に固定しているので、床仕上げ部430を下地部420に固定する際に上から作業を行うことができる。つまり、通路スペース20内で、床仕上げ部430を下地部420に固定する作業を行うことが可能となるので、例えば床仕上げ部430を下地部420に固定する際に下から作業を行う場合に比して容易に、床仕上げ部430を下地部420に固定したり固定解除したりすることが可能となる。これにより、隣り合うモバイルユニット1,100同士を、当該隣り合うモバイルユニット1,100同士の間を行き来自在な状態で更に容易に連結できるとともに更に容易に分割できるようにして、複数のモバイルユニット1,100が随時かつ任意に移動が可能である状態に維持することができる。
【0010】
請求項3に記載の発明は、例えば図7~図12に示すように、請求項1に記載のモバイルユニット11,100の連結構造において、
前記支持部41は、
隣り合う前記モバイルユニット1,100間に架け渡される架設部400と、
前記架設部400に載せられて取り付けられるとともに、上面に、前記第一固定材44によって前記床面部42が固定される支持部本体410と、を有し、
前記支持部本体410は、前記架設部400が、隣り合う前記モバイルユニット1,100間に架け渡された方向に沿って前記架設部400の上面を摺動自在となっていることを特徴とする。
(【0011】以降は省略されています)
この特許をJ-PlatPat(特許庁公式サイト)で参照する
関連特許
個人
カーテント
4か月前
個人
タイヤレバー
2か月前
個人
前輪キャスター
1か月前
個人
ルーフ付きトライク
1か月前
個人
車輪清掃装置
4か月前
個人
ホイルのボルト締結
3か月前
個人
タイヤ脱落防止構造
1か月前
井関農機株式会社
作業車両
3か月前
日本精機株式会社
表示装置
2か月前
個人
マスタシリンダ
6日前
個人
車両通過構造物
2か月前
日本精機株式会社
表示装置
2か月前
井関農機株式会社
作業車両
3か月前
日本精機株式会社
表示装置
1か月前
個人
キャンピングトライク
3か月前
日本精機株式会社
表示装置
2か月前
個人
ワイパーゴム性能保持具
4か月前
個人
キャンピングトレーラー
3か月前
個人
アクセルのソフトウェア
3か月前
個人
車両用スリップ防止装置
3か月前
個人
乗合路線バスの客室装置
2か月前
株式会社ニフコ
保持装置
3か月前
個人
車載小物入れ兼雨傘収納具
3か月前
個人
円湾曲ホイール及び球体輪
2か月前
日本精機株式会社
車室演出装置
1か月前
株式会社ニフコ
照明装置
1か月前
日本精機株式会社
車載表示装置
14日前
株式会社ニフコ
収納装置
23日前
個人
音声ガイド、音声サービス
2か月前
日本精機株式会社
車載表示装置
3か月前
株式会社豊田自動織機
産業車両
1か月前
井関農機株式会社
作業車両
3か月前
井関農機株式会社
作業車両
3か月前
井関農機株式会社
作業車両
13日前
トヨタ自動車株式会社
車両
3か月前
極東開発工業株式会社
車両
2か月前
続きを見る
他の特許を見る