TOP
|
特許
|
意匠
|
商標
特許ウォッチ
Twitter
他の特許を見る
10個以上の画像は省略されています。
公開番号
2025140677
公報種別
公開特許公報(A)
公開日
2025-09-29
出願番号
2024040211
出願日
2024-03-14
発明の名称
ハイブリッド回路とそれを備えるバトラーマトリクス
出願人
アンリツ株式会社
代理人
弁理士法人有我国際特許事務所
主分類
H01P
5/22 20060101AFI20250919BHJP(基本的電気素子)
要約
【課題】プリント基板を用いて量産性が高く挿入損失が小さいハイブリッド回路とそれを備えるバトラーマトリクスを提供する。
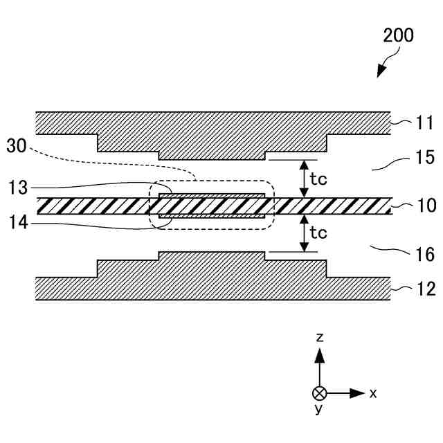
【解決手段】バトラーマトリクスは、誘電体基板10と、誘電体基板10の上方に設けられた第1の接地導体部11と、誘電体基板10の下方に設けられた第2の接地導体部12と、誘電体基板10の表面に形成された第1のストリップ導体13と、誘電体基板10の裏面に形成された第2のストリップ導体14と、を備え、誘電体基板10と第1の接地導体部11との間に第1の空気層15が設けられているとともに、誘電体基板10と第2の接地導体部12との間に第2の空気層16が設けられている。
【選択図】図3
特許請求の範囲
【請求項1】
誘電体基板(10)と、
前記誘電体基板の上方に設けられた第1の接地導体部(11)と、
前記誘電体基板の下方に設けられた第2の接地導体部(12)と、
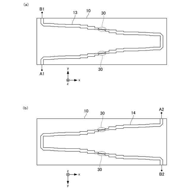
前記誘電体基板の表面に形成された第1のストリップ導体(13)と、
前記誘電体基板の裏面に形成された第2のストリップ導体(14)と、を備えるハイブリッド回路(200)であって、
前記誘電体基板と前記第1の接地導体部との間に第1の空気層(15)が設けられているとともに、前記誘電体基板と前記第2の接地導体部との間に第2の空気層(16)が設けられていることを特徴とするハイブリッド回路。
続きを表示(約 1,000 文字)
【請求項2】
前記第1のストリップ導体と前記第2のストリップ導体とが交差する交差部(30)における前記第1のストリップ導体及び前記第2のストリップ導体の幅は、前記第1のストリップ導体及び前記第2のストリップ導体の前記交差部以外の箇所の幅よりも狭く、
前記第1の空気層の前記交差部における前記第1のストリップ導体に対向する箇所の厚さは、前記第1の空気層の前記交差部以外における前記第1のストリップ導体に対向する箇所以外の厚さよりも薄く、
前記第2の空気層の前記交差部における前記第2のストリップ導体に対向する箇所の厚さは、前記第2の空気層の前記交差部以外における前記第2のストリップ導体に対向する箇所以外の厚さよりも薄いことを特徴とする請求項1に記載のハイブリッド回路。
【請求項3】
前記第1のストリップ導体及び前記第2のストリップ導体が形成された前記誘電体基板を収容する金属筐体(120)を更に備え、
前記第1の接地導体部及び前記第2の接地導体部は、前記金属筐体の一部からなることを特徴とする請求項1又は請求項2に記載のハイブリッド回路。
【請求項4】
請求項1又は請求項2に記載のハイブリッド回路を備えるバトラーマトリクス。
【請求項5】
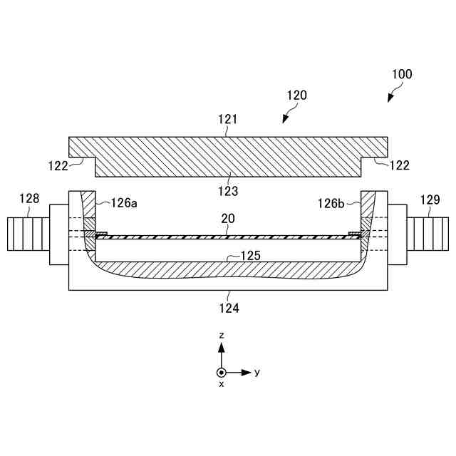
請求項3に記載のハイブリッド回路を備えるバトラーマトリクスであって、
前記金属筐体は、蓋部(121)と、本体部(124)と、からなり、
前記本体部は、前記第2の接地導体部を構成する底壁(125)と、前記底壁に垂直に立設して互いに対向する2つの側壁(126a,126b)と、を有し、
前記2つの側壁には、前記第1のストリップ導体又は前記第2のストリップ導体に導電接続される複数の同軸コネクタ(128,129)が取り付けられ、
前記蓋部は、前記2つの側壁の上面に接触する縁部(122)と、前記2つの側壁と所定の隙間を有して前記本体部に嵌合して、前記第1の接地導体部を構成する凸部(123)と、を有し、
前記隙間の深さが、使用周波数帯域の最大周波数の波長の40%以下であることを特徴とするバトラーマトリクス。
【請求項6】
前記使用周波数帯域は、600MHz~7.125GHzであることを特徴とする請求項5に記載のバトラーマトリクス。
発明の詳細な説明
【技術分野】
【0001】
本発明は、ハイブリッド回路とそれを備えるバトラーマトリクスに関し、特に、5G無線通信システムの周波数帯域用のハイブリッド回路とそれを備えるバトラーマトリクスに関する。
続きを表示(約 1,500 文字)
【背景技術】
【0002】
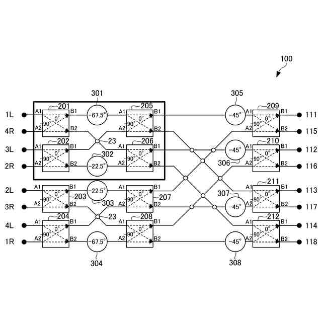
5G無線通信システムに用いられる無線通信端末(User Equipment:UE)は、複数のアンテナが装荷されており、それらの複数のアンテナを同時に用いたMIMO(Multiple Input Multiple Output)と呼ばれる通信技術を使用している。さらに、上記のUEは、複数の周波数の信号を同時に送受信することで最大伝送容量を増加させる技術も使用している。このようなUEを試験する際には、測定システムから複数のアンテナに任意の信号を入力する必要があるため、試験のたびに各アンテナへの接続ケーブルを接続しなおす必要がある。このような接続の作業を省いて試験を簡易に行うために、バトラーマトリクス(Butler matrix)を用いた分配回路を用いる方法が知られている。
【0003】
バトラーマトリクスの実現法は複数存在する。特許文献1に開示された構造では、入力部、3dBカプラ、移相器、及び出力部の間が、導波管により接続されているが、導波管に代えて同軸線路を用いてバトラーマトリクスを構成することも可能である。しかしながら、量産性を考慮すると、バトラーマトリクスは、誘電体基板上に導体がプリントされたプリント基板を用いて作製することが望ましい。
【0004】
プリント基板を用いて作製する3dBカプラとしては、非特許文献1に示されるストリップ線路を用いたものが存在する。非特許文献1に開示された3dBカプラは、1つの入力信号を互いに90度の位相差を有する2つの出力信号に分配する3dB直交ハイブリッドカプラ(以下、「ハイブリッド回路」とも呼ぶ)である。
【先行技術文献】
【特許文献】
【0005】
国際公開第2022/137469号
【非特許文献】
【0006】
F. FARZANEH, et al., "Broadside Coupler Channels 1 To 10 GHz", Microwaves&RF magazine, pp.68-77, Jan. 2012
【発明の概要】
【発明が解決しようとする課題】
【0007】
しかしながら、一般的に、導波管構造に比べて、プリント基板を用いて作製する伝送線路は挿入損失が大きいという課題がある。
【0008】
本発明は、このような従来の課題を解決するためになされたものであって、プリント基板を用いて量産性が高く挿入損失が小さいハイブリッド回路とそれを備えるバトラーマトリクスを提供することを目的とする。
【課題を解決するための手段】
【0009】
上記課題を解決するために、本発明に係るハイブリッド回路は、誘電体基板(10)と、前記誘電体基板の上方に設けられた第1の接地導体部(11)と、前記誘電体基板の下方に設けられた第2の接地導体部(12)と、前記誘電体基板の表面に形成された第1のストリップ導体(13)と、前記誘電体基板の裏面に形成された第2のストリップ導体(14)と、を備えるハイブリッド回路(200)であって、前記誘電体基板と前記第1の接地導体部との間に第1の空気層(15)が設けられているとともに、前記誘電体基板と前記第2の接地導体部との間に第2の空気層(16)が設けられている構成である。
【0010】
つまり、本発明に係るハイブリッド回路は、誘電体基板と第1の接地導体部との間の誘電体層と、誘電体基板と第2の接地導体部との間の誘電体層が誘電率及び誘電正接の低い空気層からなっている。
(【0011】以降は省略されています)
この特許をJ-PlatPat(特許庁公式サイト)で参照する
関連特許
アンリツ株式会社
分光器
29日前
アンリツ株式会社
検査装置
3日前
アンリツ株式会社
計量装置
今日
アンリツ株式会社
物品検査装置
7日前
アンリツ株式会社
物品検査装置
6日前
アンリツ株式会社
物品検査装置
7日前
アンリツ株式会社
物品検査装置
3日前
アンリツ株式会社
X線管及びX線検査装置
1日前
アンリツ株式会社
異物検査装置及び異物検査方法
21日前
アンリツ株式会社
誤り率測定装置及び信号検出方法
3日前
アンリツ株式会社
真空管、X線管及びX線検査装置
1日前
アンリツ株式会社
ADC校正装置およびADC校正方法
3日前
アンリツ株式会社
分光測定装置及びこれを備えた物品検査装置
6日前
アンリツ株式会社
分光測定装置及びこれを備えた物品検査装置
13日前
アンリツ株式会社
分光測定装置及びこれを備えた物品検査装置
13日前
アンリツ株式会社
ハイブリッド回路とそれを備えるバトラーマトリクス
3日前
アンリツ株式会社
伝送線路の交差構造とそれを備えるバトラーマトリクス
3日前
個人
安全なNAS電池
27日前
日本発條株式会社
積層体
3日前
個人
フリー型プラグ安全カバー
1か月前
東レ株式会社
多孔質炭素シート
22日前
キヤノン株式会社
電子機器
22日前
ローム株式会社
半導体装置
1日前
エイブリック株式会社
半導体装置
24日前
エイブリック株式会社
半導体装置
24日前
ローム株式会社
半導体装置
1日前
個人
防雪防塵カバー
3日前
ローム株式会社
半導体装置
1日前
ローム株式会社
半導体装置
22日前
株式会社GSユアサ
蓄電装置
3日前
オムロン株式会社
電磁継電器
1か月前
東レ株式会社
ガス拡散層の製造方法
22日前
株式会社GSユアサ
蓄電装置
1か月前
沖電気工業株式会社
アンテナ
1か月前
ニチコン株式会社
コンデンサ
15日前
株式会社GSユアサ
蓄電装置
1か月前
続きを見る
他の特許を見る