TOP
|
特許
|
意匠
|
商標
特許ウォッチ
Twitter
他の特許を見る
10個以上の画像は省略されています。
公開番号
2025140964
公報種別
公開特許公報(A)
公開日
2025-09-29
出願番号
2024040640
出願日
2024-03-15
発明の名称
安全IOターミナルおよび安全システム
出願人
オムロン株式会社
代理人
弁理士法人深見特許事務所
主分類
G05B
9/02 20060101AFI20250919BHJP(制御;調整)
要約
【課題】複数の安全コントローラからのデータに基づいた安全制御が可能な安全IOターミナルおよび当該安全IOターミナルを含む安全システムを提供する。
【解決手段】安全IOターミナルは、安全出力信号を出力する安全出力回路と、1または複数の安全コントローラと安全コネクションを確立可能な安全通信部と、安全通信部が受信するデータを安全コネクション別に格納するための、複数の個別エリアを含む受信データ格納部と、複数の個別エリアに格納される任意のデータを用いて安全出力信号の値を決定する安全ロジック実行部とを含む。複数の個別エリアの各々は、安全IOターミナルと安全コネクションを確立する安全コントローラを特定するための識別情報が関連付けられるように構成される。
【選択図】図1
特許請求の範囲
【請求項1】
安全IOターミナルであって、
安全出力信号を出力する安全出力回路と、
1または複数の安全コントローラと安全コネクションを確立可能な安全通信部と、
前記安全通信部が受信するデータを安全コネクション別に格納するための、複数の個別エリアを含む受信データ格納部と、
前記複数の個別エリアに格納される任意のデータを用いて安全出力信号の値を決定する安全ロジック実行部とを備え、
前記複数の個別エリアの各々は、前記安全IOターミナルと安全コネクションを確立する安全コントローラを特定するための識別情報が関連付けられるように構成される、安全IOターミナル。
続きを表示(約 1,200 文字)
【請求項2】
前記1または複数の安全コントローラの各々は、安全コネクションを確立するために、当該安全コントローラの識別情報および使用する個別エリアの指定とを含む要求を前記安全IOターミナルに送信する、請求項1に記載の安全IOターミナル。
【請求項3】
前記安全通信部は、前記要求により指定される個別エリアに何らの識別情報も関連付けられていなければ、前記要求に含まれる識別情報を当該個別エリアに関連付ける、請求項2に記載の安全IOターミナル。
【請求項4】
前記安全通信部は、前記要求により指定される個別エリアに関連付けられている識別情報が前記要求に含まれる識別情報と一致すれば、前記要求に従って安全コネクションを確立する、請求項2に記載の安全IOターミナル。
【請求項5】
各個別エリアに関連付けられた識別情報を含む識別情報リストを格納するための格納部をさらに備える、請求項1~4のいずれか1項に記載の安全IOターミナル。
【請求項6】
前記安全ロジック実行部は、前記複数の個別エリアのうち第1の個別エリアに格納される第1のデータが示す値と、前記複数の個別エリアのうち第2の個別エリアに格納される第2のデータが示す値とを入力とする論理和を演算する、請求項1~4のいずれか1項に記載の安全IOターミナル。
【請求項7】
前記安全ロジック実行部は、前記複数の個別エリアのうち第1の個別エリアに格納される第1のデータが示す値と、前記複数の個別エリアのうち第2の個別エリアに格納される第2のデータが示す値とを入力とする論理積を演算する、請求項1~4のいずれか1項に記載の安全IOターミナル。
【請求項8】
安全コネクションは、CIP SafetyおよびPROFIsafeの少なくとも一方に基づいて確立される、請求項1~4のいずれか1項に記載の安全IOターミナル。
【請求項9】
安全IOターミナルと、
前記安全IOターミナルから受信する安全入力データに基づく安全プログラムを実行可能な1または複数の安全コントローラとを備え、
前記安全IOターミナルは、
安全入力信号を受け付ける安全入力回路と、
安全出力信号を出力する安全出力回路と、
1または複数の安全コントローラと安全コネクションを確立可能な安全通信部と、
前記安全通信部が受信するデータを安全コネクション別に格納するための、複数の個別エリアを含む受信データ格納部と、
前記複数の個別エリアに格納される任意のデータを用いて安全出力信号の値を決定する安全ロジック実行部とを備え、
前記複数の個別エリアの各々は、前記安全IOターミナルと安全コネクションを確立する安全コントローラを特定するための識別情報を格納するように構成される、安全システム。
発明の詳細な説明
【技術分野】
【0001】
本発明は、安全IOターミナルおよび安全システムに関する。
続きを表示(約 1,300 文字)
【背景技術】
【0002】
製造現場においては、設備や機械を制御するための制御装置に加えて、安全システムが導入されることがある。安全システムは、設備や機械などによって人の安全が脅かされることを防止するためのものである。
【0003】
安全システムは、例えば、安全制御を実行するための安全コントローラと、安全入力信号および安全出力信号を取り扱う1または複数の安全IOターミナルとで構成されることもある。
【0004】
安全IOターミナルに関して、例えば、特開2014-098985号公報(特許文献1)は、安全コントローラの処理負担を軽減することが可能な安全スレーブユニットを開示する。
【先行技術文献】
【特許文献】
【0005】
特開2014-098985号公報
【発明の概要】
【発明が解決しようとする課題】
【0006】
一般的に、1つの安全IOターミナルは1つの安全コントローラの管理下に置かれる。しかしながら、本願発明者らは、安全システムが適用されるアプリケーションによっては、1つの安全IOターミナルが複数の安全コントローラと通信することがより好ましいという新たな知見を得た。
【0007】
本発明の一つの目的は、複数の安全コントローラからのデータに基づいた安全制御が可能な安全IOターミナルおよび当該安全IOターミナルを含む安全システムを提供することである。
【課題を解決するための手段】
【0008】
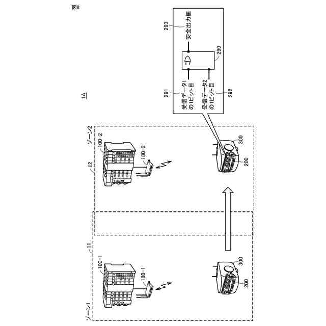
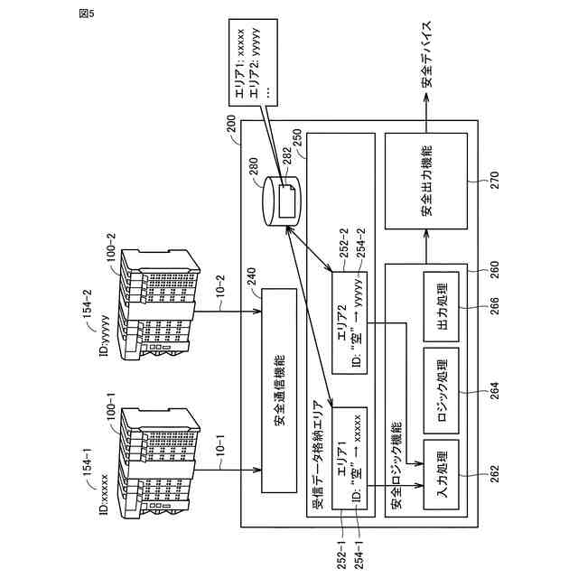
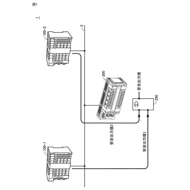
ある実施の形態に従う安全IOターミナルは、安全出力信号を出力する安全出力回路と、1または複数の安全コントローラと安全コネクションを確立可能な安全通信部と、安全通信部が受信するデータを安全コネクション別に格納するための、複数の個別エリアを含む受信データ格納部と、複数の個別エリアに格納される任意のデータを用いて安全出力信号の値を決定する安全ロジック実行部とを含む。複数の個別エリアの各々は、安全IOターミナルと安全コネクションを確立する安全コントローラを特定するための識別情報が関連付けられるように構成される。
【0009】
この構成によれば、複数の安全コントローラからのデータは、安全IOターミナルの複数の個別エリアにそれぞれ格納される。安全IOターミナルは、複数の個別エリアに格納される任意のデータを用いて安全出力信号の値を決定できるので、アプリケーションに応じて、複数の安全コントローラからのデータを用いて、適切な安全ロジックを実現できる。
【0010】
1または複数の安全コントローラの各々は、安全コネクションを確立するために、当該安全コントローラの識別情報および使用する個別エリアの指定とを含む要求を安全IOターミナルに送信してもよい。この構成によれば、安全コントローラと安全IOターミナルとの間のコネクションに対応する個別エリアとは異なる個別エリアに誤ってデータが格納されることを防止できる。
(【0011】以降は省略されています)
この特許をJ-PlatPat(特許庁公式サイト)で参照する
関連特許
オムロン株式会社
電源回路
6日前
オムロン株式会社
電源回路
6日前
オムロン株式会社
電源回路
6日前
オムロン株式会社
電磁継電器
1か月前
オムロン株式会社
情報提供装置
2日前
オムロン株式会社
スレーブ装置
2日前
オムロン株式会社
トリガスイッチ
2日前
オムロン株式会社
IOターミナル
2日前
オムロン株式会社
端子折り曲げ治具
2日前
オムロン株式会社
モータの監視装置
2日前
オムロン株式会社
導線折り曲げ治具
1か月前
オムロン株式会社
セーフティデバイス
2日前
オムロン株式会社
電力開閉モジュール
2日前
オムロン株式会社
システムおよび方法
2日前
オムロン株式会社
リモート安全入出力装置
2日前
オムロン株式会社
支援システム及び支援方法
2日前
オムロン株式会社
保護継電器及び電力制御装置
2日前
オムロン株式会社
情報処理装置及び情報処理方法
12日前
オムロン株式会社
パワーコンディショナシステム
2日前
オムロン株式会社
給電モジュール及び給電システム
2日前
オムロン株式会社
搬送装置、搬送方法、プログラム
1か月前
オムロン株式会社
電力供給システム及び電力制御装置
2日前
オムロン株式会社
回転制御システム及び回転制御方法
1か月前
オムロン株式会社
計測装置、計測方法及びプログラム
2日前
オムロン株式会社
教育支援システム及び教育支援方法
2日前
オムロン株式会社
検査装置、検査方法およびプログラム
12日前
オムロン株式会社
画像処理システムおよび画像処理方法
1か月前
オムロン株式会社
交通管制システム、および動作切替方法
2日前
オムロン株式会社
生体情報処理装置及び動作情報処理装置
2日前
オムロン株式会社
生体情報処理装置及び動作情報処理装置
2日前
オムロン株式会社
安全IOターミナルおよび安全システム
2日前
オムロン株式会社
監視システム、警報方法、及びプログラム
2日前
オムロン株式会社
スレーブ装置およびネットワークシステム
2日前
オムロン株式会社
情報処理装置、情報処理方法およびプログラム
1か月前
オムロン株式会社
作業認識装置、作業認識方法およびプログラム
28日前
オムロン株式会社
監視システム、点灯制御方法、及びプログラム
2日前
続きを見る
他の特許を見る