TOP
|
特許
|
意匠
|
商標
特許ウォッチ
Twitter
他の特許を見る
公開番号
2025140706
公報種別
公開特許公報(A)
公開日
2025-09-29
出願番号
2024040255
出願日
2024-03-14
発明の名称
パワーコンディショナシステム
出願人
オムロン株式会社
代理人
個人
,
個人
主分類
G01R
31/54 20200101AFI20250919BHJP(測定;試験)
要約
【課題】アーク検出装置が設置されている現場から離れた場所において、アーク検出装置によるアークを検出した事象の内容の検証が可能なパワーコンディショナシステムの提供。
【解決手段】パワーコンディショナシステムは、ストリングから出力される直流電力を交流電力に変換するパワーコンディショナと、ストリングとパワーコンディショナとを接続する電路におけるアークの発生を検出するアーク検出装置とを備える。アーク検出装置は、電流センサと、アーク判定部と、記録部と、通信部とを含む。電流センサは、電路を流れる電流を検出する。アーク判定部は、アークが発生したと判定した場合に開閉装置を閉状態から開状態に切り替えるための第1制御信号を出力する。記録部は、アーク判定部がアークの発生の判定に用いた判定データを記録する。通信部は、アークが発生したとアーク判定部が判定した場合にアーク判定部の判定結果及び判定データを送信する。
【選択図】図2
特許請求の範囲
【請求項1】
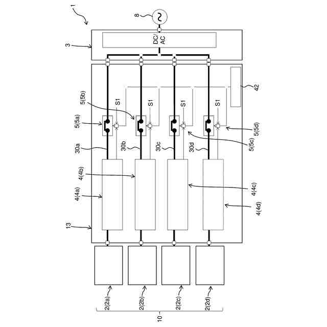
複数の太陽電池モジュールを含む少なくとも1つのストリングから出力される電力を負荷又は電力系統に出力するためのパワーコンディショナシステムであって、
前記少なくとも1つのストリングから出力される直流電力を交流電力に変換するパワーコンディショナと、
前記少なくとも1つのストリングと前記パワーコンディショナとを接続する電路におけるアークの発生を検出する少なくとも1つのアーク検出装置と、
開閉部を含み、前記電路を開閉するための開閉装置と、
を備え、
前記少なくとも1つのアーク検出装置は、
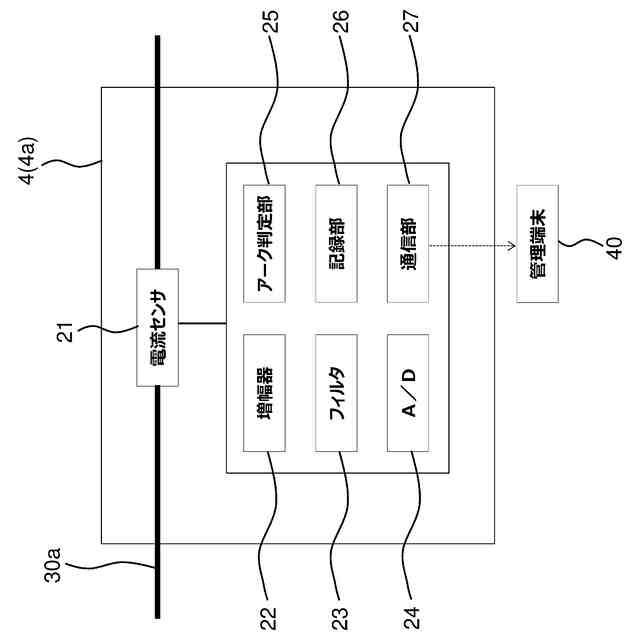
前記電路を流れる電流を検出する電流センサと、
前記電流センサの検出結果に基づいて前記アークの発生を判定し、前記アークが発生したと判定した場合に前記開閉部を閉状態から開状態に切り替えるための第1制御信号を出力するアーク判定部と、
前記アーク判定部が前記アークの発生の判定に用いた判定データを記録する記録部と、
前記アークが発生したと前記アーク判定部が判定した場合に前記アーク判定部の判定結果及び前記判定データを送信する通信部と、
を含む、
パワーコンディショナシステム。
続きを表示(約 700 文字)
【請求項2】
前記開閉装置は、前記開閉部を制御する制御部をさらに含み、
前記制御部は、外部装置から出力される前記開閉部を前記開状態から前記閉状態に切り替えるための第2制御信号を受信可能である、
請求項1に記載のパワーコンディショナシステム。
【請求項3】
前記開閉装置は、前記開閉部の前記開状態を保持するための保持回路を含む、
請求項1又は2に記載のパワーコンディショナシステム。
【請求項4】
前記パワーコンディショナは、第1ストリングと第2ストリングとを含む複数のストリングから出力される直流電力を交流電力に変換し、
前記少なくとも1つのアーク検出装置は、前記第1ストリングと前記パワーコンディショナとを接続する電路におけるアークの発生を検出する第1アーク検出装置と、前記第2ストリングと前記パワーコンディショナとを接続する第2電路におけるアークの発生を検出する第2アーク検出装置とを含む、
請求項1又は2に記載のパワーコンディショナシステム。
【請求項5】
前記第2アーク検出装置の前記アーク判定部の判定結果及び前記第2アーク検出装置の前記記録部が記録した前記判定データは、前記第1アーク検出装置の前記通信部を介して出力される、
請求項4に記載のパワーコンディショナシステム。
【請求項6】
前記少なくとも1つのアーク検出装置の前記電流センサは、前記パワーコンディショナの出力電流を検出する電流センサを兼ねる、
請求項1又は2に記載のパワーコンディショナシステム。
発明の詳細な説明
【技術分野】
【0001】
本発明は、パワーコンディショナシステムに関する。
続きを表示(約 1,900 文字)
【背景技術】
【0002】
従来、アーク検出装置を備えるパワーコンディショナシステムが知られている。アーク検出装置は、アークが発生していると判定した場合、ブレーカ制御部を介してブレーカを動作させる。これにより、太陽電池モジュールとパワーコンディショナとを接続する電路が遮断される。
【先行技術文献】
【特許文献】
【0003】
特許第7117630号公報
【発明の概要】
【発明が解決しようとする課題】
【0004】
従来の、パワーコンディショナシステムでは、ブレーカによって太陽電池モジュールとパワーコンディショナとを接続する電路が遮断された場合、アーク検出装置が設置されている現場で原因を特定する必要があり、パワーコンディショナシステムの管理者は、アーク検出装置が設置されている現場から離れた場所でアークを検出した事象の内容を検証することができない。すなわち、パワーコンディショナシステムの管理者は、アーク検出装置が設置されている現場で起きたことに対しての緊急性や状況を即座に把握することが難しい。
【0005】
本発明の目的は、アーク検出装置が設置されている現場から離れた場所において、アーク検出装置によるアークを検出した事象の内容の検証が可能なパワーコンディショナシステムを提供することにある。
【課題を解決するための手段】
【0006】
本発明の一態様に係るパワーコンディショナシステムは、複数の太陽電池モジュールを含む少なくとも1つのストリングから出力される電力を負荷又は電力系統に出力するためのパワーコンディショナシステムである。パワーコンディショナシステムは、パワーコンディショナと、アーク検出装置と、開閉装置とを備える。パワーコンディショナは、少なくとも1つのストリングから出力される直流電力を交流電力に変換する。アーク検出装置は、少なくとも1つのストリングとパワーコンディショナとを接続する電路におけるアークの発生を検出する。開閉装置は、開閉部を含み、電路を開閉する。少なくとも1つのアーク検出装置は、電流センサと、アーク判定部と、記録部と、通信部とを含む。電流センサは、電路を流れる電流を検出する。アーク判定部は、電流センサの検出結果に基づいてアークの発生を判定し、アークが発生したと判定した場合に開閉部を閉状態から開状態に切り替えるための第1制御信号を出力する。記録部は、アーク判定部がアークの発生の判定に用いた判定データを記録する。通信部は、アークが発生したとアーク判定部が判定した場合にアーク判定部の判定結果及び判定データを送信する。
【0007】
このパワーコンディショナシステムでは、アーク判定部の判定結果及びアーク判定部がアークの発生の判定に用いた判定データが通信部によって送信される。これにより、例えば、パワーコンディショナシステムの管理者が通信部から送信されるデータを受信することで、アーク検出装置が設置されている現場から離れた場所において、アーク検出装置によるアークを検出した事象の内容の検証が可能になる。
【0008】
開閉装置は、開閉部を制御する制御部をさらに含んでもよい。制御部は、外部装置から出力される開閉部を開状態から閉状態に切り替えるための第2制御信号を受信可能であってもよい。この場合は、例えば、管理者がアーク検出装置によるアークを検出した事象の内容の検証をした結果、アーク検出装置の誤作動であると判断した場合、管理者が外部装置を操作して第2制御信号を制御部に送信することで、開閉装置を復帰させることが可能になる。
【0009】
開閉装置は、開閉部の開状態を保持するための保持回路を含んでもよい。この場合は、アーク判定部の判定により開閉部が閉状態から開状態に切り替わったときに、開閉部の開状態を保持回路によって保持できる。
【0010】
パワーコンディショナは、第1ストリングと第2ストリングとを含む複数のストリングから出力される直流電力を交流電力に変換してもよい。少なくとも1つのアーク検出装置は、第1ストリングとパワーコンディショナとを接続する電路におけるアークの発生を検出する第1アーク検出装置と、第2ストリングとパワーコンディショナとを接続する第2電路におけるアークの発生を検出する第2アーク検出装置とを含んでもよい。この場合は、アークが検出されたストリングのみを遮断することが可能になるので、パワーコンディショナのダウンタイムを削減することができる。
(【0011】以降は省略されています)
この特許をJ-PlatPat(特許庁公式サイト)で参照する
関連特許
オムロン株式会社
電源回路
7日前
オムロン株式会社
電源回路
7日前
オムロン株式会社
電源回路
7日前
オムロン株式会社
情報提供装置
3日前
オムロン株式会社
スレーブ装置
3日前
オムロン株式会社
トリガスイッチ
3日前
オムロン株式会社
IOターミナル
3日前
オムロン株式会社
モータの監視装置
3日前
オムロン株式会社
端子折り曲げ治具
3日前
オムロン株式会社
セーフティデバイス
3日前
オムロン株式会社
システムおよび方法
3日前
オムロン株式会社
電力開閉モジュール
3日前
オムロン株式会社
リモート安全入出力装置
3日前
オムロン株式会社
支援システム及び支援方法
3日前
オムロン株式会社
保護継電器及び電力制御装置
3日前
オムロン株式会社
パワーコンディショナシステム
3日前
オムロン株式会社
情報処理装置及び情報処理方法
13日前
オムロン株式会社
給電モジュール及び給電システム
3日前
オムロン株式会社
計測装置、計測方法及びプログラム
3日前
オムロン株式会社
教育支援システム及び教育支援方法
3日前
オムロン株式会社
電力供給システム及び電力制御装置
3日前
オムロン株式会社
検査装置、検査方法およびプログラム
13日前
オムロン株式会社
交通管制システム、および動作切替方法
3日前
オムロン株式会社
安全IOターミナルおよび安全システム
3日前
オムロン株式会社
生体情報処理装置及び動作情報処理装置
3日前
オムロン株式会社
生体情報処理装置及び動作情報処理装置
3日前
オムロン株式会社
スレーブ装置およびネットワークシステム
3日前
オムロン株式会社
監視システム、警報方法、及びプログラム
3日前
オムロン株式会社
監視システム、点灯制御方法、及びプログラム
3日前
オムロン株式会社
サーボドライバ及びサーボドライバの調整方法
3日前
オムロン株式会社
開閉装置、及び開閉装置を備える蓄電池システム
3日前
オムロン株式会社
処理システム、処理方法、および処理プログラム
13日前
オムロン株式会社
情報処理システム、情報処理方法およびプログラム
3日前
オムロン株式会社
画像処理装置、画像処理方法及び画像処理プログラム
3日前
オムロン株式会社
画像処理装置、画像処理方法及び画像処理プログラム
3日前
オムロン株式会社
運行管理システム、管理装置、方法、及びプログラム
3日前
続きを見る
他の特許を見る