TOP
|
特許
|
意匠
|
商標
特許ウォッチ
Twitter
他の特許を見る
公開番号
2025141178
公報種別
公開特許公報(A)
公開日
2025-09-29
出願番号
2024040989
出願日
2024-03-15
発明の名称
直流配電ネットワーク
出願人
株式会社豊田中央研究所
代理人
個人
,
個人
主分類
H02J
1/00 20060101AFI20250919BHJP(電力の発電,変換,配電)
要約
【課題】構築コストを抑制した直流配電ネットワークにおける電力の効率的な利用を可能にする。
【解決手段】住宅用の直流配電ネットワークは、接続された少なくとも1基以上の家電や電子機器などの負荷の要求電圧や要求電力を取得し、負荷へと電力を供給する供給部と、供給部に接続され、電力系統との間で双方向に電力の供給が可能な第1接続部と、第1接続部と同様、供給部に接続され、電力系統との間で双方向に電力の供給が可能な第2接続部とを備えた電力分配部を有し、電力分配部は、取得された負荷の要求電圧や要求電力に応じて、第1接続部と第2接続部とそれぞれとの間で双方向に供給が行われる電力を制御する。
【選択図】図1
特許請求の範囲
【請求項1】
住宅用の直流配電ネットワークであって、
接続された少なくとも1基以上の家電や電子機器などの負荷の要求電圧や要求電力を取得し、前記負荷へと電力を供給する供給部と、前記供給部に接続され、電力系統との間で双方向に電力の供給が可能な第1接続部と、前記第1接続部と同様、前記供給部に接続され、電力系統との間で双方向に電力の供給が可能な第2接続部とを備えた電力分配部を有し、
前記電力分配部は、
前記第1接続部と前記第2接続部それぞれと双方向で電力供給が行われ、
取得された前記負荷の要求電圧や要求電力に応じて、前記第1接続部と前記第2接続部それぞれとの間で双方向に供給が行われる電力を制御する、直流配電ネットワーク。
続きを表示(約 380 文字)
【請求項2】
請求項1に記載の直流配電ネットワークであって、
前記電力分配部の前記供給部、前記第1接続部、前記第2接続部の少なくとも1か所は、蓄電池等の電力を蓄電可能な装置が接続されており、
前記電力分配部は、取得された前記負荷の要求電圧や要求電力と、前記蓄電池等の蓄電量に応じて、双方向に供給する電力と、前記第1接続部および前記第2接続部との間で双方向に供給が行われる電力とを制御する、直流配電ネットワーク。
【請求項3】
請求項1に記載の直流配電ネットワークであって、
前記供給部、前記第1接続部、前記第2接続部の少なくとも1か所は、他の前記電力分配部に接続されており、
前記供給部、前記電力分配部の前記第1接続部、前記第2接続部のいずれかから双方向に電力が供給される、直流配電ネットワーク。
発明の詳細な説明
【技術分野】
【0001】
本発明は、直流配電ネットワークに関する。
続きを表示(約 3,000 文字)
【背景技術】
【0002】
交流電力の代わりにコンセントから直流電力を電化製品などの負荷に供給する配電ネットワークが知られている(例えば、特許文献1参照)。特許文献1には、直流スマートコンセントが記載されている。このコンセントは、閾値を超えた逆極性の電圧を検出した場合に、電気コンセントへと電流が流れないようにしている。また、特許文献2には、データおよび電力の伝送を最小数の接続線で行うネットワークについて記載されている。
【先行技術文献】
【特許文献】
【0003】
特許第6895216号公報
特開2001-127806号公報
【発明の概要】
【発明が解決しようとする課題】
【0004】
現在、住宅では家電等の接続機器に合わせて単相100ボルト(V)、200Vの交流配電が用いられている。また、工場では三相200V、400V等の交流配電が用いられ
ている。これらの交流配電は、電力系統から供給される電力を、分電盤を起点とするツリー型で配電する。各接続機器は分電盤からの単一線で接続されて電力を供給され、建屋や部屋に分散配置されるコンセント間で電力が融通される仕組みは実装されていない。そのため、いずれかの接続機器で余剰な電力が発生しても、近くの別の接続機器へと余剰な電力が直接供給されていない。そのため、このような場合に発生する余剰電力を効率的に利用したいという要望がある。また、何らかの事故などの要因により、電力系統からの電力が遮断された場合、分電盤からのすべての供給電力が停止される。この場合に、配電ネットワーク内に蓄電池などの蓄電要素を持つ接続機器が部分的に存在していても、蓄電池からの電力を他の接続機器へと供給する手段がない。仮に分電盤を介して、接続機器間の電力融通を行おうとする場合、各接続機器へ流入する消費電力と、各接続機器から流出する回生電力との総和を許容できる電力容量を担保した分電盤を使用する必要があり、担保のために配電ネットワークの規模が巨大化するおそれがある。交流電力の配電における電力融通の制御には、電力の振幅や周波数・位相のずれの正確な同期調整が必要である。また、半導体スイッチを使った制御装置ではノイズ等の影響を避けるため、接続機器に力率改善装置や高機能なノイズフィルタ等の付加装置が不可欠である。正確な同期制御および付加装置の必要性から、接続機器の効率低下、信頼性低下、大型化、および高コスト化につながる。そのため、簡素化し、かつ、低コストで構築可能な配電ネットワークが望まれていた。
【0005】
普及が進んでいる太陽電池(PV:Photovoltaic cells)の発電電力や蓄電池からの供給電力は直流電力である。これらの電力を電力系統に供給する場合には、既存の交流配電では商用周波数の交流電圧に変換する必要があり、非効率である。さらに、交流の電力品質確保などの電力融通の複雑さから、振幅の正確な制御と周波数および位相との調整が必要となる。そのため、直流配電ネットワークが実装できれば、各発電機器の電力合流には単純な電圧または電流制御のみで電力融通が実現され、電力の効率利用が可能となる。特許文献1に記載された従来型の交流動作の電化製品の多くは内部に整流回路を有し、内部の各回路要素は直流で動作することが多いため、整流器での電力損失が低減される。しかしながら、これらの電化製品の多くでは、適正電圧が異なっている。例えば、家庭用PVの適正電圧は280~450V、電気自動車用電池の適正電圧は280~400V、一般家電の適正電圧は140V(交流電圧100Vの波高値)、液晶テレビおよびノート型パソコンの適正電圧は20V、および情報系電子回路およびスマートフォンの適正電圧は3.3V,5Vである。そのため、電力系統等から各機器へと電力を適正な電圧で直接供給したい要望がある。
【0006】
本発明は、上述した課題の少なくとも一部を解決するためのものであり、構築コストを抑制した直流配電ネットワークにおける電力の効率的な利用を可能にすることを目的とする。
【課題を解決するための手段】
【0007】
本発明は、上述の課題の少なくとも一部を解決するためのものであり、以下の形態として実現できる。
【0008】
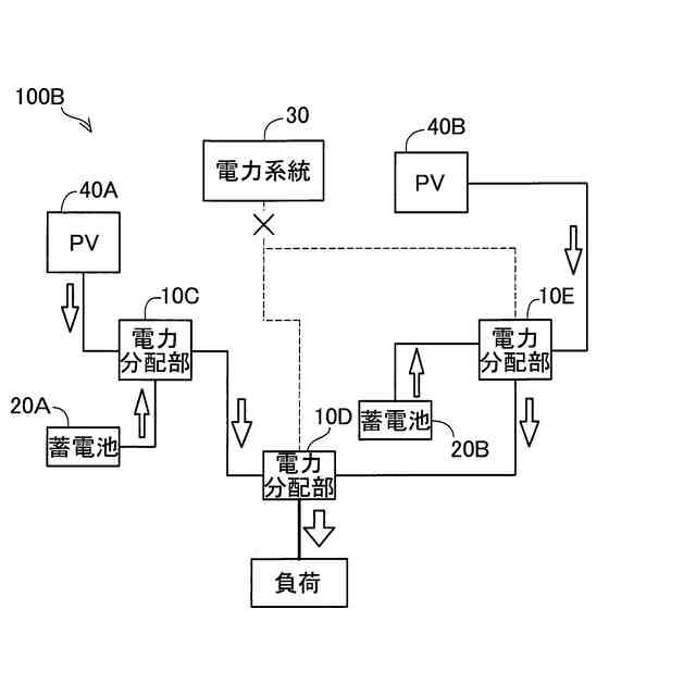
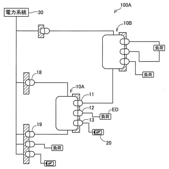
(1)本発明の一形態によれば、住宅用の直流配電ネットワークが提供される。この直流配電ネットワークは、接続された少なくとも1基以上の家電や電子機器などの負荷の要求電圧や要求電力を取得し、前記負荷へ電力を供給する供給部と、前記供給部に接続され、電力系統との間で双方向に電力の供給が可能な第1接続部と、第1接続部と同様、前記供給部に接続され、電力系統と前記供給部との間で双方向に電力の供給が可能な第2接続部とを備えた電力分配部を有し、前記電力分配部は、前記第1接続部と前記第2接続部それぞれと双方向で電力供給が行われ、取得された前記負荷の要求電圧や要求電力に応じて、前記第1接続部と前記第2接続部とのそれぞれとの間で双方向に供給が行われる電力を制御する。
【0009】
この構成によれば、双方向に電力の供給が可能な第1接続部および第2接続部に接続された供給部は、負荷の要求電圧や要求電力に応じて、第1接続部および第2接続部との間で授受される電力を制御する。そのため、負荷へと供給される電力は、第1接続部と第2接続部との状態に応じて変化する。この結果、直流配電ネットワーク内を流れる電力は、電力分配部により自律的に平準化される。そのため、本構成を用いることにより、電力の効率的な利用が可能になる。さらに、本構成の直流配電ネットワークを流れる電力が直流であるため、交流と直流とを変換するための機器等が不要になり、電力損失を低減でき配電ネットワークの構築コストが抑制される。
【0010】
(2)上記態様の直流配電ネットワークにおいて、前記電力分配部の前記供給部、前記第1接続部、前記第2接続部の少なくとも1か所は、蓄電池等の電力を蓄電可能な装置が接続されており、前記電力分配部は、取得された前記負荷の要求電圧や要求電力と、前記蓄電池等の蓄電量に応じて、双方向に供給する電力と、前記第1接続部および前記第2接続部との間で双方向に供給が行われる電力とを制御してもよい。
この構成によれば、供給部に蓄電池が接続されているため、蓄電池から負荷への電力供給、および、蓄電池から第1接続部および第2接続部への電力供給が可能になる。また、第1接続部および第2接続部で過剰な電力が発生している場合に、電力分配部を介して蓄電池へと電力を蓄電できる。本構成の直流配電ネットワークでは、供給部に接続された蓄電池とは別に、第1接続部および第2接続部に蓄電池が接続されてもよく、一般的な家庭用蓄電システムのように蓄電池を一ヶ所に集中して配置する必要がない。そのため、複数の小容量蓄電池がネットワーク上において分散配置されることにより、ネットワーク全体として必要な容量の蓄電池が確保される。また、蓄電池故障時には部分的な交換および修理により機能を回復することができ、維持・管理コストを低減できる。
(【0011】以降は省略されています)
この特許をJ-PlatPat(特許庁公式サイト)で参照する
関連特許
株式会社豊田中央研究所
光合波器
5日前
株式会社豊田中央研究所
オイルポンプ
5日前
株式会社豊田中央研究所
排ガス浄化触媒
5日前
株式会社豊田中央研究所
プラズマCVD装置
5日前
株式会社豊田中央研究所
精錬方法および精錬装置
5日前
株式会社豊田中央研究所
回転角度又は位置の検出装置
1日前
株式会社豊田中央研究所
ハイブリッド車両の制御装置
6日前
株式会社豊田中央研究所
光フェーズドアレイシステム
5日前
株式会社豊田中央研究所
熱交換器及び熱交換器製造方法
5日前
株式会社豊田中央研究所
積層造形物およびその製造方法
5日前
株式会社豊田中央研究所
積層造形物および積層造形方法
5日前
株式会社豊田中央研究所
光検波装置に用いられる光合波器
5日前
株式会社豊田中央研究所
燃料電池制御装置及び燃料電池制御方法
1日前
株式会社豊田中央研究所
半導体装置および半導体装置の製造方法
5日前
株式会社豊田中央研究所
粒状物質捕集方法および粒状物質捕集装置
7日前
株式会社豊田中央研究所
分離方法、分離装置及び電極合材の製造方法
5日前
株式会社豊田中央研究所
磁性部材とその製造方法および積層造形用粉末
5日前
株式会社豊田中央研究所
アクリル酸プラズマ重合膜およびその製造方法
5日前
ダイハツ工業株式会社
樹脂製アウタパネル部材
6日前
株式会社豊田中央研究所
地図作成装置、地図作成方法及び地図作成プログラム
6日前
株式会社豊田中央研究所
電力伝送巻線、電力変換装置および電力伝送システム
7日前
株式会社豊田中央研究所
距離認識制御システム、電磁波信号発振装置、距離認識制御プログラム
5日前
株式会社豊田中央研究所
路面画像作成装置、路面画像作成方法、およびコンピュータプログラム
5日前
株式会社豊田中央研究所
電力供給システム及び電力供給システム内の燃料電池と二次電池の電力分配制御方法
5日前
トヨタ自動車株式会社
空間評価装置
5日前
株式会社豊田中央研究所
乳酸溶液の製造方法、乳酸誘導体の製造方法、乳酸溶液の製造システム、及び炭素系吸着剤組成物
5日前
株式会社豊田中央研究所
推定モデル生成装置、推定モデル生成方法、推定モデル生成プログラム、推定装置、推定方法、及び推定プログラム
1日前
株式会社豊田中央研究所
リサイクル可能なポリシリルエーテル樹脂、その製造方法、及び、そのポリシリルエーテル樹脂の分解による原料化合物の製造方法
5日前
個人
電源装置
20日前
個人
バッテリ内蔵直流電源
19日前
株式会社FUJI
制御盤
9日前
西部電機株式会社
充電装置
1日前
日本精機株式会社
サージ保護回路
1日前
西部電機株式会社
充電装置
1日前
オムロン株式会社
電源回路
13日前
オムロン株式会社
電源回路
13日前
続きを見る
他の特許を見る