TOP
|
特許
|
意匠
|
商標
特許ウォッチ
Twitter
他の特許を見る
公開番号
2025141208
公報種別
公開特許公報(A)
公開日
2025-09-29
出願番号
2024041045
出願日
2024-03-15
発明の名称
光電子増倍管
出願人
浜松ホトニクス株式会社
代理人
個人
,
個人
,
個人
,
個人
主分類
H01J
43/12 20060101AFI20250919BHJP(基本的電気素子)
要約
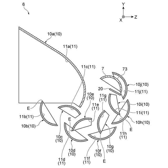
【課題】アノードに起因する時間特性を向上させることができる光電子増倍管を提供する。
【解決手段】光電子増倍管1は、光電面3と、光電面3から放出された電子を増倍する10段のダイノード10と、ダイノード10により増倍された電子を収集するアノード7と、を備える。アノード7は、10段目のダイノード10jの2次電子放出面11jと対向し、且つ、当該2次電子放出面11jに沿って延びる電子収集面73を有する。アノード7は、9段目のダイノード10iから10段目のダイノード10jへ向かう電子経路上に電子通過孔部を有さない。
【選択図】図2
特許請求の範囲
【請求項1】
光電面と、
前記光電面から放出された電子を増倍するN段(Nは2以上の整数)のダイノードと、
前記ダイノードにより増倍された電子を収集するアノードと、を備え、
前記アノードは、
N段目の前記ダイノードの2次電子放出面と対向し、且つ、少なくとも一部が当該2次電子放出面に沿って延びる電子収集面を有し、
N-1段目の前記ダイノードからN段目の前記ダイノードへ向かう電子経路上に電子通過孔部を有さない、光電子増倍管。
続きを表示(約 670 文字)
【請求項2】
前記アノードは、N-1段目の前記ダイノードとN段目の前記ダイノードとの間に配置されている、請求項1に記載の光電子増倍管。
【請求項3】
N-1段目の前記ダイノードと前記アノードとの間に配置され、N-1段目の前記ダイノードから前記アノードへの電子の入射を阻止する壁部を備える、請求項1又は2に記載の光電子増倍管。
【請求項4】
前記壁部は、N-1段目の前記ダイノードの電位以上の電位が印加されている、請求項3に記載の光電子増倍管。
【請求項5】
前記壁部は、N段目の前記ダイノードと一体で構成されている、請求項3又は4に記載の光電子増倍管。
【請求項6】
前記壁部は、N-1段目の前記ダイノードとN段目の前記ダイノードとの間に配置されており、
N-1段目の前記ダイノードから放出された電子は、前記壁部とN段目の前記ダイノードとの間の空間を通って、N段目の前記ダイノードに入射する、請求項3又は4に記載の光電子増倍管。
【請求項7】
前記アノードとN段目の前記ダイノードとの間に配置され、N段目の前記ダイノードからの電子の引出しを促す引出電極を備える、請求項1又は2に記載の光電子増倍管。
【請求項8】
前記引出電極は、N段目の前記ダイノードの電位よりも高い電位が印加されている、請求項7に記載の光電子増倍管。
【請求項9】
前記引出電極は、メッシュ電極である、請求項7に記載の光電子増倍管。
発明の詳細な説明
【技術分野】
【0001】
本開示は、光電子増倍管に関する。
続きを表示(約 1,500 文字)
【背景技術】
【0002】
光電面と、光電面から放出された電子を増倍するN段(Nは2以上の整数)のダイノードと、ダイノードにより増倍された電子を収集するアノードと、を備えた光電子増倍管が知られている(例えば、特許文献1参照)。このような光電子増倍管において、アノードは、メッシュ構造を含み、メッシュ構造は、N-1段目のダイノードからN段目のダイノードへ向かう電子経路上に電子通過孔部を複数有している。
【先行技術文献】
【特許文献】
【0003】
特開平7ー245078号公報
【発明の概要】
【発明が解決しようとする課題】
【0004】
上述したような光電子増倍管では、アノードに電子が衝突しにくく、電子がアノードに衝突するまでに迷走してしまう場合がある。この場合、アノードから出力される信号波形のフォールタイム(出力パルス波高値がピーク値の90%から10%に戻るまでの時間)等の時間特性が悪化してしまうおそれがある。
【0005】
本開示は、上記実情に鑑みてなされたものであり、アノードに起因する時間特性を向上させることができる光電子増倍管を提供することを目的とする。
【課題を解決するための手段】
【0006】
本開示の光電子増倍管は、[1]「光電面と、前記光電面から放出された電子を増倍するN段(Nは2以上の整数)のダイノードと、前記ダイノードにより増倍された電子を収集するアノードと、を備え、前記アノードは、N段目の前記ダイノードの2次電子放出面と対向し、且つ、少なくとも一部が当該2次電子放出面に沿って延びる電子収集面を有し、N-1段目の前記ダイノードからN段目の前記ダイノードへ向かう電子経路上に電子通過孔部を有さない、光電子増倍管」である。
【0007】
この光電子増倍管では、N段目のダイノードの2次電子放出面に対向するアノードの少なくとも一部が、当該2次電子放出面に沿って延びている。このアノードは、N-1段目のダイノードからN段目のダイノードへ向かう電子経路上に電子通過孔部を有さない。よって、アノードの電子通過孔部に起因する電子の迷走を防ぐとともに、N段目のダイノードからアノードへ電子を入射させやすくすることができる。その結果、アノードに起因する時間特性を向上させることが可能となる。
【0008】
本開示の光電子増倍管は、[2]「前記アノードは、N-1段目の前記ダイノードとN段目の前記ダイノードとの間に配置されている、[1]に記載の光電子増倍管」であってもよい。この場合、アノードをN段目のダイノードに接近するよう配置しやすくなり、アノードとN段目のダイノードとの間の電界強度を高めるように構成することができる。
【0009】
本開示の光電子増倍管は、[3]「N-1段目の前記ダイノードと前記アノードとの間に配置され、N-1段目の前記ダイノードから前記アノードへの電子の入射を阻止する壁部を備える、[1]又は[2]に記載の光電子増倍管」であってもよい。この場合、電子がN-1段目のダイノードからN段目のダイノードをスキップしてアノードへ入射してしまうことを防ぐことが可能となる。
【0010】
本開示の光電子増倍管は、[4]「前記壁部は、N-1段目の前記ダイノードの電位以上の電位が印加されている、[3]に記載の光電子増倍管」であってもよい。この場合、壁部は、N-1段目のダイノードからアノードへの電子の入射を効果的に阻止することができる。
(【0011】以降は省略されています)
この特許をJ-PlatPat(特許庁公式サイト)で参照する
関連特許
個人
安全なNAS電池
27日前
日本発條株式会社
積層体
3日前
個人
フリー型プラグ安全カバー
1か月前
東レ株式会社
多孔質炭素シート
22日前
ローム株式会社
半導体装置
1日前
ローム株式会社
半導体装置
1日前
ローム株式会社
半導体装置
22日前
キヤノン株式会社
電子機器
22日前
ローム株式会社
半導体装置
1日前
エイブリック株式会社
半導体装置
24日前
個人
防雪防塵カバー
3日前
エイブリック株式会社
半導体装置
24日前
株式会社ティラド
面接触型熱交換器
14日前
沖電気工業株式会社
アンテナ
1か月前
ニチコン株式会社
コンデンサ
15日前
ニチコン株式会社
コンデンサ
15日前
オムロン株式会社
電磁継電器
1か月前
株式会社GSユアサ
蓄電装置
1か月前
個人
半導体パッケージ用ガラス基板
2日前
株式会社GSユアサ
蓄電装置
1か月前
株式会社GSユアサ
蓄電装置
1か月前
東レ株式会社
ガス拡散層の製造方法
22日前
株式会社GSユアサ
蓄電装置
3日前
トヨタ自動車株式会社
二次電池
3日前
日本特殊陶業株式会社
保持装置
29日前
マクセル株式会社
配列用マスク
14日前
株式会社ヨコオ
コネクタ
24日前
日本特殊陶業株式会社
保持装置
1日前
日本特殊陶業株式会社
保持装置
3日前
株式会社カネカ
二次電池
1か月前
ローム株式会社
電子装置
3日前
トヨタ自動車株式会社
蓄電装置
1か月前
ローム株式会社
半導体装置
1か月前
愛知電機株式会社
負荷時タップ切換装置
1か月前
TDK株式会社
コイル部品
1日前
株式会社カネカ
正極活物質
3日前
続きを見る
他の特許を見る