TOP
|
特許
|
意匠
|
商標
特許ウォッチ
Twitter
他の特許を見る
10個以上の画像は省略されています。
公開番号
2025141264
公報種別
公開特許公報(A)
公開日
2025-09-29
出願番号
2024041127
出願日
2024-03-15
発明の名称
二次電池
出願人
株式会社豊田中央研究所
代理人
個人
,
個人
主分類
H01M
10/617 20140101AFI20250919BHJP(基本的電気素子)
要約
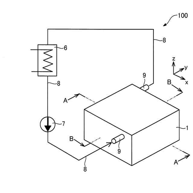
【課題】 二次電池において、二次電池全体を均一に冷却する技術を提供する。
【解決手段】 二次電池は、ケースと、ケースの内側に収容され、水平方向に沿って並んで配置される複数の電池セルと、電池セルを冷却する熱媒体と、気体の熱媒体が流通する気体流通部であって、互いに隣り合う2つの電池セルの間に配置される気体流通部と、多孔体により形成され、液体の熱媒体が流通する液体流通部であって、気体流通部と電池セルとの間に配置され、電池セルの表面と接している液体流通部と、気体流通部の鉛直方向上方側に配置され、気体流通部から排出される気体の熱媒体を液化する熱交換部と、を備える。
【選択図】 図2
特許請求の範囲
【請求項1】
二次電池であって、
ケースと、
前記ケースの内側に収容され、水平方向に沿って並んで配置される複数の電池セルと、
前記電池セルを冷却する熱媒体と、
気体の熱媒体が流通する気体流通部であって、互いに隣り合う2つの前記電池セルの間に配置される気体流通部と、
多孔体により形成され、液体の熱媒体が流通する液体流通部であって、前記気体流通部と前記電池セルとの間に配置され、前記電池セルの表面と接している液体流通部と、
前記気体流通部の鉛直方向上方側に配置され、前記気体流通部から排出される気体の熱媒体を液化する熱交換部と、を備える、
二次電池。
続きを表示(約 1,800 文字)
【請求項2】
請求項1に記載の二次電池であって、
前記液体流通部は、互いに隣り合う2つの前記電池セルのそれぞれと、2つの前記電池セルの間に配置される気体流通部との間のそれぞれに配置されており、
前記二次電池は、さらに、
液体の熱媒体を貯留する第1貯留部であって、前記気体流通部の鉛直方向下方側において、一対の前記液体流通部に挟まれた状態で配置されている第1貯留部を備え、
前記第1貯留部は、多孔体により形成されており、前記液体流通部の鉛直方向下側の端部に接続している、
二次電池。
【請求項3】
請求項2に記載の二次電池であって、
複数の前記電池セルと前記気体流通部と前記液体流通部とは、電池スタックを形成し、
前記二次電池は、さらに、
前記ケースの内側において、前記電池スタックと前記ケースの底面および側面とが離間するように、前記電池スタックを支持する支持部と、
液体の熱媒体を貯留する第2貯留部であって、前記電池スタックの鉛直方向下方側において、前記ケースの底面と側面とによって形成される第2貯留部と、
前記第2貯留部に貯留されている液体の熱媒体を加熱し、気体の熱媒体を生成する加熱部と、を備え、
前記気体流通部は、前記第1貯留部に貯留されている液体の熱媒体の一部を前記第2貯留部に排出する溝を有し、
前記第2貯留部において生成する気体の熱媒体は、前記電池スタックと前記ケースの側面との間を通り、前記電池スタックの鉛直方向上方側に移動することで前記熱交換部によって液化され、
前記熱交換部によって液化された熱媒体は、前記液体流通部を流れる、
二次電池。
【請求項4】
請求項2または請求項3に記載の二次電池であって、
複数の前記第1貯留部を備えており、
前記二次電池は、さらに、
複数の前記第1貯留部のそれぞれの鉛直方向下側の端部に接続する接続部であって、多孔体により形成されている接続部を備える、
二次電池。
【請求項5】
請求項1または請求項2に記載の二次電池であって、
前記気体流通部は、
略板形状を有し、
一対の主面のそれぞれに前記液体流通部に接触する凸部が形成され、
一方の主面の凸部が形成されている位置には、他方の主面に凹部が形成されており、
他方の主面の凸部が形成されている位置には、一方の主面に凹部が形成されており、
一方の主面に形成されている凹部の内側と他方の主面に形成されている凹部の内側とは、鉛直方向に沿って連通している、
二次電池。
【請求項6】
請求項1または請求項2に記載の二次電池であって、
前記電池セルは、略直方体形状を有しており、
前記液体流通部は、前記電池セルが有する複数の表面のうち、最も面積が大きい表面に接している、
二次電池。
【請求項7】
請求項1または請求項2に記載の二次電池であって、
前記熱交換部は、外部から供給される冷媒が流通する冷媒流通部と、前記冷媒流通部に接しているスペーサと、を有しており、
前記スペーサは、
前記気体流通部の鉛直方向上方側に配置され、気体の熱媒体が通る熱媒体流路を形成する流路形成部と、
多孔体により形成される壁部であって、前記冷媒流通部に接しており、前記熱媒体流路を通る気体の熱媒体を液化する壁部と、を有する、
二次電池。
【請求項8】
請求項7に記載の二次電池であって、
複数の前記液体流通部を備えており、
前記二次電池は、さらに、
多孔体により形成され、前記熱交換部と複数の前記液体流通部との間に配置される中間部を備え、
前記中間部は、
前記スペーサが有する前記壁部の鉛直方向下側の端部と、複数の前記液体流通部のそれぞれの鉛直方向上側の端部とに接しており、
前記気体流通部の鉛直方向上方側に形成され、前記熱媒体流路に連通する開口を有する、
二次電池。
【請求項9】
請求項1または請求項2に記載の二次電池であって、
前記気体流通部は、絶縁材料により形成されている、
二次電池。
発明の詳細な説明
【技術分野】
【0001】
本発明は、二次電池に関する。
続きを表示(約 2,300 文字)
【背景技術】
【0002】
従来から、充放電が可能な二次電池が知られている(例えば、特許文献1~4)。
【先行技術文献】
【特許文献】
【0003】
特開2023-116092号公報
特開2016-146298号公報
特開2023-37122号公報
特開2016-177935号公報
【発明の概要】
【発明が解決しようとする課題】
【0004】
しかしながら、特許文献1~4のような先行技術によっても、二次電池において、二次電池全体を均一に冷却する技術については、なお、改善の余地があった。
【0005】
本発明は、上述した課題を解決するためになされたものであり、二次電池において、二次電池全体を均一に冷却する技術を提供することを目的とする。
【課題を解決するための手段】
【0006】
本発明は、上述の課題の少なくとも一部を解決するためになされたものであり、以下の形態として実現することが可能である。
【0007】
(1)本発明の一形態によれば、二次電池が提供される。この二次電池は、ケースと、前記ケースの内側に収容され、水平方向に沿って並んで配置される複数の電池セルと、前記電池セルを冷却する熱媒体と、気体の熱媒体が流通する気体流通部であって、互いに隣り合う2つの前記電池セルの間に配置される気体流通部と、多孔体により形成され、液体の熱媒体が流通する液体流通部であって、前記気体流通部と前記電池セルとの間に配置され、前記電池セルの表面と接している液体流通部と、前記気体流通部の鉛直方向上方側に配置され、前記気体流通部から排出される気体の熱媒体を液化する熱交換部と、を備える。
【0008】
この構成によれば、電池セルの表面と接している液体流通部は、多孔体により形成されており、毛細管現象によって液体の熱媒体が移動する。液体流通部において電池セルの熱によって気化する熱媒体は、気体流通部を通り、気体流通部の鉛直方向上側から排出される。気体流通部から排出される気体の熱媒体は、気体流通部の鉛直方向上方側に配置されている熱交換部において液化される。液化された熱媒体は、再び液体流通部を移動し、電池セルの冷却に利用される。このように、電池セルは、液体流通部を移動する液体の熱媒体の相変化を利用して冷却される。これにより、熱媒体と電池セルとの接触状態などにより熱媒体の相変化が部分的に行われる場合に比べ、二次電池全体を均一に冷却することができる。
【0009】
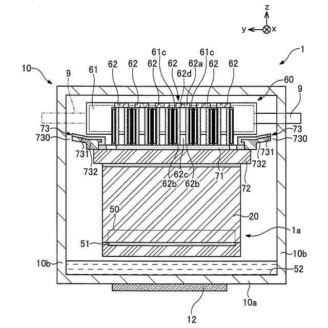
(2)上記形態の二次電池であって、前記液体流通部は、互いに隣り合う2つの前記電池セルのそれぞれと、2つの前記電池セルの間に配置される気体流通部との間のそれぞれに配置されており、前記二次電池は、さらに、液体の熱媒体を貯留する第1貯留部であって、前記気体流通部の鉛直方向下方側において、一対の前記液体流通部に挟まれた状態で配置されている第1貯留部を備え、前記第1貯留部は、多孔体により形成されており、前記液体流通部の鉛直方向下側の端部に接続していてもよい。この構成によれば、一対の液体流通部に挟まれた状態で気体流通部の鉛直方向下方側に配置されている第1貯留部は、液体流通部を流通する液体の熱媒体のうち、電池セルの熱によって気化しなかった分を貯留する。電池セルの温度が上昇し、液体流通部を移動する熱媒体が少なくなった場合には、第1貯留部に貯留されている液体の熱媒体が毛細管現象によって液体流通部を移動する。これにより、電池セルをさらに冷却することができる。
【0010】
(3)上記形態の二次電池において、複数の前記電池セルと前記気体流通部と前記液体流通部とは、電池スタックを形成し、前記二次電池は、さらに、前記ケースの内側において、前記電池スタックと前記ケースの底面および側面とが離間するように、前記電池スタックを支持する支持部と、液体の熱媒体を貯留する第2貯留部であって、前記電池スタックの鉛直方向下方側において、前記ケースの底面と側面とによって形成される第2貯留部と、前記第2貯留部に貯留されている液体の熱媒体を加熱し、気体の熱媒体を生成する加熱部と、を備え、前記気体流通部は、前記第1貯留部に貯留されている液体の熱媒体の一部を前記第2貯留部に排出する溝を有し、前記第2貯留部において生成する気体の熱媒体は、前記電池スタックと前記ケースの側面との間を通り、前記電池スタックの鉛直方向上方側に移動することで前記熱交換部によって液化され、前記熱交換部によって液化された熱媒体は、前記液体流通部を流れてもよい。この構成によれば、電池スタックの鉛直方向下方側において、ケースの底面と側面とによって形成される第2貯留部は、気体流通部が有する溝を介して、第1貯留部に貯留しきれない液体の熱媒体を貯留する。液体流通部を移動する液体の熱媒体が少ないために電池セルの冷却が十分に行えない場合、第2貯留部に貯留されている液体の熱媒体を加熱することで、第2貯留部において気体の熱媒体を生成する。第2貯留部において生成された気体の熱媒体は、電池スタックとケースの側面との間を通り、電池スタックの鉛直方向上方側に移動することで熱交換部によって液化される。これにより、液体流通部を移動する液体の熱媒体の量を増大させることができる。したがって、液体流通部における熱媒体の枯渇を抑制し、電池セルをさらに冷却することができる。
(【0011】以降は省略されています)
この特許をJ-PlatPat(特許庁公式サイト)で参照する
関連特許
株式会社豊田中央研究所
ハイブリッド車両の制御装置
今日
ダイハツ工業株式会社
樹脂製アウタパネル部材
今日
株式会社豊田中央研究所
地図作成装置、地図作成方法及び地図作成プログラム
今日
株式会社豊田中央研究所
電力伝送巻線、電力変換装置および電力伝送システム
1日前
個人
安全なNAS電池
27日前
日本発條株式会社
積層体
3日前
日機装株式会社
加圧装置
1か月前
個人
フリー型プラグ安全カバー
1か月前
東レ株式会社
多孔質炭素シート
22日前
ローム株式会社
半導体装置
1日前
エイブリック株式会社
半導体装置
24日前
ローム株式会社
半導体装置
1か月前
個人
防雪防塵カバー
3日前
エイブリック株式会社
半導体装置
24日前
ローム株式会社
半導体装置
22日前
キヤノン株式会社
電子機器
22日前
ローム株式会社
半導体装置
1日前
ローム株式会社
半導体装置
1日前
株式会社GSユアサ
蓄電装置
3日前
オムロン株式会社
電磁継電器
1か月前
東レ株式会社
ガス拡散層の製造方法
22日前
三菱電機株式会社
回路遮断器
1か月前
ニチコン株式会社
コンデンサ
15日前
株式会社ティラド
面接触型熱交換器
14日前
株式会社GSユアサ
蓄電装置
1か月前
沖電気工業株式会社
アンテナ
1か月前
株式会社GSユアサ
蓄電装置
1か月前
株式会社GSユアサ
蓄電装置
1か月前
個人
半導体パッケージ用ガラス基板
2日前
ニチコン株式会社
コンデンサ
15日前
株式会社ヨコオ
コネクタ
24日前
トヨタ自動車株式会社
蓄電装置
1か月前
ローム株式会社
電子装置
3日前
日本特殊陶業株式会社
保持装置
3日前
トヨタ自動車株式会社
二次電池
3日前
日本特殊陶業株式会社
保持装置
29日前
続きを見る
他の特許を見る