TOP
|
特許
|
意匠
|
商標
特許ウォッチ
Twitter
他の特許を見る
10個以上の画像は省略されています。
公開番号
2025141348
公報種別
公開特許公報(A)
公開日
2025-09-29
出願番号
2024041242
出願日
2024-03-15
発明の名称
半導体装置の製造方法
出願人
株式会社デンソー
,
トヨタ自動車株式会社
,
株式会社ミライズテクノロジーズ
代理人
弁理士法人 快友国際特許事務所
主分類
H01L
21/301 20060101AFI20250919BHJP(基本的電気素子)
要約
【課題】 スクライブアンドブレイク工法によって、金属膜が形成された半導体基板を精度良く分割するための新たな技術を提案する。
【解決手段】 半導体装置の製造方法は、複数の素子領域を有する半導体基板の第1表面に支持板を貼り付ける工程と、支持板を貼り付ける工程の後に、第1表面の裏側に位置する第2表面に、複数の素子領域に跨る金属膜を形成する工程と、金属膜の表面に素子領域の境界に沿って押圧部材を押し当てることにより、境界に沿って金属膜を分割するとともに、半導体基板に境界に沿うとともに半導体基板の厚み方向に延びるクラックを形成する工程と、クラックを形成する工程の後に、支持板を第1表面から剥離する工程と、第1表面側から境界に沿って半導体基板に分割部材を押し当てることにより、境界に沿って半導体基板を分割する工程、を備える。
【選択図】図7
特許請求の範囲
【請求項1】
半導体装置(20)の製造方法であって、
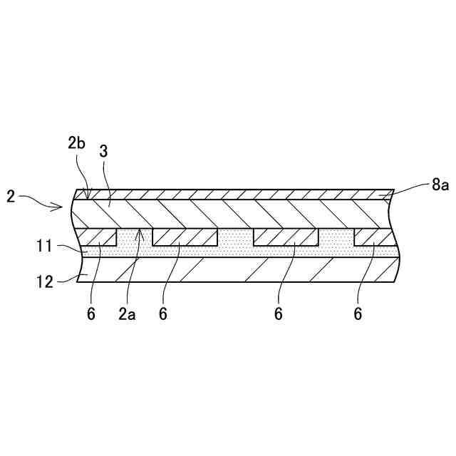
複数の素子領域(3)を有する半導体基板(2)の第1表面(2a)に支持板(12)を貼り付ける工程と、
前記支持板を貼り付ける工程の後に、前記第1表面の裏側に位置する第2表面(2a)に、前記複数の素子領域に跨る金属膜(10)を形成する工程と、
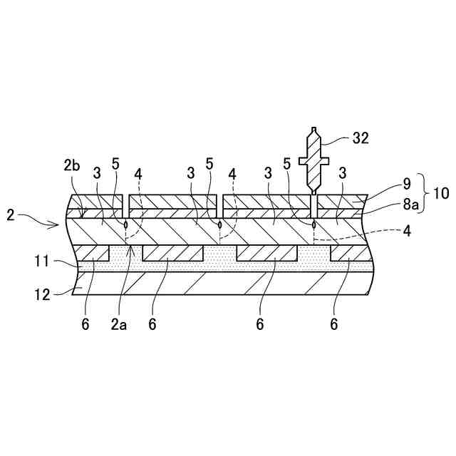
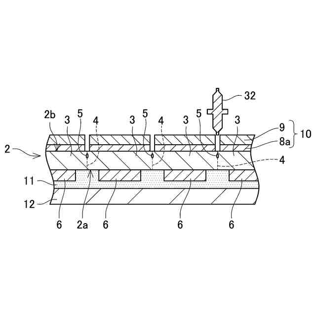
前記金属膜の表面に前記素子領域の境界に沿って押圧部材(32)を押し当てることにより、前記境界に沿って前記金属膜を分割するとともに、前記半導体基板に前記境界に沿うとともに前記半導体基板の厚み方向に延びるクラック(5)を形成する工程と、
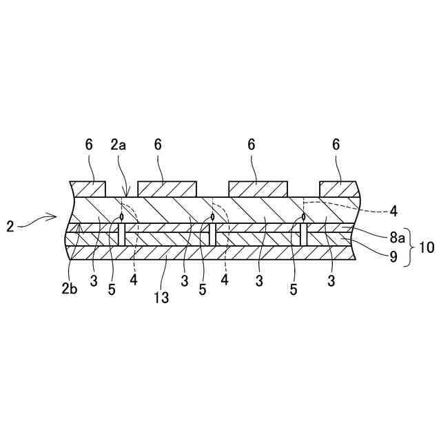
前記クラックを形成する前記工程の後に、前記支持板を前記第1表面から剥離する工程と、
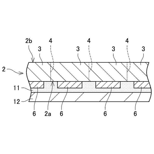
前記第1表面側から前記境界に沿って前記半導体基板に分割部材(33)を押し当てることにより、前記境界に沿って前記半導体基板を分割する工程、
を備える、製造方法。
続きを表示(約 170 文字)
【請求項2】
前記支持板を貼り付ける工程の後であって、前記金属膜を形成する工程の前に、前記半導体基板の前記第2表面を研削する工程をさらに備える、請求項1に記載の製造方法。
【請求項3】
前記金属膜は、前記半導体基板の前記第2表面との界面に形成されたシリサイド層(8a)を含む、請求項1又は2に記載の製造方法。
発明の詳細な説明
【技術分野】
【0001】
本明細書に開示の技術は、半導体装置の製造方法に関する。
続きを表示(約 1,700 文字)
【0002】
特許文献1には、スクライブアンドブレイク工法によって、半導体基板を分割する技術が開示されている。特許文献1では、まず、半導体基板を支持板に固定した状態で、半導体基板の表面に、隣り合う素子領域の境界に沿って押圧部材を押し当て、当該境界に沿って半導体基板内部にクラックを形成する。次に、半導体基板の表面に複数の素子領域に跨る金属膜を形成する。そして、支持板を剥離した後に、半導体基板の裏面から当該境界に沿って分割部材を押し当て、当該境界に沿って半導体基板と金属膜を分割する。
【先行技術文献】
【特許文献】
【0003】
特開2023-179261号公報
【発明の概要】
【発明が解決しようとする課題】
【0004】
特許文献1では、金属膜が複数の素子領域に跨るように形成されるため、支持板を剥離したときに、金属膜の膜応力によって半導体基板に反りが生じる。このため、半導体基板に対して分割部材を精度良く押し当てることが難しく、個片化される半導体装置に欠けが生じ得る。本明細書では、スクライブアンドブレイク工法によって、金属膜が形成された半導体基板を精度良く分割するための新たな技術を提案する。
【課題を解決するための手段】
【0005】
本明細書が開示する半導体装置の製造方法は、複数の素子領域を有する半導体基板の第1表面に支持板を貼り付ける工程と、前記支持板を貼り付ける工程の後に、前記第1表面の裏側に位置する第2表面に、前記複数の素子領域に跨る金属膜を形成する工程と、前記金属膜の表面に前記素子領域の境界に沿って押圧部材を押し当てることにより、前記境界に沿って前記金属膜を分割するとともに、前記半導体基板に前記境界に沿うとともに前記半導体基板の厚み方向に延びるクラックを形成する工程と、前記クラックを形成する前記工程の後に、前記支持板を前記第1表面から剥離する工程と、前記第1表面側から前記境界に沿って前記半導体基板に分割部材を押し当てることにより、前記境界に沿って前記半導体基板を分割する工程、を備える。
【0006】
この製造方法では、半導体基板の第1表面に支持板を貼り付けた状態で、半導体基板の第2表面に金属膜を形成する。その後、金属膜の表面に押圧部材を押し当てることにより、金属膜を各素子領域の境界に沿って分割するとともに、半導体基板にクラックを形成する。金属膜が分割されているので、半導体基板から支持板を剥離したときに、半導体基板に印加される膜応力が低減する。このため、金属膜の膜応力に起因する半導体基板の反りが低減する。したがって、素子領域の境界に沿って分割部材を精度良く半導体基板に押し当てることができるので、製造される半導体装置に欠けが生じることを抑制することができる。
【図面の簡単な説明】
【0007】
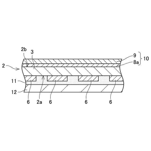
半導体基板の平面図。
支持板貼り付け工程を説明するための図。
研削工程を説明するための図。
シリサイド形成工程を説明するための図。
シリサイド形成工程を説明するための図。
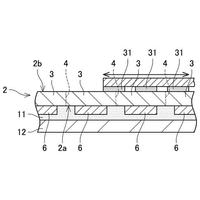
金属膜形成工程を説明するための図。
クラック形成工程を説明するための図。
ダイシングテープ貼り付け工程を説明するための図。
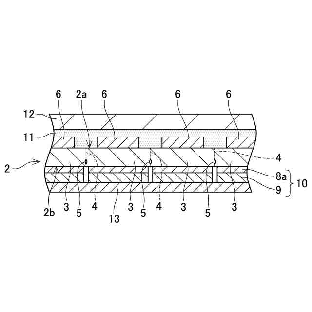
支持板剥離工程を説明するための図。
保護部材被覆工程を説明するための図。
分割工程を説明するための図。
ダイピック工程を説明するための図。
【発明を実施するための形態】
【0008】
本明細書が開示する一例の製造方法では、前記支持板を貼り付ける工程の後であって、前記金属膜を形成する工程の前に、前記半導体基板の前記第2表面を研削する工程をさらに備えてもよい。
【0009】
このような構成では、製造される半導体装置を小型化することができる。
【0010】
本明細書が開示する一例の製造方法では、前記金属膜は、前記半導体基板の前記第2表面との界面に形成されたシリサイド層を含んでもよい。
(【0011】以降は省略されています)
この特許をJ-PlatPat(特許庁公式サイト)で参照する
関連特許
株式会社デンソー
携帯機
1か月前
株式会社デンソー
接合体
13日前
株式会社デンソー
平滑回路
23日前
株式会社デンソーエレクトロニクス
発音装置
3日前
株式会社デンソー
電子装置
1か月前
株式会社デンソー
ステータ
14日前
株式会社デンソー
電子装置
1か月前
株式会社デンソー
ステータ
14日前
株式会社デンソー
書込装置
1か月前
株式会社デンソー
太陽電池
15日前
株式会社デンソー
電子装置
3日前
株式会社デンソー
測距装置
1か月前
株式会社デンソーウェーブ
携帯端末
1か月前
株式会社デンソー
ステータ
1か月前
株式会社デンソー
電子装置
1か月前
株式会社デンソー
ステータ
1か月前
株式会社デンソー
光学部材
24日前
株式会社デンソーエレクトロニクス
発音装置
21日前
株式会社デンソー
駆動装置
29日前
株式会社デンソー
送電装置
1か月前
株式会社デンソー
通信装置
29日前
株式会社デンソー
電子機器
1か月前
株式会社デンソー
電子装置
1か月前
株式会社デンソー
ガスセンサ
1か月前
株式会社デンソー
回転体装置
27日前
株式会社デンソー
レーダ装置
1か月前
株式会社デンソー
レーダ装置
3日前
株式会社デンソー
熱音響装置
1か月前
株式会社デンソー
半導体装置
1か月前
株式会社デンソー
センサ素子
29日前
株式会社デンソー
点火プラグ
1か月前
株式会社デンソー
半導体装置
1か月前
株式会社デンソー
電子制御装置
3日前
株式会社デンソー
通信システム
3日前
株式会社デンソー
温度検出装置
27日前
株式会社デンソー
制御システム
6日前
続きを見る
他の特許を見る