TOP
|
特許
|
意匠
|
商標
特許ウォッチ
Twitter
他の特許を見る
公開番号
2025136411
公報種別
公開特許公報(A)
公開日
2025-09-19
出願番号
2024034971
出願日
2024-03-07
発明の名称
物品認識システム、情報処理プログラム及び取引処理システム
出願人
東芝テック株式会社
代理人
弁理士法人鈴榮特許綜合事務所
主分類
G07G
1/00 20060101AFI20250911BHJP(チェック装置)
要約
【課題】物品の認識に失敗した場合の対処を使用者に適切に行わせることを可能とする。
【解決手段】実施形態の物品認識システムは、第1の認識手段、読取手段、第2の認識手段、判定手段、第1の案内手段及び第2の案内手段を備える。第1の認識手段は、画像に映り込んだ物品の外観の特徴に基づいて当該物品を認識する。読取手段は、光学的読取可能なコードを読み取る。第2の認識手段は、読取手段で読み取られたコードに基づいて物品を認識する。判定手段は、第1の認識手段による認識に失敗したことに応じて、該当の物品が第1の認識手段による認識に適するかを判定する。第1の案内手段は、判定手段により適すると判定されたならば、該当の物品の画像への映り込み状況を変化させるように使用者に案内する。第2の案内手段は、判定手段により適すると判定されなかったならば、該当の物品に関するコードを読取手段に読み取らせるように使用者に案内する。
【選択図】 図5
特許請求の範囲
【請求項1】
画像に映り込んだ物品の外観の特徴に基づいて当該物品を認識する第1の認識手段と、
光学的読取可能なコードを読み取る読取手段と、
前記読取手段により読み取られたコードに基づいて物品を認識する第2の認識手段と、
前記第1の認識手段による認識に失敗したことに応じて、該当の物品が前記第1の認識手段による認識に適するかを判定する判定手段と、
前記判定手段により適すると判定されたことに応じて、該当の物品の画像への映り込み状況を変化させるように使用者に案内する第1の案内手段と、
前記判定手段により適すると判定されなかったことに応じて、該当の物品に関するコードを前記読取手段に読み取らせるように前記使用者に案内する第2の案内手段と、
を具備した物品認識システム。
続きを表示(約 1,100 文字)
【請求項2】
撮影手段、をさらに備え、
前記第1の認識手段は、前記撮影手段により得られた画像に映り込んだ物品を認識し、
前記読取手段は、前記撮影手段により得られた画像に映り込んだコードを読み取る、
請求項1に記載の物品認識システム。
【請求項3】
前記撮影手段は、認識対象となる物品を載置するための載置スペースに置かれた物品を撮影し、
前記第1の案内手段は、前記第1の認識手段による認識に失敗した物品の前記載置スペースでの置き方を変化させるように前記使用者に案内する、
請求項2に記載の物品認識システム。
【請求項4】
光学的読取可能なコードを読み取る読取手段を備えた物品認識システムが備えるコンピュータを、
画像に映り込んだ物品の外観の特徴に基づいて当該物品を認識する第1の認識手段と、
前記読取手段により読み取られたコードに基づいて物品を認識する第2の認識手段と、
前記第1の認識手段による認識に失敗したことに応じて、該当の物品が前記第1の認識手段による認識に適するかを判定する判定手段と、
前記判定手段により適すると判定されたことに応じて、該当の物品の画像への映り込み状況を変化させるように使用者に案内する第1の案内手段と、
前記判定手段により適すると判定されなかったことに応じて、該当の物品に関するコードを前記読取手段に読み取らせるように前記使用者に案内する第2の案内手段と、
して機能させるための情報処理プログラム。
【請求項5】
画像に映り込んだ物品の外観の特徴に基づいて当該物品を認識する第1の認識手段と、
光学的読取可能なコードを読み取る読取手段と、
前記読取手段により読み取られたコードに基づいて物品を認識する第2の認識手段と、
前記第1の認識手段による認識に失敗したことに応じて、該当の物品が前記第1の認識手段による認識に適するかを判定する判定手段と、
前記判定手段により適すると判定されたことに応じて、該当の物品の画像への映り込み状況を変化させるように使用者に案内する第1の案内手段と、
前記判定手段により適すると判定されなかったことに応じて、該当の物品に関するコードを前記読取手段に読み取らせるように前記使用者に案内する第2の案内手段と、
前記第1の認識手段及び前記第2の認識手段により認識された物品を取引の対象とする商品として登録する登録手段と、
を具備した取引処理システム。
発明の詳細な説明
【技術分野】
【0001】
本発明の実施形態は、物品認識システム、情報処理プログラム及び取引処理システムに関する。
続きを表示(約 1,900 文字)
【背景技術】
【0002】
陳列販売型の店舗において、客がショッピングカートのカゴ部へと置いた商品を画像から認識して、客が購入する商品として自動的に登録するようにした登録システムは既に提案されている。このような登録システムを用いたPOSシステムは、フリクションレスPOSシステムなどと称される場合もある。
しかしながら、商品を常に正しく認識できるとは限らず、認識に失敗した場合には、客が適正に対処する必要があった。
【先行技術文献】
【特許文献】
【0003】
特開2020-135210号公報
【発明の概要】
【発明が解決しようとする課題】
【0004】
本発明が解決しようとする課題は、物品の認識に失敗した場合の対処を使用者に適切に行わせることを可能とする物品認識システム、情報処理プログラム及び取引処理システムを提供することである。
【課題を解決するための手段】
【0005】
実施形態の物品認識システムは、第1の認識手段、読取手段、第2の認識手段、判定手段、第1の案内手段及び第2の案内手段を備える。第1の認識手段は、画像に映り込んだ物品の外観の特徴に基づいて当該物品を認識する。読取手段は、光学的読取可能なコードを読み取る。第2の認識手段は、読取手段により読み取られたコードに基づいて物品を認識する。判定手段は、第1の認識手段による認識に失敗したことに応じて、該当の物品が第1の認識手段による認識に適するかを判定する。第1の案内手段は、判定手段により適すると判定されたことに応じて、該当の物品の画像への映り込み状況を変化させるように使用者に案内する。第2の案内手段は、判定手段により適すると判定されなかったことに応じて、該当の物品に関するコードを読取手段に読み取らせるように使用者に案内する。
【図面の簡単な説明】
【0006】
一実施形態に係る取引処理システムの概略構成と、カート端末の要部回路構成とを表すブロック図。
カートへのカート端末の取り付け状況の一例を表す斜視図。
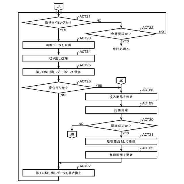
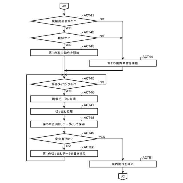
登録処理のフローチャート。
登録処理のフローチャート。
登録処理のフローチャート。
【発明を実施するための形態】
【0007】
以下、実施の形態の一例について図面を用いて説明する。なお本実施形態としては、物品認識システムの機能を取り込んで実現される取引処理システムの例を説明する。
図1は本実施形態に係る取引処理システム1の概略構成と、カート端末100の要部回路構成とを表すブロック図である。
取引処理システム1は、カート端末100、会計機200、アテンダント端末300及びPOSサーバ400を、通信ネットワーク2を介して通信可能として構成されている。
【0008】
通信ネットワーク2は、インターネット、VPN(virtual private network)、LAN(local area network)、公衆通信網、移動体通信網などを、単独又は適宜に組み合わせて用いることができる。通信ネットワーク2としては、一例として、LAN及びインターネットが組み合わせて用いられる。
なお、カート端末100、会計機200、アテンダント端末300及びPOSサーバ400は、それぞれ任意の数が取引処理システム1に含まれて構わないが、図1では1台ずつのみを表している。
【0009】
カート端末100は、店舗に備え付けのショッピングカート(以下、カートと称する)に取り付けられる情報処理端末である。カート端末100は、店舗で商品を購買する客にカートとともに貸し出される。カート端末100は、客による操作を受けて、客が購買を予定する商品を取引商品として登録するための取引処理を実行する端末装置である。かくして、このようにカート端末100を使用する客が、当該のカート端末100の使用者である。通常はカート端末100は、後述するように、取引商品として登録する商品を、当該商品が映り込んだ画像から識別する処理を実行する。つまりカート端末100は、商品登録システムとしての機能を備える。
【0010】
会計機200は、店舗に設置され、カート端末100により登録された取引商品の代金の決済に関わる会計処理を実行する。会計機200は、会計処理に際して、操作者による操作を受ける。会計機200の操作者は、主として客である。店員が会計機200の操作者となる場合もある。
(【0011】以降は省略されています)
この特許をJ-PlatPat(特許庁公式サイト)で参照する
関連特許
東芝テック株式会社
プリンタ
1日前
東芝テック株式会社
プリンタ装置
1日前
東芝テック株式会社
プリンタ装置
1日前
東芝テック株式会社
画像形成装置
3日前
東芝テック株式会社
情報処理装置及びシステム
2日前
東芝テック株式会社
情報処理装置及びプログラム
1日前
東芝テック株式会社
商品登録装置、及び情報処理プログラム
1日前
東芝テック株式会社
商品販売データ処理装置及びそのプログラム
2日前
東芝テック株式会社
情報処理装置、情報処理プログラム及び情報処理システム
1日前
東芝テック株式会社
プリンタおよびプログラム
1日前
株式会社イシダ
商品処理装置
3日前
沖電気工業株式会社
媒体処理装置
1か月前
沖電気工業株式会社
媒体処理装置
1か月前
沖電気工業株式会社
紙幣処理装置
1か月前
沖電気工業株式会社
媒体処理装置
1か月前
富士電機株式会社
自動販売機
1か月前
株式会社ライト
情報処理装置
1か月前
株式会社ライト
情報処理装置
1か月前
富士電機株式会社
金銭処理装置
2か月前
株式会社デンソー
車載器
1日前
グローリー株式会社
物品投出装置
25日前
株式会社トイスピリッツ
景品提供システム
1か月前
日本金銭機械株式会社
硬貨処理装置
5日前
日本金銭機械株式会社
硬貨処理装置
5日前
ユニティガードシステム株式会社
入館監視システム
1か月前
沖電気工業株式会社
媒体処理装置
29日前
沖電気工業株式会社
棒金収納装置
2日前
沖電気工業株式会社
棒金収納装置
1か月前
旭精工株式会社
紙葉類処理装置および紙葉類処理方法
15日前
沖電気工業株式会社
現金処理装置及び印字装置
15日前
沖電気工業株式会社
現金処理装置
1か月前
中井銘鈑株式会社
商品見本取付け構造
1か月前
沖電気工業株式会社
媒体識別装置及び媒体処理装置
1か月前
沖電気工業株式会社
硬貨処理装置及び貨幣取扱装置
1か月前
独立行政法人 国立印刷局
画像観察装置及び画像観察方法
1か月前
株式会社東芝
ドア構造
1か月前
続きを見る
他の特許を見る