TOP
|
特許
|
意匠
|
商標
特許ウォッチ
Twitter
他の特許を見る
公開番号
2025142475
公報種別
公開特許公報(A)
公開日
2025-10-01
出願番号
2024041842
出願日
2024-03-18
発明の名称
認証用鍵管理システムおよび認証用鍵管理方法
出願人
富士電機株式会社
代理人
インフォート弁理士法人
主分類
H04L
9/08 20060101AFI20250924BHJP(電気通信技術)
要約
【課題】簡単な構成または低コストで、サーバにアクセスするための認証用鍵を端末間でコピーする方法を提供する。
【解決手段】第1の端末は第1の保存部を備え、第2の端末は第2の保存部を備える。第1の保存部には、予め、認証用鍵および第1のセキュリティコードが保存されている。第2の保存部には、予め、第2のセキュリティコードが保存されている。第1の保存部および第2の保存部に同じオペレータコードが書き込まれる。第2の端末は、第2のセキュリティコードでオペレータコードを暗号化することで暗号化オペレータコードを生成して第1の端末に送信する。第1の端末は、第1のセキュリティコードで暗号化オペレータコードを復号することで再生される復号オペレータコードと第1の保存部に保存されているオペレータコードとが一致するときに、認証用鍵を第2の端末に送信する。
【選択図】図4
特許請求の範囲
【請求項1】
第1の端末および第2の端末がサーバにアクセスする際に使用する認証用鍵を管理する認証用鍵管理システムであって、
前記第1の端末は、
第1の保存部と、
第1の鍵管理部と、を備え、
前記第2の端末は、
第2の保存部と、
第2の鍵管理部と、を備え、
前記第1の保存部には、予め、前記認証用鍵および第1のセキュリティコードが保存されており、
前記第2の保存部には、予め、第2のセキュリティコードが保存されており、
前記第1の保存部に保存されている前記認証用鍵を前記第2の端末に送信する際に、前記第1の保存部に第1のオペレータコードが書き込まれると共に、前記第2の保存部に前記第1のオペレータコードと同じ第2のオペレータコードが書き込まれ、
前記第2の鍵管理部は、
前記第2のセキュリティコードで前記第2のオペレータコードを暗号化することで暗号化オペレータコードを生成し、
前記暗号化オペレータコードを前記第1の端末に送信し、
前記第1の鍵管理部は、
前記第1のセキュリティコードで前記暗号化オペレータコードを復号することで再生される復号オペレータコードと前記第1のオペレータコードとを比較し、
前記復号オペレータコードと前記第1のオペレータコードとが一致するときに、前記認証用鍵を前記第2の端末に送信する
ことを特徴とする認証用鍵管理システム。
続きを表示(約 1,600 文字)
【請求項2】
前記第1の鍵管理部が前記認証用鍵を前記第2の端末に送信する処理は、
前記第1のオペレータコードおよび前記第1のセキュリティコードで前記認証用鍵を暗号化することで暗号化認証用鍵を生成する工程と、
前記暗号化認証用鍵を前記第2の端末に送信する工程と、を含み、
前記第2の鍵管理部は、前記暗号化認証用鍵を前記第2のオペレータコードおよび前記第2のセキュリティコードで復号することで前記認証用鍵を取得する
ことを特徴とする請求項1に記載の認証用鍵管理システム。
【請求項3】
前記第2の鍵管理部は、前記認証用鍵を取得した後に、
前記第2の保存部に保存されている前記第2のオペレータコードを廃棄し、
前記認証用鍵を取得したことを表す受領通知を前記第1の端末に送信し、
前記第1の鍵管理部は、前記受領通知を受信すると、前記第1の保存部に保存されている前記第1のオペレータコードを廃棄する
ことを特徴とする請求項2に記載の認証用鍵管理システム。
【請求項4】
前記第1の鍵管理部は、
鍵暗号化鍵を生成し、
前記第1のセキュリティコードで前記鍵暗号化鍵を暗号化し、
暗号化された前記鍵暗号化鍵を前記第2の端末に送信し、
前記第2の鍵管理部は、暗号化された前記鍵暗号化鍵を前記第2のセキュリティコードで復号することで前記鍵暗号化鍵を取得し、
前記第1の鍵管理部が前記認証用鍵を前記第2の端末に送信する処理は、
前記鍵暗号化鍵で前記認証用鍵を暗号化して暗号化認証用鍵を生成する工程と、
前記暗号化認証用鍵を前記第2の端末に送信する工程と、を含み、
前記第2の鍵管理部は、前記暗号化認証用鍵を前記鍵暗号化鍵で復号することで前記認証用鍵を取得する
ことを特徴とする請求項1に記載の認証用鍵管理システム。
【請求項5】
前記第2の鍵管理部は、前記認証用鍵を取得した後に、
前記第2のオペレータコードおよび前記鍵暗号化鍵を廃棄し、
前記認証用鍵を取得したことを表す受領通知を前記第1の端末に送信し、
前記第1の鍵管理部は、前記受領通知を受信すると、前記第1のオペレータコードおよび前記鍵暗号化鍵を廃棄する
ことを特徴とする請求項4に記載の認証用鍵管理システム。
【請求項6】
第1の端末および第2の端末がサーバにアクセスする際に使用する認証用鍵を管理する認証用鍵管理方法であって、
前記第1の端末が備える第1の保存部には、予め、前記認証用鍵および第1のセキュリティコードが保存されており、
前記第2の端末が備える第2の保存部には、予め、第2のセキュリティコードが保存されており、
前記第1の保存部に保存されている前記認証用鍵を前記第2の端末に送信する際に、前記第1の保存部に第1のオペレータコードが書き込まれると共に、前記第2の保存部に前記第1のオペレータコードと同じ第2のオペレータコードが書き込まれ、
前記第2の端末は、
前記第2のセキュリティコードで前記第2のオペレータコードを暗号化することで暗号化オペレータコードを生成し、
前記暗号化オペレータコードを前記第1の端末に送信し、
前記第1の端末は、
前記第1のセキュリティコードで前記暗号化オペレータコードを復号することで再生される復号オペレータコードと前記第1のオペレータコードとを比較し、
前記復号オペレータコードと前記第1のオペレータコードとが一致するときに、前記認証用鍵を前記第2の端末に送信する
ことを特徴とする認証用鍵管理方法。
発明の詳細な説明
【技術分野】
【0001】
本発明は、サーバにアクセスする際に使用する認証用鍵を端末間で共有するシステムおよび方法に係わる。
続きを表示(約 2,000 文字)
【背景技術】
【0002】
認証用鍵を使用してサーバにアクセスするシステムにおいては、サーバおよびクライアント端末に事前に認証用鍵が登録される。このようなシステムにおいてクライアント端末を交換するときは、サーバおよび新たなクライアント端末に認証用鍵が再登録される。ただし、認証用鍵の再登録は、システムの管理者にとって大きな負担である。そこで、端末間で認証用鍵をコピーする方法が提案されている(例えば、特許文献1)。
【先行技術文献】
【特許文献】
【0003】
特許第6479723号
【発明の概要】
【発明が解決しようとする課題】
【0004】
上述のように、端末間で認証用鍵をコピーする方法が提案されている。ただし、従来の技術では、端末間で認証用鍵をコピーする際のコストが大きくなることがある。例えば、特許文献1に記載のシステムでは、コピー元端末およびコピー先端末の双方で生体認証等のユーザ認証が実施された後に認証用鍵のコピーが許可される。すなわち、従来の技術では、セキュリティを確保するために生体認証デバイス等の専用の機器が必要であり、コストが大きくなる。
【0005】
本発明の1つの側面に係わる目的は、簡単な構成または低コストで、サーバにアクセスするための認証用鍵を端末間でコピーする方法を提供することである。
【課題を解決するための手段】
【0006】
本発明の1つの態様に係わる認証用鍵管理システムは、第1の端末および第2の端末がサーバにアクセスする際に使用する認証用鍵を管理する。前記第1の端末は、第1の保存部と、第1の鍵管理部とを備える。前記第2の端末は、第2の保存部と、第2の鍵管理部とを備える。前記第1の保存部には、予め、前記認証用鍵および第1のセキュリティコードが保存されている。前記第2の保存部には、予め、第2のセキュリティコードが保存されている。前記第1の保存部に保存されている前記認証用鍵を前記第2の端末に送信する際に、前記第1の保存部に第1のオペレータコードが書き込まれると共に、前記第2の保存部に前記第1のオペレータコードと同じ第2のオペレータコードが書き込まれる。前記第2の鍵管理部は、前記第2のセキュリティコードで前記第2のオペレータコードを暗号化することで暗号化オペレータコードを生成し、前記暗号化オペレータコードを前記第1の端末に送信する。前記第1の鍵管理部は、前記第1のセキュリティコードで前記暗号化オペレータコードを復号することで再生される復号オペレータコードと前記第1のオペレータコードとを比較し、前記復号オペレータコードと前記第1のオペレータコードとが一致するときに、前記認証用鍵を前記第2の端末に送信する。
【発明の効果】
【0007】
上述の態様によれば、簡単な構成または低コストで、サーバにアクセスするための認証用鍵を端末間でコピーすることができる。
【図面の簡単な説明】
【0008】
本発明の実施形態に係わるクライアントサーバシステムの一例を示す図である。
本発明の実施形態に係わる端末の構成の一例を示す図である。
クライアントサーバシステムにおいて既存の端末を新たな端末に交換するケースの一例を示す図である。
端末間で認証用鍵をコピーする手順の一例を示すシーケンス図である。
端末間で認証用鍵をコピーする手順の他の例を示すシーケンス図である。
【発明を実施するための形態】
【0009】
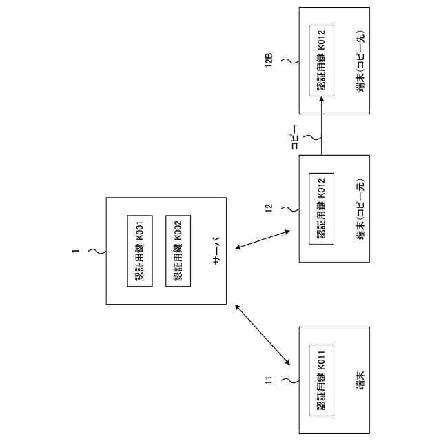
図1は、本発明の実施形態に係わるクライアントサーバシステムの一例を示す。この実施例では、サーバ1は、端末11および端末12にサービスを提供する。端末11および端末12は、それぞれサーバ1のクライアントである。すなわち、各端末11、12は、サーバ1が提供するサービスを受けることができる。
【0010】
各端末(11、12)は、サーバ1にアクセスするための認証用鍵を保持する。この実施例では、端末11は、認証用鍵K011を保持し、端末12は、認証用鍵K012を保持する。サーバ1は、各端末(11、12)からのアクセスを受け付ける際に使用する認証用鍵を保持する。この実施例では、サーバ1は、端末11からのアクセスを受け付ける際に使用する認証用鍵K001および端末12からのアクセスを受け付ける際に使用する認証用鍵K002を保持する。なお、認証用鍵K001および認証用鍵K011は互いに対応付けられており、認証用鍵K002および認証用鍵K012も互いに対応付けられている。
(【0011】以降は省略されています)
この特許をJ-PlatPat(特許庁公式サイト)で参照する
関連特許
富士電機株式会社
溶接装置
4日前
富士電機株式会社
搬送機構
4日前
富士電機株式会社
冷却装置
7日前
富士電機株式会社
回路遮断器
1日前
富士電機株式会社
電磁接触器
今日
富士電機株式会社
電磁接触器
今日
富士電機株式会社
電磁接触器
今日
富士電機株式会社
電磁接触器
今日
富士電機株式会社
半導体装置
今日
富士電機株式会社
電磁接触器
今日
富士電機株式会社
エンコーダ
1日前
富士電機株式会社
半導体装置
4日前
富士電機株式会社
チャンネルベース
今日
富士電機株式会社
チャンネルベース
今日
富士電機株式会社
電力変換システム
今日
富士電機株式会社
電力変換システム
4日前
富士電機株式会社
エレベータ制御装置
2日前
富士電機株式会社
エレベータ制御装置
2日前
富士電機株式会社
冷却器及び半導体装置
今日
富士電機株式会社
測定方法及び製造方法
7日前
富士電機株式会社
自動販売機の保護装置
7日前
富士電機株式会社
半導体モジュール及び車両
8日前
富士電機株式会社
店舗用冷却装置制御システム
8日前
富士電機株式会社
測定装置および冷却システム
2日前
富士電機株式会社
冷却装置および電力変換装置
8日前
富士電機株式会社
店舗内位置情報取得システム
1日前
富士電機株式会社
窒化物半導体装置の製造方法
今日
富士電機株式会社
冷却器及び半導体モジュール
今日
富士電機株式会社
半導体装置及びその製造方法
今日
富士電機株式会社
炭化珪素半導体装置の製造方法
今日
富士電機株式会社
過電圧保護回路および半導体装置
8日前
富士電機株式会社
最適制御方法、及び最適制御装置
4日前
富士電機株式会社
スイッチング制御回路、及び電源回路
7日前
富士電機株式会社
半導体装置及び半導体装置の製造方法
今日
富士電機株式会社
トリミングシステムおよび半導体モジュール
1日前
富士電機株式会社
更新資源配信システムおよび更新資源配信方法
14日前
続きを見る
他の特許を見る