TOP
|
特許
|
意匠
|
商標
特許ウォッチ
Twitter
他の特許を見る
公開番号
2025142568
公報種別
公開特許公報(A)
公開日
2025-10-01
出願番号
2024042010
出願日
2024-03-18
発明の名称
サーバ装置、機器制御システム、制御方法、及び、プログラム
出願人
三菱電機株式会社
代理人
個人
,
個人
,
個人
,
個人
,
個人
,
個人
主分類
H05B
47/105 20200101AFI20250924BHJP(他に分類されない電気技術)
要約
【課題】ユーザの心身状態に応じて、照明機器を含む制御対象機器を適切に制御することのできるサーバ装置を提供する。
【解決手段】
制御部11は、通信部13を制御してユーザの生体情報を生体センサ30から繰り返し取得する。制御部11は、生体センサ30から取得した生体情報に従って、照明機器20を制御する。そして、推測部14は、制御部11が行った制御の前後における生体情報の変化に基づいて、ユーザの心身状態を推測する。
【選択図】図1
特許請求の範囲
【請求項1】
ユーザの生体情報を繰り返し取得する生体情報取得手段と、
前記生体情報取得手段が取得した前記生体情報に従って、照明機器を含む制御対象機器を制御する機器制御手段と、
前記機器制御手段が行った制御の前後における前記生体情報の変化に基づいて、ユーザの心身状態を推測する推測手段と、
を備えるサーバ装置。
続きを表示(約 1,200 文字)
【請求項2】
前記生体情報取得手段が取得する前記生体情報には、体温、脈拍、脳波、瞬き回数、発汗のうちの少なくとも1つが含まれる、
請求項1に記載のサーバ装置。
【請求項3】
前記生体情報に対する閾値若しくは目標値を設定するための記憶手段を更に備え、
前記機器制御手段は、前記記憶手段に前記閾値が設定されている場合に、前記生体情報の値が前記閾値を超えることで前記制御対象機器の制御を開始し、前記記憶手段に前記目標値が設定されている場合に、前記生体情報の値が前記目標値に近づくように前記制御対象機器を制御する、
請求項1又は2に記載のサーバ装置。
【請求項4】
前記生体情報取得手段は、前記推測手段が推測した前記心身状態に応じて、前記生体情報の取得頻度を変化させる、
請求項1又は2に記載のサーバ装置。
【請求項5】
前記機器制御手段が前記制御対象機器の制御を開始する前に、ユーザが使用する端末装置にメッセージを通知する通知手段を更に備える、
請求項1又は2に記載のサーバ装置。
【請求項6】
前記通知手段が通知する前記メッセージには、前記制御対象機器に対する制御の承認をユーザに要求する内容が含まれており、
前記機器制御手段は、ユーザからの承認が得られた場合に、前記制御対象機器を制御する、
請求項5に記載のサーバ装置。
【請求項7】
前記機器制御手段は、前記照明機器の照度及び色温度を制御する、
請求項1又は2に記載のサーバ装置。
【請求項8】
前記機器制御手段は、規定の変化量の範囲内で、かつ、規定以上の時間間隔を空けて、前記照度及び前記色温度を制御する、
請求項7に記載のサーバ装置。
【請求項9】
前記機器制御手段は、複数の運転モードの中から、前記生体情報取得手段が取得した前記生体情報に応じた運転モードに規定される制御内容に従って、前記制御対象機器を制御し、
前記推測手段は、前記機器制御手段による制御前における前記生体情報の値と、前記機器制御手段による制御後における前記生体情報の値との差が、基準値を超えるか否かに基づいて、ユーザの心身状態に及ぼす効果の有無を推測する、
請求項1又は2に記載のサーバ装置。
【請求項10】
前記推測手段が推測した効果の有無に従って、ユーザに適した前記運転モードを学習する学習手段を更に備え、
前記機器制御手段は、前記推測手段によって、現在の運転モードに従った制御に効果がないと推測されると、前記学習手段の学習結果に従って、現在の運転モードとは異なる運転モードに変更する、
請求項9に記載のサーバ装置。
(【請求項11】以降は省略されています)
発明の詳細な説明
【技術分野】
【0001】
本開示は、サーバ装置、機器制御システム、制御方法、及び、プログラムに関する。
続きを表示(約 1,600 文字)
【背景技術】
【0002】
近年、発光する光の照度及び色温度を変更可能な照明機器が普及している。このような照明機器における照度及び色温度の状態に応じて、ユーザの心身状態に影響を及ぼすことが知られている。
例えば、昼白色、昼光色の蛍光ランプのような明るく青白い光(色温度が高い光)は、照度が高いと、さわやかな感じをユーザに与えるものの、照度が低すぎると、陰気で寒々しい感じをユーザに与えることになる。
一方、電球色の白熱電球のような赤っぽい光(色温度が低い光)は、照度が低いと、おだやかな感じをユーザに与えるものの、照度が高すぎると、暑苦しい感じをユーザに与えることになる。
【0003】
このような性質を利用した照明機器の技術の一例として、特許文献1には、ユーザの好みに合わせて照明機器の照度及び色温度を自動制御する照明機器(照明装置)が開示されている。
【先行技術文献】
【特許文献】
【0004】
特開2014-225471公報
【発明の概要】
【発明が解決しようとする課題】
【0005】
しかしながら、現実において、ユーザが求める照明機器の照度及び色温度は、そのユーザの心身状態に応じて変化するものであり、一意に決まるものではない。そのため、上述した特許文献1に記載されたように、予め設定された照度及び色温度となるように照明機器を制御してしまうと、このような変化に対応できず、場合によってはユーザの心身状態を悪化させる可能性もある。
【0006】
本開示は、上記事情に鑑みてなされたものであり、ユーザの心身状態に応じて、照明機器を含む制御対象機器を適切に制御することのできるサーバ装置、機器制御システム、制御方法、及び、プログラムを提供することを目的とする。
【課題を解決するための手段】
【0007】
上記目的を達成するために、本開示に係るサーバ装置は、
ユーザの生体情報を繰り返し取得する生体情報取得手段と、
前記生体情報取得手段が取得した前記生体情報に従って、照明機器を含む制御対象機器を制御する機器制御手段と、
前記機器制御手段が行った制御の前後における前記生体情報の変化に基づいて、ユーザの心身状態を推測する推測手段と、
を備える。
【発明の効果】
【0008】
本開示によれば、ユーザの心身状態に応じて、照明機器を含む制御対象機器を適切に制御することができる。
【図面の簡単な説明】
【0009】
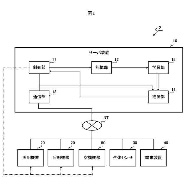
実施形態1に係る機器制御システムの全体構成の一例を示すブロック図
実施形態1に係る制御テーブルの一例を示す図
(a)が制御の開始前に通知されるメッセージの一例を示す図、(b)が制御の開始時に通知されるメッセージの一例を示す図
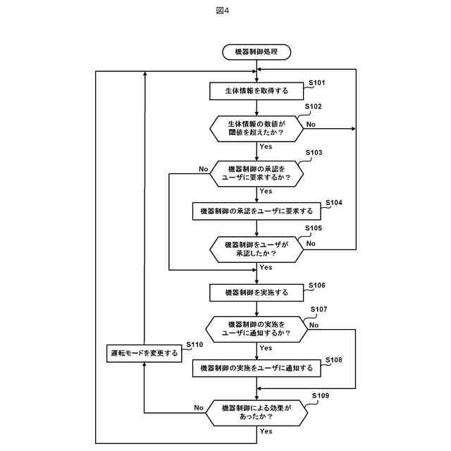
機器制御処理を説明するためのフローチャート
制御に応じた生体情報の変化を確認するためのモニタ画面の一例を示す図
実施形態2に係る機器制御システムの全体構成の一例を示すブロック図
実施形態2に係る制御テーブルの一例を示す図
【発明を実施するための形態】
【0010】
以下、本開示の実施形態について図面を参照しながら詳細に説明する。なお、図中同一または相当部分には同一符号を付す。また、以下に説明する実施形態は説明のためのものであり、本発明の範囲を制限するものではない。従って、当業者であればこれらの各要素又は全要素をこれと均等なものに置換した実施形態を採用することが可能であるが、これらの実施形態も本発明の範囲に含まれる。
(【0011】以降は省略されています)
この特許をJ-PlatPat(特許庁公式サイト)で参照する
関連特許
三菱電機株式会社
給湯機
2か月前
三菱電機株式会社
冷蔵庫
1か月前
三菱電機株式会社
計測器
1か月前
三菱電機株式会社
照明装置
1か月前
三菱電機株式会社
照明器具
1か月前
三菱電機株式会社
照明装置
2か月前
三菱電機株式会社
照明装置
18日前
三菱電機株式会社
照明装置
1か月前
三菱電機株式会社
照明器具
2か月前
三菱電機株式会社
回転電機
1か月前
三菱電機株式会社
照明装置
1か月前
三菱電機株式会社
照明装置
1か月前
三菱電機株式会社
回転電機
8日前
三菱電機株式会社
送風装置
2か月前
三菱電機株式会社
回転電機
18日前
三菱電機株式会社
換気装置
1か月前
三菱電機株式会社
回転電機
1か月前
三菱電機株式会社
電子機器
1か月前
三菱電機株式会社
照明器具
1か月前
三菱電機株式会社
電源回路
3か月前
三菱電機株式会社
照明装置
29日前
三菱電機株式会社
照明装置
2か月前
三菱電機株式会社
回転電機
1か月前
三菱電機株式会社
半導体装置
18日前
三菱電機株式会社
半導体装置
1か月前
三菱電機株式会社
半導体装置
1か月前
三菱電機株式会社
半導体装置
12日前
三菱電機株式会社
加熱調理器
2か月前
三菱電機株式会社
半導体装置
2か月前
三菱電機株式会社
半導体装置
2か月前
三菱電機株式会社
加熱調理器
11日前
三菱電機株式会社
半導体装置
2か月前
三菱電機株式会社
半導体装置
2か月前
三菱電機株式会社
回路遮断器
1か月前
三菱電機株式会社
電気掃除機
1か月前
三菱電機株式会社
電気接続部
2か月前
続きを見る
他の特許を見る