TOP
|
特許
|
意匠
|
商標
特許ウォッチ
Twitter
他の特許を見る
公開番号
2025142573
公報種別
公開特許公報(A)
公開日
2025-10-01
出願番号
2024042015
出願日
2024-03-18
発明の名称
印刷装置
出願人
セイコーエプソン株式会社
代理人
個人
,
個人
,
個人
主分類
B41J
2/01 20060101AFI20250924BHJP(印刷;線画機;タイプライター;スタンプ)
要約
【課題】搬送ローラーの表面が摩耗して直径が小さくなった場合にも、適正な画像を形成する。
【解決手段】プリンター1は、印刷媒体Pにインクを吐出して画像を形成する記録ヘッド151と、記録ヘッド151に向けて印刷媒体Pを搬送する搬送ローラー153と、印刷媒体Pに所定間隔LPで形成されたマークMを検出するフォトセンサーSPと、記録ヘッド151、及び搬送ローラー153を制御する制御部11と、を備え、制御部11は、第1のマークMである第1マークM1をフォトセンサーSPが検出した時点から、第1マークM1の次のマークである第2マークM2をフォトセンサーSPが検出するまでの間における、搬送ローラー153の回転量、及び印刷媒体Pの搬送時間の少なくとも一方を計測値として取得し、前記計測値と前記計測値の基準を示す基準値とに基づき、記録ヘッド151から吐出されるインクの着弾位置を補正する。
【選択図】図1
特許請求の範囲
【請求項1】
印刷媒体にインクを吐出して画像を形成する記録ヘッドと、
前記記録ヘッドに向けて前記印刷媒体を搬送する搬送ローラーと、
前記印刷媒体に所定間隔で形成された特徴点を検出する検出センサーと、
前記記録ヘッド、及び前記搬送ローラーを制御する制御部と、
を備え、
前記制御部は、
第1の前記特徴点である第1特徴点を前記検出センサーが検出した時点から、前記第1特徴点の次の特徴点である第2特徴点を前記検出センサーが検出するまでの間における、前記搬送ローラーの回転量、及び前記印刷媒体の搬送時間の少なくとも一方を計測値として取得し、
前記計測値と前記計測値の基準を示す基準値とに基づき、前記記録ヘッドから吐出される前記インクの着弾位置を補正する、
印刷装置。
続きを表示(約 1,100 文字)
【請求項2】
前記制御部は、
前記計測値の前記基準値に対する変化率が、予め設定された閾値以上であるか否かを判定し、
前記変化率が前記閾値以上であると判定した場合に、前記記録ヘッドから吐出される前記インクの着弾位置を補正する、
請求項1に記載の印刷装置。
【請求項3】
前記計測値は、前記搬送ローラーの回転量であり、
前記搬送ローラーの回転量を検出するエンコーダーを有する、
請求項1又は請求項2に記載の印刷装置。
【請求項4】
前記計測値は、前記印刷媒体の搬送時間であり、
前記印刷媒体の搬送時間を測定するタイマーを有する、
請求項1又は請求項2に記載の印刷装置。
【請求項5】
前記制御部は、前記記録ヘッドからの前記インクの吐出タイミングを補正することによって、前記着弾位置を補正する、
請求項1に記載の印刷装置。
【請求項6】
前記制御部は、前記搬送ローラーの回転速度を補正することによって、前記着弾位置を補正する、
請求項1に記載の印刷装置。
【請求項7】
前記制御部は、前記着弾位置を補正した後、前記基準値を前記計測値に更新する、
請求項1に記載の印刷装置。
【請求項8】
前記記録ヘッドは、ラインヘッドで構成される、
請求項1に記載の印刷装置。
【請求項9】
印刷媒体にインクを吐出して画像を形成する記録ヘッドと、
前記記録ヘッドに向けて前記印刷媒体を搬送する搬送ローラーと、
前記記録ヘッド、及び前記搬送ローラーを制御する制御部と、
を備え、
前記制御部は、
前記搬送ローラーによって搬送された前記印刷媒体の搬送量の累積値、又は前記印刷媒体の搬送時間の累積値を算出し、
前記印刷媒体の搬送量の累積値、又は前記印刷媒体の搬送時間の累積値に基づき、前記記録ヘッドからの前記インクの吐出タイミング、又は前記搬送ローラーの回転速度を補正する、
印刷装置。
【請求項10】
前記制御部は、
前記印刷媒体の搬送量の累積値、又は前記印刷媒体の搬送時間の累積値と、前記記録ヘッドからの前記インクの吐出タイミングを遅延させる比率、又は前記搬送ローラーの回転速度を増加させる比率とを対応付けて記憶する記憶部を備え、
前記記憶部を参照して、前記印刷媒体の搬送量の累積値、又は前記印刷媒体の搬送時間の累積値に基づき、前記記録ヘッドからの前記インクの吐出タイミング、又は前記搬送ローラーの回転速度を増加させる比率を補正する、
請求項9に記載の印刷装置。
発明の詳細な説明
【技術分野】
【0001】
本開示は、印刷装置に関する。
続きを表示(約 1,900 文字)
【背景技術】
【0002】
特許文献1には、ラインヘッド型のインクジェットプリンターにおいて、駆動ローラーが偏心している場合に、着弾誤差が生じて画質が低下する課題を解消するために、駆動ローラーの偏心の周期に対応して吐出タイミングを補正することで偏心に起因する着弾誤差を解消することが開示されている。
【先行技術文献】
【特許文献】
【0003】
特開2008-23943号公報
【発明の概要】
【発明が解決しようとする課題】
【0004】
しかしながら、特許文献1に記載の技術では、画質低下を低減するには充分ではない場合があった。例えば、長期間に亘ってプリンターを使用している場合には、搬送ローラーの表面が摩耗して、搬送ローラーの直径が小さくなる。これに起因して印刷媒体の搬送量が、プリンターの購入時等の搬送ローラーが新品であるときと比較して短くなり、印刷された画像が搬送方向に縮小された状態になる場合があった。
【課題を解決するための手段】
【0005】
上記課題を解決する一態様に係る印刷装置は、印刷媒体にインクを吐出して画像を形成する記録ヘッドと、前記記録ヘッドに向けて前記印刷媒体を搬送する搬送ローラーと、前記印刷媒体に所定間隔で形成された特徴点を検出する検出センサーと、前記記録ヘッド、及び前記搬送ローラーを制御する制御部と、を備え、前記制御部は、第1の前記特徴点である第1特徴点を前記検出センサーが検出した時点から、前記第1特徴点の次の特徴点である第2特徴点を前記検出センサーが検出するまでの間における、前記搬送ローラーの回転量、及び前記印刷媒体の搬送時間の少なくとも一方を計測値として取得し、前記計測値と前記計測値の基準を示す基準値とに基づき、前記記録ヘッドから吐出される前記インクの着弾位置を補正する。
【図面の簡単な説明】
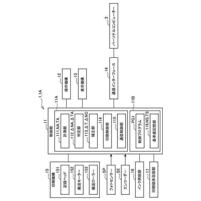
【0006】
本実施形態に係るプリンターの構成の一例を示す図。
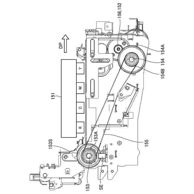
プリンターのフォトセンサーの配置の一例を示す右側面図。
プリンターのエンコーダーの配置の一例を示す左側面図。
特定の印刷媒体に形成されたマークの一例を示す図。
回転量増加率と吐出遅延率との関係の一例を示す図表。
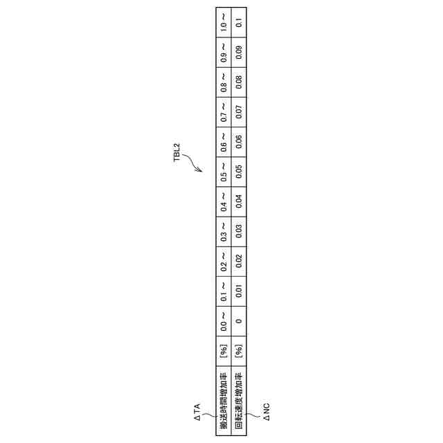
搬送時間増加率と回転速度増加率との関係の一例を示す図表。
制御部の主な処理の一例を示すフローチャート。
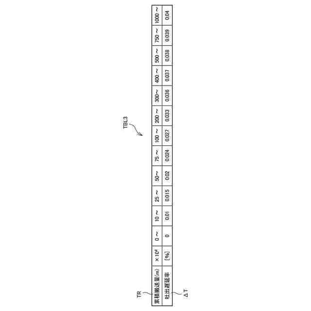
累積搬送量と吐出遅延率との関係の一例を示す図表。
【発明を実施するための形態】
【0007】
以下、図面を参照して本実施形態について説明する。本実施形態は、図1-図7を参照して説明する第1実施形態と、主に図8を参照して説明する第2実施形態とを含む。
【0008】
[1.第1実施形態]
まず、図1を参照して、プリンター1の構成について説明する。図1は、第1実施形態に係るプリンター1の構成の一例を示す図である。
図1に示すように、プリンター1は、制御部11と、操作機構12と、表示機構13と、通信インターフェース14、印刷機構15と、インク供給部16と、印刷媒体収容部17と、を備える。
制御部11は、プリンター1の各部の動作を制御する。操作機構12、表示機構13、通信インターフェース14、印刷機構15の各々は、制御部11と通信可能に構成される。
プリンター1は、「印刷装置」の一例に対応する。
【0009】
制御部11は、CPU(Central Processing Unit)等のプロセッサー11A、ROM(Read Only Memory)等のメモリー11Bを備える。メモリー11Bは、制御プログラムPGを記憶する。
【0010】
プロセッサー11Aは、複数のプロセッサーにより構成されてもよいし、単一のプロセッサーで構成されてもよい。
プロセッサー11Aが、後述する各部の機能を実現するようにプログラムされたハードウェアであってもよい。すなわち、プロセッサー11Aは、制御プログラムPGをハードウェア回路として搭載した構成であってもよい。この場合には、例えば、プロセッサー11Aは、ASIC(Application Specific Integrated Circuit)、FPGA(Field―Programmable Gate Array)等で構成される。
以下の説明では、プロセッサー11Aが制御プログラムPGを実行することによって、制御部11の各種の機能を実現する場合について説明する。
(【0011】以降は省略されています)
この特許をJ-PlatPat(特許庁公式サイト)で参照する
関連特許
セイコーエプソン株式会社
印刷装置
今日
セイコーエプソン株式会社
印刷装置
今日
セイコーエプソン株式会社
微細化装置
今日
セイコーエプソン株式会社
栽培用培地の製造方法
今日
セイコーエプソン株式会社
電気光学装置および電子機器
今日
セイコーエプソン株式会社
液体回収装置及び液体回収容器
今日
セイコーエプソン株式会社
レーザー干渉計および分光装置
今日
セイコーエプソン株式会社
情報管理システム、及びサーバー
今日
セイコーエプソン株式会社
位相補間回路、回路装置及び発振器
今日
セイコーエプソン株式会社
液体回収システム及び液体回収容器
今日
セイコーエプソン株式会社
スクリーン装置及び空間演出システム
今日
セイコーエプソン株式会社
捺染インクジェットインク組成物及び記録方法
今日
セイコーエプソン株式会社
電気光学装置、表示モジュールおよび電子機器
今日
セイコーエプソン株式会社
流路接続構造、液体吐出装置、及び流路形成方法
今日
セイコーエプソン株式会社
液体吐出装置、液体回収システム及び液体回収容器
今日
セイコーエプソン株式会社
情報処理装置、情報処理装置の制御方法およびプログラム
今日
セイコーエプソン株式会社
情報管理システム、管理装置、プログラム、及びサーバー
1日前
セイコーエプソン株式会社
情報管理システム、管理装置、プログラム、及びサーバー
1日前
セイコーエプソン株式会社
情報処理装置、情報処理方法、プログラム、及び、情報処理システム
今日
セイコーエプソン株式会社
時計用部品の製造方法、時計部品用素材の製造方法、時計用部品および時計部品用素材
今日
個人
箔熱転写装置
22日前
シヤチハタ株式会社
印判
4か月前
東レ株式会社
凸版印刷版原版
9か月前
三菱製紙株式会社
感熱記録材料
10か月前
シヤチハタ株式会社
反転式印判
8か月前
三光株式会社
感熱記録材料
5か月前
独立行政法人 国立印刷局
印刷物
6か月前
キヤノン株式会社
記録装置
15日前
株式会社リコー
画像形成装置
22日前
独立行政法人 国立印刷局
貼付機構
1か月前
株式会社リコー
液体吐出装置
7か月前
独立行政法人 国立印刷局
記録媒体
8か月前
日本製紙株式会社
感熱記録体
7か月前
株式会社リコー
液体吐出装置
5か月前
株式会社リコー
液体吐出装置
3か月前
株式会社リコー
液体吐出装置
4か月前
続きを見る
他の特許を見る