TOP
|
特許
|
意匠
|
商標
特許ウォッチ
Twitter
他の特許を見る
公開番号
2025143804
公報種別
公開特許公報(A)
公開日
2025-10-02
出願番号
2024043243
出願日
2024-03-19
発明の名称
情報処理装置、情報処理方法、プログラム、及び、情報処理システム
出願人
セイコーエプソン株式会社
代理人
個人
,
個人
,
個人
主分類
H04N
1/387 20060101AFI20250925BHJP(電気通信技術)
要約
【課題】教材管理装置による自動採点を問題なく実行する。
【解決手段】情報処理装置100は、画像形成装置400が記入済み教材用紙を読み取って生成した記入済み教材画像52を示す記入済み教材画像データを取得するスキャン画像データ取得部104を含む。情報処理装置100は、記入済み教材画像データが自動採点の対象であり、かつ、記入済み教材画像52の向きが正常な向きではない場合に、記入済み教材画像52の向きが正常な向きになるように記入済み教材画像データを補正するスキャン画像データ補正部107と、記入済み教材画像52の向きが正常な向きである記入済み教材画像データを教材管理装置300に送信するスキャン画像データ送信部108と、を含む。
【選択図】図7
特許請求の範囲
【請求項1】
学習管理装置及び画像形成装置と通信可能な情報処理装置であって、
前記画像形成装置が印刷媒体を読み取って生成したスキャン画像を示すスキャン画像データを取得するスキャン画像データ取得部と、
前記スキャン画像の向きが正常な向きであるか否かを判定する第1判定部と、
前記スキャン画像データが自動採点の対象であるか否かを判定する第2判定部と、
前記スキャン画像データが自動採点の対象であり、かつ、前記スキャン画像の向きが正常な向きではない場合に、前記スキャン画像の向きが正常な向きになるように前記スキャン画像データを補正するスキャン画像データ補正部と、
前記スキャン画像の向きが正常な向きである前記スキャン画像データを前記学習管理装置に送信するスキャン画像データ送信部と、
を含む、
情報処理装置。
続きを表示(約 1,500 文字)
【請求項2】
請求項1に記載の情報処理装置であって、
前記印刷媒体は第1のマークが第1の位置に印刷されたものであり、
前記第1判定部は、前記スキャン画像において前記第1のマークが前記第1の位置にない場合、前記スキャン画像の向きが正常な向きではないと判定する、
情報処理装置。
【請求項3】
請求項2に記載の情報処理装置であって、
前記スキャン画像データ補正部は、前記スキャン画像において前記第1のマークが前記第1の位置に来るように前記スキャン画像データを補正する、
情報処理装置。
【請求項4】
請求項1に記載の情報処理装置であって、
前記印刷媒体は第1のマークが印刷されたものであり、
前記第1のマークは、前記印刷媒体が自動採点の対象であるか否かを示す情報をデコード可能なマークであり、
前記第2判定部は、前記スキャン画像に含まれる前記第1のマークをデコードすることにより、前記スキャン画像データが自動採点の対象であるか否かを判定する、
情報処理装置。
【請求項5】
請求項1に記載の情報処理装置であって、
前記スキャン画像データが自動採点の対象ではなく、かつ、前記スキャン画像の向きが正常な向きではない場合に、前記画像形成装置を介して、前記印刷媒体を読み取る際の前記印刷媒体の向きが正常な向きでないことを通知する通知部を更に含む、
情報処理装置。
【請求項6】
請求項1に記載の情報処理装置であって、
前記学習管理装置から印刷画像を示す印刷画像データを取得する印刷画像データ取得部と、
前記印刷画像にマークを重畳するように前記印刷画像データを加工する印刷画像データ加工部と、
前記画像形成装置に、前記印刷画像データ加工部が加工した前記印刷画像データの印刷を指示する印刷指示部と、
を更に含む、
情報処理装置。
【請求項7】
請求項6に記載の情報処理装置であって、
前記マークは、前記印刷画像データが自動採点の対象であるか否かを示す情報をデコード可能である、
情報処理装置。
【請求項8】
請求項1に記載の情報処理装置であって、
前記スキャン画像データ補正部は、前記スキャン画像の向きが正常な向きである場合、前記スキャン画像データを補正しない、
情報処理装置。
【請求項9】
請求項1に記載の情報処理装置であって、
前記第2判定部は、前記スキャン画像に選択問題が含まれる場合、前記スキャン画像データが自動採点の対象であると判定する、
情報処理装置。
【請求項10】
学習管理装置及び画像形成装置と通信可能な情報処理装置の情報処理方法であって、
前記画像形成装置が印刷媒体を読み取って生成したスキャン画像を示すスキャン画像データを取得すること、
前記スキャン画像の向きが正常な向きであるか否かを判定すること、
前記スキャン画像データが自動採点の対象であるか否かを判定すること、
前記スキャン画像データが自動採点の対象であり、かつ、前記スキャン画像の向きが正常な向きではない場合に、前記スキャン画像の向きが正常な向きになるように前記スキャン画像データを補正すること、
前記スキャン画像の向きが正常な向きである前記スキャン画像データを前記学習管理装置に送信すること、
を含む、
情報処理方法。
(【請求項11】以降は省略されています)
発明の詳細な説明
【技術分野】
【0001】
本発明は、情報処理装置、情報処理方法、プログラム、及び、情報処理システムに関する。
続きを表示(約 1,900 文字)
【背景技術】
【0002】
特許文献1は、学習者によって解答欄に解答が記入されたテスト教材を読み取って採点を行い、採点結果をテスト教材自体に追い刷り印刷する自動採点装置を開示している。
【先行技術文献】
【特許文献】
【0003】
特開2019-23673号公報
【発明の概要】
【発明が解決しようとする課題】
【0004】
上記特許文献1の自動採点装置は、テスト教材の読み取り時における向きが所望の向きと異なっている場合、自動採点できない可能性があり、利便性が低下していた。
【課題を解決するための手段】
【0005】
学習管理装置及び画像形成装置と通信可能な情報処理装置であって、
前記画像形成装置が印刷媒体を読み取って生成したスキャン画像を示すスキャン画像データを取得するスキャン画像データ取得部と、
前記スキャン画像の向きが正常な向きであるか否かを判定する第1判定部と、
前記スキャン画像データが自動採点の対象であるか否かを判定する第2判定部と、
前記スキャン画像データが自動採点の対象であり、かつ、前記スキャン画像の向きが正常な向きではない場合に、前記スキャン画像の向きが正常な向きになるように前記スキャン画像データを補正するスキャン画像データ補正部と、
前記スキャン画像の向きが正常な向きである前記スキャン画像データを前記学習管理装置に送信するスキャン画像データ送信部と、
を含む、
情報処理装置が提供される。
【0006】
学習管理装置及び画像形成装置と通信可能な情報処理装置の情報処理方法であって、
前記画像形成装置が印刷媒体を読み取って生成したスキャン画像を示すスキャン画像データを取得すること、
前記スキャン画像の向きが正常な向きであるか否かを判定すること、
前記スキャン画像データが自動採点の対象であるか否かを判定すること、
前記スキャン画像データが自動採点の対象であり、かつ、前記スキャン画像の向きが正常な向きではない場合に、前記スキャン画像の向きが正常な向きになるように前記スキャン画像データを補正すること、
前記スキャン画像の向きが正常な向きである前記スキャン画像データを前記学習管理装置に送信すること、
を含む、
情報処理方法が提供される。
【0007】
学習管理装置及び画像形成装置と通信可能な情報処理装置を、
前記画像形成装置が印刷媒体を読み取って生成したスキャン画像を示すスキャン画像データを取得するスキャン画像データ取得部と、
前記スキャン画像の向きが正常な向きであるか否かを判定する第1判定部と、
前記スキャン画像データが自動採点の対象であるか否かを判定する第2判定部と、
前記スキャン画像データが自動採点の対象であり、かつ、前記スキャン画像の向きが正常な向きではない場合に、前記スキャン画像の向きが正常な向きになるように前記スキャン画像データを補正するスキャン画像データ補正部と、
前記スキャン画像の向きが正常な向きである前記スキャン画像データを前記学習管理装置に送信するスキャン画像データ送信部と、
として機能させる、
プログラムが提供される。
【0008】
上記の前記情報処理装置と、
上記の前記画像形成装置と、
を含む、
情報処理システムが提供される。
【図面の簡単な説明】
【0009】
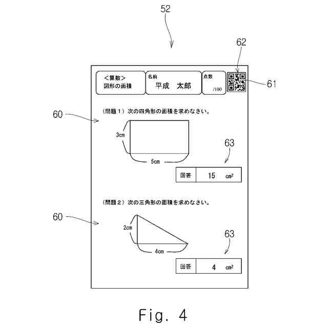
情報処理システムの概略図である。(第1実施形態)
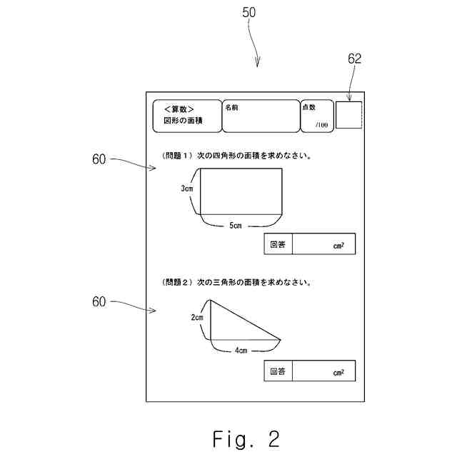
コードなし教材画像の一例を示す図である。(第1実施形態)
コード付き教材画像の一例を示す図である。(第1実施形態)
記入済み教材画像の一例を示す図である。(第1実施形態)
情報処理装置のブロック図である。(第1実施形態)
記入済み教材画像の一例を示す図である。(第1実施形態)
情報処理システムのシーケンスチャートである。(第1実施形態)
情報処理システムの概略図である。(第2実施形態)
【発明を実施するための形態】
【0010】
以下、実施形態について、図面を参照しながら説明する。説明の明確化のため、以下の記載及び図面は、適宜、省略、及び簡略化がなされている。また、各図面において、同一の要素には同一の符号が付されており、必要に応じて重複説明は省略されている。
(【0011】以降は省略されています)
この特許をJ-PlatPat(特許庁公式サイト)で参照する
関連特許
個人
店内配信予約システム
3か月前
キーコム株式会社
光伝送線路
今日
サクサ株式会社
中継装置
5日前
サクサ株式会社
中継装置
6日前
WHISMR合同会社
収音装置
1か月前
サクサ株式会社
中継装置
3か月前
アイホン株式会社
電気機器
27日前
キヤノン株式会社
電子機器
2か月前
キヤノン株式会社
撮像装置
1か月前
サクサ株式会社
無線通信装置
5日前
サクサ株式会社
無線システム
4日前
サクサ株式会社
無線通信装置
5日前
株式会社リコー
画像形成装置
1か月前
株式会社リコー
画像形成装置
1か月前
株式会社リコー
画像形成装置
2か月前
キヤノン電子株式会社
画像読取装置
1か月前
個人
ワイヤレスイヤホン対応耳掛け
25日前
キヤノン電子株式会社
モバイル装置
3か月前
ブラザー工業株式会社
読取装置
2か月前
個人
発信機及び発信方法
4日前
キヤノン株式会社
撮像システム
27日前
株式会社ニコン
撮像装置
2か月前
日本電気株式会社
海底分岐装置
今日
株式会社小糸製作所
画像照射装置
1か月前
パテントフレア株式会社
水中電波通信法
2か月前
有限会社フィデリックス
マイクロフォン
11日前
株式会社JVCケンウッド
通信システム
11日前
株式会社NTTドコモ
端末
今日
DXO株式会社
情報処理システム
2か月前
キヤノン電子株式会社
シート材搬送装置
2か月前
株式会社松平商会
携帯機器カバー
1か月前
沖電気工業株式会社
画像形成装置
15日前
パテントフレア株式会社
超高速電波通信
1か月前
沖電気工業株式会社
画像形成装置
7日前
大日本印刷株式会社
写真撮影装置
26日前
株式会社NTTドコモ
端末
今日
続きを見る
他の特許を見る