TOP
|
特許
|
意匠
|
商標
特許ウォッチ
Twitter
他の特許を見る
10個以上の画像は省略されています。
公開番号
2025142639
公報種別
公開特許公報(A)
公開日
2025-10-01
出願番号
2024042102
出願日
2024-03-18
発明の名称
情報管理システム、管理装置、プログラム、及びサーバー
出願人
セイコーエプソン株式会社
代理人
弁理士法人クシブチ国際特許事務所
主分類
G16H
10/60 20180101AFI20250924BHJP(特定の用途分野に特に適合した情報通信技術)
要約
【課題】隔離ネットワーク上のデータベースでの管理情報の格納漏れに対応できるようにする。
【解決手段】情報管理システムは、管理情報を管理する管理システムと、前記管理システムから取得した前記管理情報を印刷装置に印刷させる印刷システムと、前記管理情報が印刷された印刷物のスキャンデータから前記管理情報を取得し、外部ネットワークから隔離された隔離ネットワーク上のデータベースに、取得した前記管理情報を格納する管理装置と、を備え、前記印刷システムは、所定の順番規則に従った識別情報が印刷された前記印刷物を前記印刷装置に生成させ、前記管理装置は、前記印刷物のスキャンデータから前記識別情報を取得し、取得した前記識別情報に基づいて、前記データベースへの前記管理情報の格納漏れを通知する。
【選択図】図1
特許請求の範囲
【請求項1】
管理情報を管理する管理システムと、
前記管理システムから取得した前記管理情報を印刷装置に印刷させる印刷システムと、
前記管理情報が印刷された印刷物のスキャンデータから前記管理情報を取得し、外部ネットワークから隔離された隔離ネットワーク上のデータベースに、取得した前記管理情報を格納する管理装置と、を備え、
前記印刷システムは、所定の順番規則に従った識別情報が印刷された前記印刷物を前記印刷装置に生成させ、
前記管理装置は、前記印刷物のスキャンデータから前記識別情報を取得し、取得した前記識別情報に基づいて、前記データベースへの前記管理情報の格納漏れを通知する、
情報管理システム。
続きを表示(約 1,200 文字)
【請求項2】
前記管理装置は、取得した前記識別情報の中に前記所定の順番規則に従わない前記識別情報がある場合、前記データベースで前記管理情報の格納漏れが生じたと判定し、前記データベースへの前記管理情報の格納漏れを通知する、
請求項1に記載の情報管理システム。
【請求項3】
前記印刷装置は、コード形式で前記管理情報が印刷された前記印刷物を生成し、
前記管理装置は、前記印刷物のスキャンデータが示すスキャン画像が含むコードから前記管理情報を取得する、
請求項1又は2に記載の情報管理システム。
【請求項4】
前記管理装置は、
前記印刷物がスキャンされた時間に基づいて、前記データベースへの格納が漏れている前記管理情報が印刷された前記印刷物の紛失期間を推定し、推定した前記紛失期間を通知する、
請求項1又は2に記載の情報管理システム。
【請求項5】
前記識別情報には、前記隔離ネットワークが構築される施設で成立されている組織を示す組織情報が含まれる、
請求項1又は2に記載の情報管理システム。
【請求項6】
管理情報を管理する管理システムと、前記管理システムから取得した前記管理情報を印刷装置に印刷させる印刷システムと、が接続する外部ネットワークから隔離された隔離ネットワークに接続する管理装置であって、
所定の順番規則に従った識別情報が印刷された印刷物のスキャンデータから前記識別情報を取得し、取得した前記識別情報に基づいて、前記隔離ネットワーク上のデータベースへの前記管理情報の格納漏れを通知する管理装置制御部を備える、
管理装置。
【請求項7】
管理情報を管理する管理システムと、前記管理システムから取得した前記管理情報を印刷装置に印刷させる印刷システムと、が接続する外部ネットワークから隔離された隔離ネットワークに接続する管理装置のプロセッサーに、
所定の順番規則に従った識別情報が印刷された印刷物のスキャンデータから前記識別情報を取得させ、
取得した前記識別情報に基づいて、前記隔離ネットワーク上のデータベースへの前記管理情報の格納漏れを通知させる、
プログラム。
【請求項8】
管理情報を管理する管理システムと外部ネットワークを介して接続し、前記管理システムから取得した前記管理情報を印刷装置に印刷させるサーバーであって、
前記外部ネットワークから隔離された隔離ネットワークに接続する管理装置が、前記隔離ネットワーク上のデータベースへの前記管理情報の格納漏れを通知する際に取得する識別情報が印刷された印刷物を、前記印刷装置に印刷させるサーバー制御部を備え、
前記印刷物に印刷される前記識別情報は、所定の順番規則に従った情報である、
サーバー。
発明の詳細な説明
【技術分野】
【0001】
本発明は、情報管理システム、管理装置、プログラム、及びサーバーに関する。
続きを表示(約 1,900 文字)
【背景技術】
【0002】
従来、ネットワーク上で情報を管理する技術が知られている。例えば、特許文献1は、電子カルテなどの医療情報をクラウドネットワーク上のクラウドサーバーが管理するシステムを開示する。
【先行技術文献】
【特許文献】
【0003】
特開2022-063904号公報
【発明の概要】
【発明が解決しようとする課題】
【0004】
特許文献1記載の医療情報のような管理情報は、隔離ネットワーク上のデータベースで管理される場合がある。この場合、管理情報をデータベースに格納する構成としては、管理情報が印刷された印刷物をスキャナーで読み取り、スキャンデータから得られた管理情報をデータベースに格納する構成が考えられる。しかしながら、この構成では、印刷物の紛失やスキャナーで生じる重送などによって、データベースへの管理情報の格納漏れが生じ得る。
【課題を解決するための手段】
【0005】
上記課題を解決する一態様は、管理情報を管理する管理システムと、前記管理システムから取得した前記管理情報を印刷装置に印刷させる印刷システムと、前記管理情報が印刷された印刷物のスキャンデータから前記管理情報を取得し、外部ネットワークから隔離された隔離ネットワーク上のデータベースに、取得した前記管理情報を格納する管理装置と、を備え、前記印刷システムは、所定の順番規則に従った識別情報が印刷された前記印刷物を前記印刷装置に生成させ、前記管理装置は、前記印刷物のスキャンデータから前記識別情報を取得し、取得した前記識別情報に基づいて、前記データベースへの前記管理情報の格納漏れを通知する、情報管理システムである。
【0006】
上記課題を解決する別の一態様は、管理情報を管理する管理システムと、前記管理システムから取得した前記管理情報を印刷装置に印刷させる印刷システムと、が接続する外部ネットワークから隔離された隔離ネットワークに接続する管理装置であって、所定の順番規則に従った識別情報が印刷された印刷物のスキャンデータから前記識別情報を取得し、取得した前記識別情報に基づいて、前記隔離ネットワーク上のデータベースへの前記管理情報の格納漏れを通知する管理装置制御部を備える、管理装置である。
【0007】
上記課題を解決するさらに別の一態様は、管理情報を管理する管理システムと、前記管理システムから取得した前記管理情報を印刷装置に印刷させる印刷システムと、が接続する外部ネットワークから隔離された隔離ネットワークに接続する管理装置のプロセッサーに、所定の順番規則に従った識別情報が印刷された印刷物のスキャンデータから前記識別情報を取得させ、取得した前記識別情報に基づいて、前記隔離ネットワーク上のデータベースへの前記管理情報の格納漏れを通知させる、プログラムである。
【0008】
上記課題を解決するさらに別の一態様は、管理情報を管理する管理システムと外部ネットワークを介して接続し、前記管理システムから取得した前記管理情報を印刷装置に印刷させるサーバーであって、前記外部ネットワークから隔離された隔離ネットワークに接続する管理装置が、前記隔離ネットワーク上のデータベースへの前記管理情報の格納漏れを通知する際に取得する識別情報が印刷された印刷物を、前記印刷装置に印刷させるサーバー制御部を備え、前記印刷物に印刷される前記識別情報は、所定の順番規則に従った情報である、サーバーである。
【図面の簡単な説明】
【0009】
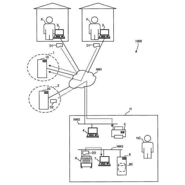
情報管理システムの構成を示す図。
問診管理サーバー、及び印刷サーバーの構成を示す図。
印刷画像の一例を示す図。
第2院内端末の構成を示す図。
情報管理システムの各部の動作を示すフローチャート。
情報管理システムの各部の動作を示すフローチャート。
紛失時間帯の推定を説明するための図。
通知画面の一例を示す図。
問診管理サーバー、及び印刷サーバーの構成を示す図。
情報管理システムの各部の動作を示すフローチャート。
【発明を実施するための形態】
【0010】
[1.第1実施形態]
[1-1.情報管理システムの構成]
まず、第1実施形態について説明する。
図1は、情報管理システム1000の構成を示す図である。
(【0011】以降は省略されています)
この特許をJ-PlatPat(特許庁公式サイト)で参照する
関連特許
セイコーエプソン株式会社
振動素子
12日前
セイコーエプソン株式会社
印刷装置
今日
セイコーエプソン株式会社
印刷装置
2日前
セイコーエプソン株式会社
印刷装置
2日前
セイコーエプソン株式会社
印刷装置
今日
セイコーエプソン株式会社
印刷装置
2日前
セイコーエプソン株式会社
印刷装置
2日前
セイコーエプソン株式会社
気体分離膜
2日前
セイコーエプソン株式会社
虚像表示装置
2日前
セイコーエプソン株式会社
画像読取装置
2日前
セイコーエプソン株式会社
液体吐出装置
2日前
セイコーエプソン株式会社
画像読取装置
6日前
セイコーエプソン株式会社
液体吐出ヘッド
2日前
セイコーエプソン株式会社
プロジェクター
5日前
セイコーエプソン株式会社
プロジェクター
6日前
セイコーエプソン株式会社
液体噴射ヘッド
12日前
セイコーエプソン株式会社
液体噴射ヘッド
12日前
セイコーエプソン株式会社
A/D変換回路
6日前
セイコーエプソン株式会社
電子制御式機械時計
今日
セイコーエプソン株式会社
支持装置及び印刷装置
12日前
セイコーエプソン株式会社
印刷装置及び印刷方法
12日前
セイコーエプソン株式会社
スクリーンの製造方法
2日前
セイコーエプソン株式会社
波長可変干渉フィルター
2日前
セイコーエプソン株式会社
三次元造形物の製造方法
2日前
セイコーエプソン株式会社
慣性センサーおよび車両
6日前
セイコーエプソン株式会社
媒体搬送装置、記録装置
12日前
セイコーエプソン株式会社
三次元造形物の製造方法
5日前
セイコーエプソン株式会社
制御装置および表示装置
5日前
セイコーエプソン株式会社
保持方法、及び加工方法
2日前
セイコーエプソン株式会社
治具、及び加工システム
2日前
セイコーエプソン株式会社
プロジェクターの設置方法
12日前
セイコーエプソン株式会社
搬送装置、及び画像形成装置
2日前
セイコーエプソン株式会社
電気光学装置および電子機器
12日前
セイコーエプソン株式会社
電気光学装置および電子機器
12日前
セイコーエプソン株式会社
インクジェットインク組成物
2日前
セイコーエプソン株式会社
電気光学装置および電子機器
2日前
続きを見る
他の特許を見る