TOP
|
特許
|
意匠
|
商標
特許ウォッチ
Twitter
他の特許を見る
10個以上の画像は省略されています。
公開番号
2025143795
公報種別
公開特許公報(A)
公開日
2025-10-02
出願番号
2024043234
出願日
2024-03-19
発明の名称
液体回収システム及び液体回収容器
出願人
セイコーエプソン株式会社
代理人
個人
,
個人
,
個人
主分類
B41J
2/175 20060101AFI20250925BHJP(印刷;線画機;タイプライター;スタンプ)
要約
【課題】液体収容容器内に残留する液体を適切かつ容易に回収できる液体回収システム及び液体回収容器を提供する。
【解決手段】液体回収システム10は、液体収容容器18と、液体回収容器80とを備える。液体収容容器18は、位置決め部73Aと、排出口部73とを備える。液体回収容器80は、回収口部85と、被位置決め部86と、を有する。回収口部85は、排出口部73と接続可能である。被位置決め部86は、位置決め部73Aを案内可能である。液体収容容器18は、位置決め部73Aが被位置決め部86に案内されることによって、液体回収容器80に対して排出口部73と回収口部85とを接続可能な位置に位置決めされる。この位置決めされた位置で排出口部73と回収口部85とが接続されることによって、液体収容容器18内の液体は、排出口部73と回収口部85との接続を通じて液体回収容器80に回収される。
【選択図】図8
特許請求の範囲
【請求項1】
液体収容容器と、液体回収容器とを備える液体回収システムであって、
前記液体収容容器は、
液体を吐出する液体吐出部を備える液体吐出装置において前記液体吐出部に液体を供給可能に前記液体吐出装置の取付対象に固定された状態で使用され、
前記取付対象に固定可能な固定部と、
前記取付対象に位置決め可能な位置決め部と、
液体を排出可能な排出口部と、を有し、
前記液体回収容器は、
前記液体収容容器の前記排出口部と接続可能な回収口部と、
前記液体収容容器の前記位置決め部を案内可能な被位置決め部と、を有し、
前記取付対象から前記固定部による固定を解除して取り外された前記液体収容容器は、前記位置決め部が前記被位置決め部に案内されることによって前記液体回収容器に対して前記排出口部と前記回収口部とを接続可能な位置に位置決めされ、
当該位置決めされた位置で前記排出口部と前記回収口部とが接続されることによって、前記液体収容容器内の液体を前記排出口部と前記回収口部との接続を通じて前記液体回収容器に回収することを特徴とする液体回収システム。
続きを表示(約 2,700 文字)
【請求項2】
請求項1に記載の液体回収システムにおいて、
前記固定部は、前記取付対象に対して係止により固定され、
前記液体回収容器は、
前記固定部と係止可能な被固定部を更に有し、
前記液体収容容器は、
前記位置決め部が前記被位置決め部に案内されることによって前記液体回収容器に対して前記排出口部と前記回収口部とを接続可能な位置に位置決めされ、
当該位置決めされた位置で前記排出口部と前記回収口部とが接続され、
前記固定部と前記被固定部との係止によって前記液体回収容器に対して前記排出口部と前記回収口部との接続状態を保持可能に固定されることを特徴とする液体回収システム。
【請求項3】
請求項1に記載の液体回収システムにおいて、
前記液体収容容器は、
前記取付対象に位置決めされる前記位置決め部としての第1位置決め部と、
前記第1位置決め部とは異なる第2位置決め部と、を有し、
前記第2位置決め部が前記被位置決め部に案内されることによって前記液体回収容器に対して前記排出口部と前記回収口部とを接続可能な位置に位置決めされることを特徴とする液体回収システム。
【請求項4】
請求項1に記載の液体回収システムにおいて、
前記液体収容容器は、前記固定部としての第1固定部とは異なる第2固定部を有し、
前記液体回収容器は、前記第2固定部と固定可能な被固定部を有し、
前記被固定部は、前記第2固定部と係止可能に構成され、
前記液体収容容器は、
前記位置決め部が前記被位置決め部に案内されることによって前記液体回収容器に対して前記排出口部と前記回収口部とを接続可能な位置に位置決めされ、
当該位置決めされた位置で前記排出口部と前記回収口部とが接続され、
前記第2固定部と前記被固定部との係止によって前記液体回収容器に対して前記排出口部と前記回収口部との接続状態を保持可能に固定されることを特徴とする液体回収システム。
【請求項5】
請求項4に記載の液体回収システムにおいて、
前記液体吐出装置は、前記液体吐出部及び前記液体収容容器を収容する筐体を備え、
前記液体収容容器は、前記取付対象としての前記筐体に固定可能な前記固定部と、液体を前記液体吐出部に供給する供給口部と、前記排出口部とを有し、
前記液体収容容器は、
前記位置決め部が前記被位置決め部に案内されることによって前記液体回収容器に対して前記排出口部と前記回収口部とを接続可能な位置に位置決めされ、当該位置決めされた位置で前記排出口部と前記回収口部とが接続され、前記第2固定部が前記被固定部に係止されることによって前記液体回収容器に対して前記排出口部と前記回収口部との接続状態を保持可能に固定されることを特徴とする液体回収システム。
【請求項6】
請求項1に記載の液体回収システムにおいて、
前記液体吐出装置は、前記液体吐出部を移動させるキャリッジと、前記液体収容容器、前記液体吐出部及び前記キャリッジを収容する筐体とを備え、
前記液体収容容器は、前記取付対象としての前記キャリッジに着脱可能に係止可能な前記固定部と、前記液体吐出部に液体を供給可能な供給口部と、を有し、
前記液体回収容器は、前記固定部と固定可能な被固定部を有し、
前記液体収容容器は、
前記位置決め部が前記被位置決め部に案内されることによって前記液体回収容器に対して前記供給口部と前記回収口部とを接続可能な位置に位置決めされ、
当該位置決めされた位置で前記供給口部が前記回収口部に接続され、
前記固定部と前記被固定部との係止により前記液体回収容器に対して前記供給口部と前記回収口部との接続状態を保持可能に固定されることを特徴とする液体回収システム。
【請求項7】
請求項1に記載の液体回収システムにおいて、
前記液体吐出装置は、前記液体吐出部を移動させるキャリッジと、前記液体収容容器、前記液体吐出部及び前記キャリッジを収容する筐体とを備え、
前記液体収容容器は、
前記取付対象としての前記筐体に固定される第1液体収容容器と、
前記取付対象としての前記キャリッジに固定される第2液体収容容器と、
を含み、
前記第2液体収容容器は、前記第1液体収容容器から供給される液体が移動する供給流路に接続されるとともに、前記キャリッジに係止可能な前記固定部と、前記液体吐出部に液体を供給する供給口部と、を有し、
前記供給口部が前記排出口部を兼ね、
前記液体回収容器は、前記第2液体収容容器の前記固定部と固定可能な被固定部を有し、
前記キャリッジから取り外された前記第2液体収容容器は、
前記位置決め部が前記被位置決め部に案内されることによって前記液体回収容器に対して前記供給口部と前記回収口部とを接続可能な位置に位置決めされ、
当該位置決めされた位置で前記供給口部が前記回収口部に接続され、
前記固定部と前記被固定部との係止によって前記液体回収容器に対して前記供給口部と前記回収口部との接続状態を保持可能に固定されることを特徴とする液体回収システム。
【請求項8】
請求項7に記載の液体回収システムにおいて、
前記第2液体収容容器は、前記供給流路を通じて前記第1液体収容容器と接続された状態で、前記液体回収容器に固定され、
前記第1液体収容容器内の液体が前記第2液体収容容器及び前記供給流路を通じて前記液体回収容器に回収されることを特徴とする液体回収システム。
【請求項9】
請求項1~請求項8のいずれか一項に記載の液体回収システムにおける前記液体回収容器であって、
前記液体収容容器が有する前記排出口部に接続可能な回収口部と、
前記液体収容容器が有する前記位置決め部を案内可能な被位置決め部と、を有し、
前記被位置決め部が前記位置決め部を案内することによって前記液体収容容器を前記液体回収容器に対して前記排出口部と前記回収口部とが接続可能な位置に位置決めし、
当該位置決めされた位置で前記排出口部と前記回収口部とが接続されることによって、前記液体収容容器内の液体を前記排出口部と前記回収口部との接続を通じて回収することを特徴とする液体回収容器。
発明の詳細な説明
【技術分野】
【0001】
本発明は、液体吐出部に液体を供給する液体収容容器と、液体収容容器に残留する液体を回収する液体回収容器とを備える液体回収システム及び液体回収容器に関する。
続きを表示(約 2,800 文字)
【背景技術】
【0002】
例えば、特許文献1には、液体吐出装置の一例として、インク等の液体を用紙等の媒体に吐出する液体吐出部を備えるインクジェット式印刷装置が開示されている。
この種の液体吐出装置は、液体吐出部に供給すべき液体を収容する液体収容容器を備える。液体収容容器としては、交換型のカートリッジタイプと、液体補充型のタンクタイプとが知られている。カートリッジタイプは、例えば、インクカートリッジ等が挙げられる。液体補充型のタンクタイプは、ユーザーが液体を補充可能な注入口部を有するインクタンク等の液体収容容器が挙げられる。
【0003】
ところで、液体吐出装置を廃棄する場合、カートリッジはリサイクルのため回収される場合が多い。仮にカートリッジごと液体吐出装置が廃棄されても、カートリッジは注入口を有しないので、カートリッジから液体が漏れる心配は少ない。
【0004】
これに対して、タンクタイプの液体収容容器である場合、液体収容容器が筐体又はキャリッジに固定されているので、液体収容容器にインク等の液体が残留したまま液体吐出装置が廃棄される場合が多い。しかし、廃棄作業において液体吐出装置が傾くなどしたときに、キャップが緩んでいたり外れたりしている注入口部から液体収容容器内の液体が漏れる可能性がある。漏れた液体は処理されることなく、環境汚染の原因になる場合がある。そのため、タンクタイプの液体収容容器を備える体吐出装置を廃棄する場合、ユーザーは、液体収容容器内の液体を回収した後、液体吐出装置を廃棄することが好ましい。また、液体吐出装置からタンクタイプの液体収容容器を仮に取り外して液体吐出装置を廃棄する場合、その取り外した液体収容容器を廃棄する際に、液体が漏れるなどの問題が同様にある。
【先行技術文献】
【特許文献】
【0005】
特開2018-69717号公報
【発明の概要】
【発明が解決しようとする課題】
【0006】
しかし、従来、液体補充型(タンクタイプ)の液体収容容器においては、液体吐出装置を廃棄する際に、液体収容容器内に残留する液体を排出又は回収することについては構成上配慮されていない。
【0007】
そのため、例えば、液体収容容器内の液体を排出又は回収するためには、液体収容容器の供給口部とチューブ等の供給流路との接続を切り離して供給口部から液体を抜き取ったり、液体補充用の注入口部から液体を抜き取ったりする必要がある。これらの供給口部や注入口部は、液体を抜き取ることが配慮された構造になっていないため、回収作業中に液体が溢れたり、インク等の液体が手指に付着して汚れたりする可能性がある。よって、液体吐出装置を廃棄する際に、液体収容容器内に残留する液体を排出又は回収しやすいことが要望されている。
【課題を解決するための手段】
【0008】
上記課題を解決する液体回収システムは、液体回収システムは、液体収容容器と、液体回収容器とを備える液体回収システムであって、前記液体収容容器は、液体を吐出する液体吐出部を備える液体吐出装置において前記液体吐出部に液体を供給可能に前記液体吐出装置の取付対象に固定された状態で使用され、前記取付対象に固定可能な固定部と、前記取付対象に位置決め可能な位置決め部と、液体を排出可能な排出口部と、を有し、前記液体回収容器は、前記液体収容容器の前記排出口部と接続可能な回収口部と、前記液体収容容器の前記位置決め部を案内可能な被位置決め部と、を有し、前記取付対象から取り外された前記液体収容容器は、前記位置決め部が前記被位置決め部に案内されることによって前記液体回収容器に対して前記排出口部と前記回収口部とを接続可能な位置に位置決めされ、当該位置決めされた位置で前記排出口部と前記回収口部とが接続されることによって、前記液体収容容器内の液体を前記排出口部と前記回収口部との接続を通じて前記液体回収容器に回収する。
【0009】
上記課題を解決する液体回収容器は、上記液体回収システムにおける前記液体回収容器であって、前記液体収容容器が有する前記排出口部に接続可能な回収口部と、前記液体収容容器が有する前記位置決め部を案内可能な被位置決め部と、を有し、前記被位置決め部が前記位置決め部を案内することによって前記液体収容容器を前記液体回収容器に対して前記排出口部と前記回収口部とが接続可能な位置に位置決めし、当該位置決めされた位置で前記排出口部と前記回収口部とが接続されることによって、前記液体収容容器内の液体を前記排出口部と前記回収口部との接続を通じて回収する。
【図面の簡単な説明】
【0010】
図1は、第1実施形態における液体吐出装置を示す斜視図である。
図2は、液体収容容器に液体を補充するときの液体吐出装置を示す斜視図である。
図3は、液体吐出装置の内部構成を示す模式側断面図である。
図4は、液体収容容器及び液体吐出部を示す模式側断面図である。
図5は、液体収容容器に液体を補充するときの液体収容容器及び液体吐出部を示す模式側断面図である。
図6は、収容部から液体収容容器を取り出す様子を示す模式斜視図である。
図7は、第1実施例の液体回収容器を示す模式側断面図である。
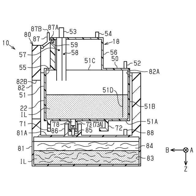
図8は、第1実施例の液体回収システムを示す模式側断面図である。
図9は、第2実施例の液体回収システムを示す模式側断面図である。
図10は、第3実施例の液体回収システムを示す模式側断面図である。
図11は、第2実施形態における液体吐出装置の内部構成を示す模式側断面図である。
図12は、液体収容容器が搭載された液体吐出部を示す模式斜視図である。
図13は、第4実施例の液体回収容器を示す模式側断面図である。
図14は、第4実施例の液体回収システムを示す模式側断面図である。
図15は、液体収容容器の位置決め部と液体回収容器の被位置決め部とを示す平断面図である。
図16は、第5実施例の液体回収システムを示す模式側断面図である。
図17は、第3実施形態における液体回収システムを示す模式側断面図である。
図18は、変更例における液体回収システムを示す模式側断面図である。
図19は、図18とは異なる変更例における液体回収システムを示す模式側断面図である。
【発明を実施するための形態】
(【0011】以降は省略されています)
この特許をJ-PlatPat(特許庁公式サイト)で参照する
関連特許
セイコーエプソン株式会社
印刷装置
3日前
セイコーエプソン株式会社
印刷装置
3日前
セイコーエプソン株式会社
ロボット
3日前
セイコーエプソン株式会社
印刷装置
4日前
セイコーエプソン株式会社
印刷装置
4日前
セイコーエプソン株式会社
印刷装置
3日前
セイコーエプソン株式会社
印刷装置
3日前
セイコーエプソン株式会社
印刷装置
5日前
セイコーエプソン株式会社
印刷装置
5日前
セイコーエプソン株式会社
微細化装置
4日前
セイコーエプソン株式会社
権限管理装置
3日前
セイコーエプソン株式会社
画像読取装置
7日前
セイコーエプソン株式会社
液体収容容器
3日前
セイコーエプソン株式会社
プロジェクター
3日前
セイコーエプソン株式会社
プロジェクター
3日前
セイコーエプソン株式会社
プロジェクター
3日前
セイコーエプソン株式会社
プロジェクター
3日前
セイコーエプソン株式会社
電子制御式機械時計
5日前
セイコーエプソン株式会社
垂直多関節ロボット
3日前
セイコーエプソン株式会社
栽培用培地の製造方法
4日前
セイコーエプソン株式会社
回路装置及び電子機器
3日前
セイコーエプソン株式会社
電気光学装置および電子機器
4日前
セイコーエプソン株式会社
インクジェットインク組成物
7日前
セイコーエプソン株式会社
液体回収装置及び液体回収容器
4日前
セイコーエプソン株式会社
偏心揺動装置及び射出成形装置
3日前
セイコーエプソン株式会社
レーザー干渉計および分光装置
4日前
セイコーエプソン株式会社
ヘッドユニット及び液体吐出装置
3日前
セイコーエプソン株式会社
制御方法およびロボットシステム
7日前
セイコーエプソン株式会社
液体噴射ヘッド及び液体噴射装置
3日前
セイコーエプソン株式会社
情報管理システム、及びサーバー
4日前
セイコーエプソン株式会社
位相補間回路、回路装置及び発振器
4日前
セイコーエプソン株式会社
液体容器、印刷装置、印刷システム
3日前
セイコーエプソン株式会社
ヘッドユニット、及び液体吐出装置
5日前
セイコーエプソン株式会社
液体回収システム及び液体回収容器
4日前
セイコーエプソン株式会社
ヘッドユニット、及び液体吐出装置
7日前
セイコーエプソン株式会社
プリントヘッド、及び液体吐出装置
7日前
続きを見る
他の特許を見る