TOP
|
特許
|
意匠
|
商標
特許ウォッチ
Twitter
他の特許を見る
10個以上の画像は省略されています。
公開番号
2025144307
公報種別
公開特許公報(A)
公開日
2025-10-02
出願番号
2024044027
出願日
2024-03-19
発明の名称
レーザー干渉計および分光装置
出願人
セイコーエプソン株式会社
代理人
個人
,
個人
,
個人
主分類
G01S
17/32 20200101AFI20250925BHJP(測定;試験)
要約
【課題】復調回路で演算処理される信号の周波数を低下させることができ、復調回路の低コスト化が可能なレーザー干渉計、および、かかるレーザー干渉計を備える分光装置を提供すること。
【解決手段】振動素子を用いてレーザー光に変調信号を付加する光変調器と、サンプル信号および変調信号を含むレーザー光の強度変化を検出し、レーザー光受光信号を出力する受光素子と、振動素子を源振として第1周波数の基準信号を発生させる信号発振部と、基準信号に基づいて、レーザー光受光信号からサンプル信号を復調する復調回路と、を備え、復調回路は、オフセットを除去するDCオフセット除去部と、基準信号の位相を調整する第1位相調整器と、レーザー光受光信号と基準信号とを乗算する第1乗算器と、第1フィルターと、第1乗算信号と基準信号とを乗算する第2乗算器と、第2フィルターと、位相を算出する位相算出器と、を有するレーザー干渉計。
【選択図】図1
特許請求の範囲
【請求項1】
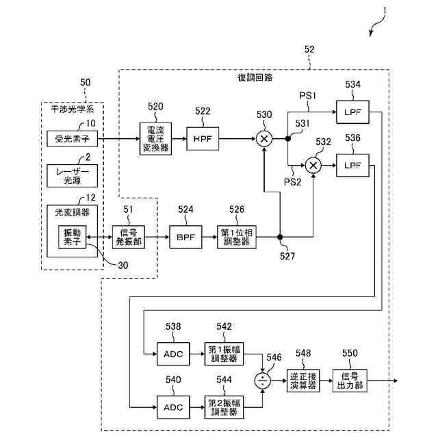
対象物にレーザー光を照射し、前記対象物を経た前記レーザー光を受光して、前記対象物の変位を取得するレーザー干渉計であって、
前記レーザー光を射出するレーザー光源と、
振動素子を備え、前記振動素子を用いて前記レーザー光に変調信号を付加する光変調器と、
前記対象物で付加されたサンプル信号および前記変調信号を含む前記レーザー光の強度変化を検出し、レーザー光受光信号を出力する受光素子と、
前記振動素子を源振として第1周波数の基準信号を発生させる信号発振部と、
前記基準信号に基づいて、前記レーザー光受光信号から前記サンプル信号を復調し、前記対象物の変位を取得する復調回路と、
を備え、
前記復調回路は、
前記レーザー光受光信号の直流成分のオフセットを除去するDCオフセット除去部と、
前記基準信号の位相を調整する第1位相調整器と、
前記DCオフセット除去部から出力された前記レーザー光受光信号と前記第1位相調整器から出力された前記基準信号とを乗算し、第1乗算信号を出力する第1乗算器と、
前記第1乗算信号が含む高周波成分を除去する第1フィルターと、
前記第1乗算信号と前記第1位相調整器から出力された前記基準信号とを乗算し、第2乗算信号を出力する第2乗算器と、
前記第2乗算信号が含む高周波成分を除去する第2フィルターと、
前記第1フィルターから出力された信号と前記第2フィルターから出力された信号とに基づいて、前記サンプル信号として前記対象物に由来する位相を算出する位相算出器と、
を有することを特徴とするレーザー干渉計。
続きを表示(約 1,400 文字)
【請求項2】
前記復調回路は、
前記信号発振部と前記第1位相調整器との間に設けられ、前記基準信号に含まれる前記第1周波数の成分を抽出する第3フィルター、
を有する請求項1に記載のレーザー干渉計。
【請求項3】
前記復調回路は、
前記第1フィルターから出力された前記第1乗算信号の振幅および前記第2フィルターから出力された前記第2乗算信号の振幅を互いに揃える振幅調整部、
を有する請求項1または2に記載のレーザー干渉計。
【請求項4】
前記DCオフセット除去部は、
前記変調信号の周波数の成分が通過するときの位相遅延量と、前記変調信号の2倍の周波数の成分が通過するときの位相遅延量と、の差をψ
1
とするとき、ψ
1
≦10[deg]を満たすように設定されている請求項1または2に記載のレーザー干渉計。
【請求項5】
前記DCオフセット除去部は、前記位相遅延量の差ψ
1
が、ψ
1
≦1[deg]を満たすように設定されている請求項4に記載のレーザー干渉計。
【請求項6】
前記復調回路は、
前記第1フィルターから出力された前記第1乗算信号の振幅および前記第2フィルターから出力された前記第2乗算信号の振幅の少なくとも一方を調整する振幅調整部、
を有し、
前記振幅調整部は、
前記第1乗算信号の振幅および前記第2乗算信号の振幅を互いに揃えるように調整する機能と、
前記位相遅延量の差ψ
1
が反映された振幅変化量を相殺するように、前記第2乗算信号の振幅を調整する機能と、
を有する請求項4に記載のレーザー干渉計。
【請求項7】
前記第1位相調整器は、前記レーザー光受光信号に含まれる前記変調信号の基本周波数成分と同相になるように、前記基準信号の位相を調整する請求項1に記載のレーザー干渉計。
【請求項8】
前記復調回路は、
前記信号発振部と前記第2乗算器との間に設けられ、前記レーザー光受光信号に含まれる前記変調信号と同相になる位相に合わせるとともに、前記同相となる位相から、前記第1周波数の成分が前記DCオフセット除去部の通過帯域における位相遅延量の差と同じ位相調整量が生じるように、前記基準信号の位相を調整する第2位相調整器、
を有する請求項7に記載のレーザー干渉計。
【請求項9】
前記復調回路は、
前記第1位相調整器と前記第2乗算器との間に設けられ、前記第1位相調整器から出力された前記基準信号の位相から、前記第1周波数の成分が前記DCオフセット除去部の通過帯域における位相遅延量の差と同じ位相調整量が生じるように、前記基準信号の位相を調整する請求項7または8に記載のレーザー干渉計。
【請求項10】
請求項1または2に記載のレーザー干渉計と、
移動ミラーを含む分光光学系を有し、試料に由来する分光スペクトル情報を生成する分光分析部と、
を備え、
前記レーザー干渉計は、前記移動ミラーの変位を計測し、
前記分光分析部は、前記レーザー干渉計による前記移動ミラーの変位の計測結果に基づいて、前記分光スペクトル情報を生成することを特徴とする分光装置。
発明の詳細な説明
【技術分野】
【0001】
本発明は、レーザー干渉計および分光装置に関するものである。
続きを表示(約 2,400 文字)
【背景技術】
【0002】
特許文献1には、動いている物の動きを把握するレーザードップラー計測装置が開示されている。レーザードップラー計測装置では、被測定物にレーザー光を照射し、ドップラーシフトを受けた散乱レーザー光に基づいて被測定物の動きを計測する。具体的には、光ヘテロダイン干渉法により、レーザー光の周波数のシフト量を得るとともに、このシフト量から、動いている物の速度や変位を求める。
【0003】
特許文献1に記載のレーザードップラー計測装置は、周波数シフター型の光変調器を備える。この光変調器は、厚みすべり振動する水晶AT振動子と、この振動子の変位方向に並設された複数の溝を含む回折格子と、を備える。この回折格子は、水晶AT振動子の振動方向と交差する方向に溝を有する。回折格子にレーザー光が照射されると、レーザー光が回折するとともに、レーザー光の周波数がシフトする。
【先行技術文献】
【特許文献】
【0004】
特開2020-165700号公報
【発明の概要】
【発明が解決しようとする課題】
【0005】
しかしながら、厚みすべり振動は、共振周波数が高い。このため、特許文献1に記載の光変調器によってレーザー光に重畳される変調信号の周波数も高くなる。そうすると、特許文献1に記載のレーザードップラー計測装置では、変調信号に対して演算処理を行う回路や、アナログ信号をデジタル信号に変換する回路を、高周波の信号に対応させる必要が生じる。その結果、これらの回路の高コスト化を招く。
【0006】
そこで、復調回路で演算処理される信号の周波数を低下させることができ、復調回路の低コスト化が可能なレーザー干渉計の実現が課題となっている。
【課題を解決するための手段】
【0007】
本発明の適用例に係るレーザー干渉計は、
対象物にレーザー光を照射し、前記対象物を経た前記レーザー光を受光して、前記対象物の変位を取得するレーザー干渉計であって、
前記レーザー光を射出するレーザー光源と、
振動素子を備え、前記振動素子を用いて前記レーザー光に変調信号を付加する光変調器と、
前記対象物で付加されたサンプル信号および前記変調信号を含む前記レーザー光の強度変化を検出し、レーザー光受光信号を出力する受光素子と、
前記振動素子を源振として第1周波数の基準信号を発生させる信号発振部と、
前記基準信号に基づいて、前記レーザー光受光信号から前記サンプル信号を復調し、前記対象物の変位を取得する復調回路と、
を備え、
前記復調回路は、
前記レーザー光受光信号の直流成分のオフセットを除去するDCオフセット除去部と、
前記基準信号の位相を調整する第1位相調整器と、
前記DCオフセット除去部から出力された前記レーザー光受光信号と前記第1位相調整器から出力された前記基準信号とを乗算し、第1乗算信号を出力する第1乗算器と、
前記第1乗算信号が含む高周波成分を除去する第1フィルターと、
前記第1乗算信号と前記第1位相調整器から出力された前記基準信号とを乗算し、第2乗算信号を出力する第2乗算器と、
前記第2乗算信号が含む高周波成分を除去する第2フィルターと、
前記第1フィルターから出力された信号と前記第2フィルターから出力された信号とに基づいて、前記サンプル信号として前記対象物に由来する位相を算出する位相算出器と、
を有する。
【0008】
本発明の適用例に係る分光装置は、
本発明の適用例に係るレーザー干渉計と、
移動ミラーを含む分光光学系を有し、試料に由来する分光スペクトル情報を生成する分光分析部と、
を備え、
前記レーザー干渉計は、前記移動ミラーの変位を計測し、
前記分光分析部は、前記レーザー干渉計による前記移動ミラーの変位の計測結果に基づいて、前記分光スペクトル情報を生成する。
【図面の簡単な説明】
【0009】
第1実施形態に係るレーザー干渉計を示す機能ブロック図である。
図1の干渉光学系を示す概略構成図である。
図2に示す光変調器の構成例を示す斜視図である。
図2に示す光変調器の他の構成例を示す斜視図である。
レーザー光受光信号の級数表示におけるDC項および高調波成分を表す項に含まれる係数を示す一覧表である。
図1に示すハイパスフィルターを通過する交流成分の位相遅延量の周波数特性の一例を示すグラフである。
図6に示す設計例において、位相遅延量の差ψ
1
が変位の計測精度に及ぼす影響をシミュレートした結果を示すグラフである。
図6に示す設計例において、位相遅延量の差ψ
1
が変位の正確度に及ぼす影響をシミュレートした結果を示すグラフである。
LCR回路で構成されたハイパスフィルターにおいて、段数を1段、2段および3段に変化させたときのゲインの周波数特性(帯域特性)、および、位相遅延量の周波数特性(位相特性)を計算して作成したグラフである。
第3実施形態に係るレーザー干渉計を示す機能ブロック図である。
第4実施形態に係るレーザー干渉計を示す機能ブロック図である。
第5実施形態に係る分光装置を示す機能ブロック図である。
【発明を実施するための形態】
【0010】
以下、本発明のレーザー干渉計および分光装置を添付図面に示す実施形態に基づいて詳細に説明する。
(【0011】以降は省略されています)
この特許をJ-PlatPat(特許庁公式サイト)で参照する
関連特許
セイコーエプソン株式会社
印刷装置
7日前
セイコーエプソン株式会社
印刷装置
4日前
セイコーエプソン株式会社
印刷装置
3日前
セイコーエプソン株式会社
印刷装置
7日前
セイコーエプソン株式会社
印刷装置
7日前
セイコーエプソン株式会社
印刷装置
5日前
セイコーエプソン株式会社
印刷装置
7日前
セイコーエプソン株式会社
印刷装置
4日前
セイコーエプソン株式会社
印刷装置
3日前
セイコーエプソン株式会社
ロボット
3日前
セイコーエプソン株式会社
印刷装置
5日前
セイコーエプソン株式会社
振動素子
17日前
セイコーエプソン株式会社
印刷装置
3日前
セイコーエプソン株式会社
印刷装置
3日前
セイコーエプソン株式会社
気体分離膜
7日前
セイコーエプソン株式会社
微細化装置
4日前
セイコーエプソン株式会社
虚像表示装置
7日前
セイコーエプソン株式会社
液体吐出装置
7日前
セイコーエプソン株式会社
権限管理装置
3日前
セイコーエプソン株式会社
画像読取装置
7日前
セイコーエプソン株式会社
画像読取装置
11日前
セイコーエプソン株式会社
液体収容容器
3日前
セイコーエプソン株式会社
プロジェクター
3日前
セイコーエプソン株式会社
プロジェクター
3日前
セイコーエプソン株式会社
プロジェクター
10日前
セイコーエプソン株式会社
プロジェクター
11日前
セイコーエプソン株式会社
A/D変換回路
11日前
セイコーエプソン株式会社
液体噴射ヘッド
17日前
セイコーエプソン株式会社
液体噴射ヘッド
17日前
セイコーエプソン株式会社
プロジェクター
3日前
セイコーエプソン株式会社
液体吐出ヘッド
7日前
セイコーエプソン株式会社
プロジェクター
3日前
セイコーエプソン株式会社
電子制御式機械時計
5日前
セイコーエプソン株式会社
垂直多関節ロボット
3日前
セイコーエプソン株式会社
栽培用培地の製造方法
4日前
セイコーエプソン株式会社
スクリーンの製造方法
7日前
続きを見る
他の特許を見る