TOP
|
特許
|
意匠
|
商標
特許ウォッチ
Twitter
他の特許を見る
公開番号
2025142633
公報種別
公開特許公報(A)
公開日
2025-10-01
出願番号
2024042096
出願日
2024-03-18
発明の名称
蓄電装置の製造方法
出願人
トヨタ自動車株式会社
代理人
個人
主分類
H01M
50/204 20210101AFI20250924BHJP(基本的電気素子)
要約
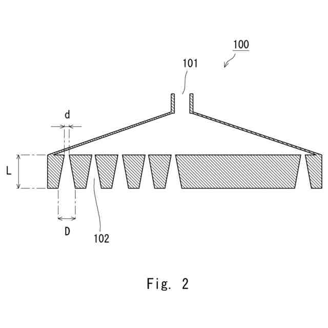
【課題】圧縮荷重を低減できる蓄電装置の製造方法を提供すること。
【解決手段】本開示にかかる蓄電装置の製造方法は、板状の電池モジュールと板状の冷却器とを備えた蓄電装置の製造方法であって、電池モジュール又は冷却器の上に、複数のノズルを備えた塗布装置を用いて接着剤を直線状かつ平行に塗布してビードを形成する工程と、電池モジュールと冷却器とを積層する工程と、を有し、塗布装置が備える複数のノズルはそれぞれ接着剤の入口穴と出口穴とを備え、入口穴の内径は、出口穴の内径よりも小さく、出口穴の内径は、ビードの径と同じであり、ノズルの長さは、50mm以上である。
【選択図】図2
特許請求の範囲
【請求項1】
板状の電池モジュールと板状の冷却器とを備えた蓄電装置の製造方法であって、
前記電池モジュール又は前記冷却器の上に、複数のノズルを備えた塗布装置を用いて接着剤を直線状かつ平行に塗布してビードを形成する工程と、
前記電池モジュールと前記冷却器とを積層する工程と、を有し、
前記塗布装置が備える複数の前記ノズルはそれぞれ接着剤の入口穴と出口穴とを備え、
前記入口穴の内径は、前記出口穴の内径よりも小さく、
前記出口穴の内径は、前記ビードの径と同じであり、
前記ノズルの長さは、50mm以上である、
蓄電装置の製造方法。
続きを表示(約 250 文字)
【請求項2】
前記入口穴の内径は、前記出口穴の内径の40%である、
請求項1に記載の蓄電装置の製造方法。
【請求項3】
前記接着剤は、熱伝導材及び導電性接着剤の少なくとも2種類であり、
前記熱伝導材及び前記導電性接着剤は、いずれも金属フィラーが含有されている、
請求項1に記載の蓄電装置の製造方法。
【請求項4】
前記熱伝導材及び前記導電性接着剤の粘度は、いずれも400Pa・sである、
請求項3に記載の蓄電装置の製造方法。
発明の詳細な説明
【技術分野】
【0001】
本開示は、蓄電装置の製造方法に関する。
続きを表示(約 1,100 文字)
【背景技術】
【0002】
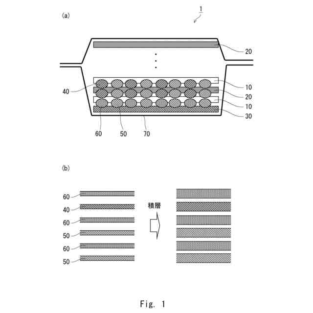
車載等に使用される大型バイポーラ電池は、電池モジュール、冷却器、集電板、通電板を備えており、これらの部品は接着剤を塗布することにより積層される。
【0003】
また、特許文献1には、複数流路から均一な流速にて接着剤、電子材料等の液状物質を吐出する方法が開示されている。
【先行技術文献】
【特許文献】
【0004】
特開2005-118779号公報
【発明の概要】
【発明が解決しようとする課題】
【0005】
上述の大型バイポーラ電池の積層には、複数種類の接着剤が使用され、いずれの接着剤も高い粘度を有することから、塗布後に高い圧縮荷重が生じる。
【0006】
圧縮荷重を低減するためには、細いビードにて複数本に分けて接着剤を塗布することが好ましい。一方で、隣り合うビードは圧縮時に接触しないようする必要があるため、精度よく塗布できるノズルが必要となる。
【0007】
高い粘度を有する接着剤に特許文献1に開示される吐出方法を適用すると、吐出した接着剤が合流して一体化し、ビードが太くなるため、圧縮荷重が高くなる課題が生じる。また、接着剤の粘度が高いため、ノズル内圧が高くなり、より頑丈な塗布装置が必要となる。
【0008】
本開示は、このような課題を解決するためになされたものであり、圧縮荷重を低減できる蓄電装置の製造方法を提供することを目的とする。
【課題を解決するための手段】
【0009】
本開示にかかる蓄電装置の製造方法は、板状の電池モジュールと板状の冷却器とを備えた蓄電装置の製造方法であって、前記電池モジュール又は前記冷却器の上に、複数のノズルを備えた塗布装置を用いて接着剤を直線状かつ平行に塗布してビードを形成する工程と、前記電池モジュールと前記冷却器とを積層する工程と、を有し、前記塗布装置が備える複数の前記ノズルはそれぞれ接着剤の入口穴と出口穴とを備え、前記入口穴の内径は、前記出口穴の内径よりも小さく、前記出口穴の内径は、前記ビードの径と同じであり、前記ノズルの長さは、50mm以上である。これにより、圧縮荷重を低減できる蓄電装置の製造方法を提供することができる。
【0010】
また、前記入口穴の内径は、前記出口穴の内径の40%であってもよい。これにより、圧縮荷重を低減できる蓄電装置の製造方法を提供することができる。
(【0011】以降は省略されています)
この特許をJ-PlatPat(特許庁公式サイト)で参照する
関連特許
個人
安全なNAS電池
28日前
東レ株式会社
多孔質炭素シート
23日前
日本発條株式会社
積層体
4日前
エイブリック株式会社
半導体装置
25日前
ローム株式会社
半導体装置
今日
個人
防雪防塵カバー
4日前
ローム株式会社
半導体装置
2日前
ローム株式会社
半導体装置
2日前
ローム株式会社
半導体装置
2日前
ローム株式会社
半導体装置
23日前
エイブリック株式会社
半導体装置
25日前
キヤノン株式会社
電子機器
23日前
株式会社ティラド
面接触型熱交換器
15日前
株式会社ホロン
冷陰極電子源
今日
太陽誘電株式会社
全固体電池
今日
ニチコン株式会社
コンデンサ
16日前
株式会社GSユアサ
蓄電装置
4日前
個人
半導体パッケージ用ガラス基板
3日前
東レ株式会社
ガス拡散層の製造方法
23日前
ニチコン株式会社
コンデンサ
16日前
株式会社GSユアサ
蓄電装置
今日
日本特殊陶業株式会社
保持装置
今日
株式会社ヨコオ
コネクタ
25日前
ローム株式会社
電子装置
4日前
日本特殊陶業株式会社
保持装置
今日
トヨタ自動車株式会社
二次電池
4日前
日本特殊陶業株式会社
保持装置
1か月前
日本特殊陶業株式会社
保持装置
4日前
日本特殊陶業株式会社
保持装置
2日前
マクセル株式会社
配列用マスク
15日前
TDK株式会社
電子部品
今日
住友電装株式会社
コネクタ
4日前
矢崎総業株式会社
コネクタ
7日前
トヨタ自動車株式会社
電池パック
8日前
トヨタ自動車株式会社
電池パック
8日前
個人
多層樹脂シート電池の電流制限方法
14日前
続きを見る
他の特許を見る