TOP
|
特許
|
意匠
|
商標
特許ウォッチ
Twitter
他の特許を見る
公開番号
2025142702
公報種別
公開特許公報(A)
公開日
2025-10-01
出願番号
2024042212
出願日
2024-03-18
発明の名称
異常検出システム
出願人
トヨタ自動車株式会社
代理人
弁理士法人深見特許事務所
主分類
H02J
7/00 20060101AFI20250924BHJP(電力の発電,変換,配電)
要約
【課題】蓄電モジュールの車両への接続不良を容易に検出することが可能な異常検出システムを提供する。
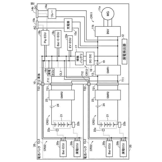
【解決手段】異常検出システム1は、車両100と、異常検出装置200とを備える。車体410は、電流センサ19(第1センサ)を含む。複数の電池パック420(蓄電モジュール)の各々は、電流センサ24(第2センサ)を含む。異常検出装置500は、複数の電池パック420の各々の電流センサ24の検出値の総和と、電流センサ19の検出値との差分に基づく異常判定と、複数の電池パック420の各々の電流センサ24の検出値同士の偏差に基づく異常判定とを行う。
【選択図】図3
特許請求の範囲
【請求項1】
車体と、前記車体に交換可能に取り付けられるとともに互いに電気的に並列に接続された複数の蓄電モジュールと、を含む車両と、
前記車両における電気的な異常を検出する異常検出装置と、を備え、
前記車体は、前記複数の蓄電モジュールとの間において入出力される電流値を検出する第1センサを含み、
前記複数の蓄電モジュールの各々は、前記車体との間において入出力される電流値を検出する第2センサを含み、
前記異常検出装置は、
前記複数の蓄電モジュールの各々の前記第2センサの検出値の総和と、前記第1センサの検出値との差分に基づく第1異常判定と、
前記複数の蓄電モジュールの各々の前記第2センサの検出値同士の偏差に基づく第2異常判定と、を行う、異常検出システム。
続きを表示(約 960 文字)
【請求項2】
車体と、前記車体に交換可能に取り付けられるとともに電気的に直列に接続された複数の蓄電モジュールと、を含む車両と、
前記車両における電気的な異常を検出する異常検出装置と、を備え、
前記車体は、
第1回路と、
前記第1回路の電圧値を検出する第1センサとを含み、
前記複数の蓄電モジュールは、前記第1回路と電気的に並列に接続されており、
前記複数の蓄電モジュールの各々は、
第2回路と、
前記第2回路の電圧値を検出する第2センサとを含み、
前記異常検出装置は、
前記複数の蓄電モジュールの各々の前記第2センサの検出値の総和と、前記第1センサの検出値との差分に基づく第1異常判定と、
前記複数の蓄電モジュールの各々の前記第2センサの検出値同士の偏差に基づく第2異常判定と、を行う、異常検出システム。
【請求項3】
前記異常検出装置は、
前記第1異常判定における前記差分が第1閾値よりも大きい場合に、前記第1センサおよび前記第2センサのいずれかに異常があると判定し、
前記第1異常判定において前記差分が前記第1閾値以下であることが検出された後、前記第2異常判定における前記偏差が第2閾値よりも大きい場合に、前記複数の蓄電モジュールのいずれかと前記車体との間における接続不良があると判定する、請求項1または2に記載の異常検出システム。
【請求項4】
前記異常検出装置は、前記第1異常判定において前記差分が前記第1閾値よりも大きいことが検出された後、
前記第2異常判定における前記偏差が第3閾値よりも大きい場合に、前記複数の蓄電モジュールのいずれかの前記第2センサに異常があると判定し、
前記偏差が前記第2閾値以下の場合に、前記第1センサに異常があると判定する、請求項3に記載の異常検出システム。
【請求項5】
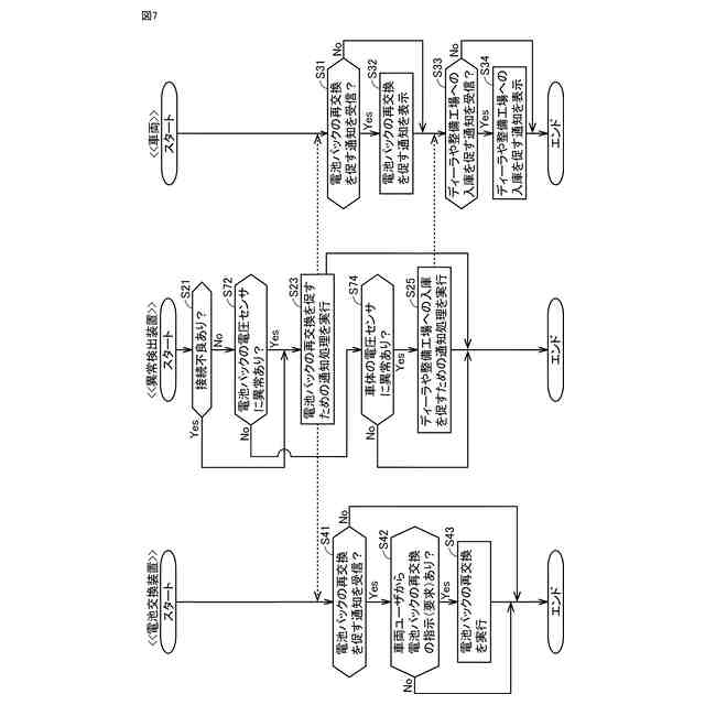
前記異常検出装置は、前記第1異常判定および前記第2異常判定によって前記第2センサに異常があると判定された場合に、前記複数の蓄電モジュールの再交換を前記車両のユーザに促すための通知処理を実行する、請求項1または2に記載の異常検出システム。
発明の詳細な説明
【技術分野】
【0001】
本開示は、異常検出システムに関する。
続きを表示(約 2,000 文字)
【背景技術】
【0002】
特開2022-114896号公報(特許文献1)には、交換可能な複数の電池モジュールを搭載する車両が開示されている。
【先行技術文献】
【特許文献】
【0003】
特開2022-114896号公報
【発明の概要】
【発明が解決しようとする課題】
【0004】
上記特許文献1に記載されている車両では、電池モジュールと車体との接続不良に起因して負荷から見た電池モジュールの抵抗値が上昇することが考えられる。この場合、抵抗値の上昇に起因して車両に設けられるセンサ(電流センサ等)の検出値が変化する。この場合、上記検出値の変化が接続不良によるものか、センサそのものの異常によるものかを判別することが困難である。
【0005】
本開示は、上記課題を解決するためになされたものであり、その目的は、蓄電モジュールの車両への接続不良を容易に検出することが可能な異常検出システムを提供することである。
【課題を解決するための手段】
【0006】
本開示の第1の局面に係る異常検出システムは、車体と、車体に交換可能に取り付けられるとともに互いに電気的に並列に接続された複数の蓄電モジュールと、を含む車両を備える。異常検出システムは、車両における電気的な異常を検出する異常検出装置を備える。車体は、複数の蓄電モジュールとの間において入出力される電流値を検出する第1センサを含み、複数の蓄電モジュールの各々は、車体との間において入出力される電流値を検出する第2センサを含む。異常検出装置は、複数の蓄電モジュールの各々の第2センサの検出値の総和と、第1センサの検出値との差分に基づく第1異常判定を行う。異常検出装置は、複数の蓄電モジュールの各々の第2センサの検出値同士の偏差に基づく第2異常判定を行う。
【0007】
本開示の第2の局面に係る異常検出システムは、車体と、車体に交換可能に取り付けられるとともに電気的に直列に接続された複数の蓄電モジュールと、を含む車両を備える。異常検出システムは、車両における電気的な異常を検出する異常検出装置を備える。車体は、第1回路と、第1回路の電圧値を検出する第1センサとを含み、複数の蓄電モジュールの各々は、電圧値を検出する第2センサを含む。複数の蓄電モジュールは、第1回路と電気的に並列に接続されている。複数の蓄電モジュールの各々は、第2回路と、第2回路の電圧値を検出する第2センサとを含む。異常検出装置は、複数の蓄電モジュールの各々の第2センサの検出値の総和と、第1センサの検出値との差分に基づく第1異常判定を行う。異常検出装置は、複数の蓄電モジュールの各々の第2センサの検出値同士の偏差に基づく第2異常判定を行う。
【0008】
本開示の第1および第2の局面に係る異常検出システムでは、上記のように、第1異常判定と第2異常判定とが行われる。これにより、第1センサに異常がある状態と、第2センサに異常がある場合と、蓄電モジュールの接続不良がある状態と、異常がない正常状態とを容易に判別することができる。その結果、蓄電モジュールの車両への接続不良を容易に検出することができる。
【0009】
異常検出装置は、第1異常判定における上記差分が第1閾値よりも大きい場合に、第1センサおよび第2センサのいずれかに異常があると判定し、第1異常判定において上記差分が第1閾値以下であることが検出された後、第2異常判定における上記偏差が第2閾値よりも大きい場合に、複数の蓄電モジュールのいずれかと車体との間における接続不良があると判定してもよい。このような構成により、第1異常判定によって、第1センサおよび第2センサのいずれかに異常があるか否かを容易に判別することができる。また、第1異常判定によって第1センサおよび第2センサのいずれにも異常がないと判別された後に第2異常判定が行われることによって、蓄電モジュールの接続不良が生じているか否かを容易に判別することができる。
【0010】
異常検出装置は、第1異常判定において上記差分が第1閾値よりも大きいことが検出された後、第2異常判定における上記偏差が第3閾値よりも大きい場合に、複数の蓄電モジュールのいずれかの第2センサに異常があると判定し、上記偏差が第2閾値以下の場合に、第1センサに異常があると判定してもよい。このような構成により、第1異常判定によって第1センサおよび第2センサのいずれかに異常がある判定された後に第2異常判定が行われることによって、第1センサおよび第2センサのいずれに異常が生じているかを容易に判別することができる。
(【0011】以降は省略されています)
この特許をJ-PlatPat(特許庁公式サイト)で参照する
関連特許
トヨタ自動車株式会社
電極積層体
今日
トヨタ自動車株式会社
車両の制御装置
今日
トヨタ自動車株式会社
車両の制御装置
今日
トヨタ自動車株式会社
車載用制御装置
今日
株式会社デンソー
トレンチゲート型の電界効果トランジスタの製造方法
今日
個人
電源装置
14日前
個人
永久磁石モーター
1か月前
個人
バッテリ内蔵直流電源
13日前
株式会社FUJI
制御盤
3日前
オムロン株式会社
電源回路
7日前
オムロン株式会社
電源回路
7日前
オムロン株式会社
電源回路
7日前
個人
移動体を用いる駐車場発電所
1か月前
トヨタ自動車株式会社
回転子
14日前
日産自動車株式会社
電子機器
24日前
ニデック株式会社
モータの制御方法
21日前
エイブリック株式会社
バッテリ装置
1か月前
大豊工業株式会社
モータ
13日前
東京応化工業株式会社
発電装置
7日前
井関農機株式会社
充電システム
24日前
トヨタ自動車株式会社
溶接装置
27日前
ミサワホーム株式会社
居住設備
3日前
三菱ケミカル株式会社
電池
1か月前
株式会社リコー
拡張アンテナ装置
6日前
愛知電機株式会社
巻線方法および巻線装置
29日前
ユタカ電業株式会社
ケーブルダクト
3日前
富士電子工業株式会社
電力変換装置
15日前
トヨタ自動車株式会社
ロータ
1日前
日産自動車株式会社
ステータ
今日
NTN株式会社
モータユニット
3日前
株式会社アイシン
直流回転電機
27日前
株式会社正興電機製作所
地絡確認装置
6日前
株式会社ダイヘン
電力変換装置
29日前
株式会社ミツバ
巻線装置
6日前
株式会社ダイヘン
電力管理装置
22日前
株式会社大林組
可搬式充電設備
今日
続きを見る
他の特許を見る