TOP
|
特許
|
意匠
|
商標
特許ウォッチ
Twitter
他の特許を見る
公開番号
2025142791
公報種別
公開特許公報(A)
公開日
2025-10-01
出願番号
2024042352
出願日
2024-03-18
発明の名称
電流検出装置
出願人
矢崎総業株式会社
代理人
弁理士法人栄光事務所
主分類
G01R
19/00 20060101AFI20250924BHJP(測定;試験)
要約
【課題】シャント抵抗での発熱を抑えつつ検出精度向上を図った電流検出装置を提供する。
【解決手段】複数のシャント抵抗Rs1,Rs2が、電流経路R上に互いに並列接続される。複数のスイッチSW1,SW2が、複数のシャント抵抗Rs1,Rs2各々に対応して設けられ、オフすると対応するシャント抵抗Rs1,Rs2のみへの電流供給を遮断する。電圧検出部21が、複数のシャント抵抗Rs1,Rs2の両端電圧を検出する。制御部3は、通常時は複数のスイッチSW1,SW2を全てオンし、電流検出時にスイッチSW2のみをオフし、スイッチSW1のオンを継続させる。制御部3は、スイッチSW2のみをオフし、スイッチSW1のオンを継続させている間に、電圧検出部21による検出値Vsに基づいて電流経路Rに流れる電流を検出する。
【選択図】図1
特許請求の範囲
【請求項1】
電流経路上に互いに並列接続された複数のシャント抵抗と、
複数の前記シャント抵抗各々に対応して設けられ、オフすると対応する前記シャント抵抗のみへの電流供給を遮断する複数のスイッチと、
複数の前記シャント抵抗の両端電圧を検出する電圧検出部と、
通常時は複数の前記スイッチを全てオンし、電流検出時に複数の前記スイッチの少なくとも1つ以上をオフし、少なくとも1つ以上のオンを継続させるスイッチ制御部と、
前記スイッチ制御部により前記スイッチの少なくとも1つ以上がオフされ、少なくとも1つ以上のオンが継続されている間に、前記電圧検出部により検出された複数の前記シャント抵抗の両端電圧に基づいて前記電流経路に流れる電流を検出する電流検出部と、を備えた、
電流検出装置。
続きを表示(約 390 文字)
【請求項2】
請求項1に記載の電流検出装置において、
複数の前記スイッチは各々、半導体スイッチから構成され、
複数の前記シャント抵抗は、前記半導体スイッチのオン抵抗から構成された、
電流検出装置。
【請求項3】
請求項1に記載の電流検出装置において、
前記電流経路は、電源の出力電流が流れる経路であり、
前記スイッチ制御部は、前記電源の出力電圧の過電圧が検出されると、前記電源の前記出力電流を検出するために複数の前記スイッチの少なくとも1つ以上をオフし、少なくとも1つ以上のオンを継続させる、
電流検出装置。
【請求項4】
請求項1に記載の電流検出装置において、
前記スイッチ制御部は、前記電流検出時に検出したい電流範囲に応じてオフする前記スイッチの数を調整する、
電流検出装置。
発明の詳細な説明
【技術分野】
【0001】
本発明は、電流検出装置、に関する。
続きを表示(約 1,600 文字)
【背景技術】
【0002】
一般的に電流を検出する際は、シャント抵抗に電流を流して、その電圧降下から電流値を算出する(特許文献1)。電気自動車などに搭載される電流経路には、負荷の使用状況などによって大電流から小電流に亘って電流変動が生じる。この場合、小電流の電流検出精度を高めるために大きな抵抗値のシャント抵抗を用いると、大電流が流れたときにシャント抵抗が大きく発熱してしまう。また、大電流時の発熱を抑えるために小さな抵抗値のシャント抵抗を用いると、小電流を検出する際、シャント抵抗での電圧降下が小さくなり、電流検出精度が悪くなる、という課題があった。
【先行技術文献】
【特許文献】
【0003】
特開2022-132021号公報
【発明の概要】
【発明が解決しようとする課題】
【0004】
本発明は、上述した事情に鑑みてなされたものであり、その目的は、シャント抵抗での発熱を抑えつつ検出精度向上を図った電流検出装置を提供することにある。
【課題を解決するための手段】
【0005】
前述した目的を達成するために、本発明に係る電流検出装置は、下記を特徴としている。
電流経路上に互いに並列接続された複数のシャント抵抗と、
複数の前記シャント抵抗各々に対応して設けられ、オフすると対応する前記シャント抵抗のみへの電流供給を遮断する複数のスイッチと、
複数の前記シャント抵抗の両端電圧を検出する電圧検出部と、
通常時は複数の前記スイッチを全てオンし、電流検出時に複数の前記スイッチの少なくとも1つ以上をオフし、少なくとも1つ以上のオンを継続させるスイッチ制御部と、
前記スイッチ制御部により前記スイッチの少なくとも1つ以上がオフされ、少なくとも1つ以上のオンが継続されている間に、前記電圧検出部により検出された複数の前記シャント抵抗の両端電圧に基づいて前記電流経路に流れる電流を検出する電流検出部と、を備えた、
電流検出装置であること。
【発明の効果】
【0006】
本発明に係る電流検出装置によれば、シャント抵抗での発熱を抑えつつ検出精度向上を図ることができる、との効果を奏する。
【0007】
以上、本発明について簡潔に説明した。更に、以下に説明される発明を実施するための形態(以下、「実施形態」という。)を添付の図面を参照して通読することにより、本発明の詳細は更に明確化されるであろう。
【図面の簡単な説明】
【0008】
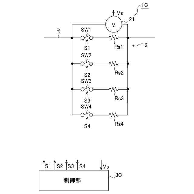
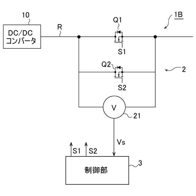
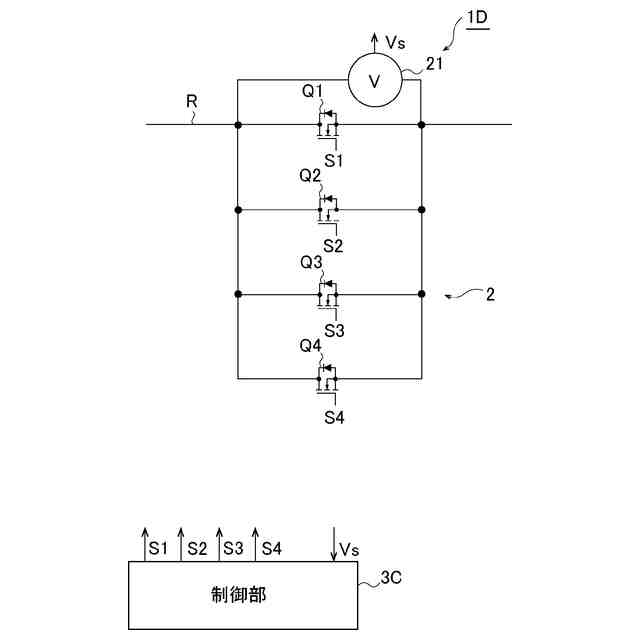
図1は、第1実施形態における本発明の電流検出装置を示す回路図である。
図2は、図1に示す制御部の動作を説明するためのフローチャートである。
図3は、第2実施形態における本発明の電流検出装置を示す回路図である。
図4は、第3実施形態における本発明の電流検出装置を示す回路図である。
図5は、第4実施形態における本発明の電流検出装置を示す回路図である。
【発明を実施するための形態】
【0009】
本発明に関する具体的な実施形態について、各図を参照しながら以下に説明する。
【0010】
(第1実施形態)
まず、第1実施形態の電流検出装置について図1を参照して説明する。図1に示す電流検出装置1は、電流経路Rに流れる電流を検出する装置である。本実施形態において、電流経路Rは、電源部としてのDC/DCコンバータ10の出力電流が流れる経路である。DC/DCコンバータ10は、車両に搭載された高圧バッテリ(図示せず)の電圧を変換する変換器である。
(【0011】以降は省略されています)
この特許をJ-PlatPat(特許庁公式サイト)で参照する
関連特許
矢崎総業株式会社
照明灯
27日前
矢崎総業株式会社
コネクタ
27日前
矢崎総業株式会社
コネクタ
12日前
矢崎総業株式会社
コネクタ
11日前
矢崎総業株式会社
コネクタ
20日前
矢崎総業株式会社
コネクタ
20日前
矢崎総業株式会社
コネクタ
6日前
矢崎総業株式会社
コネクタ
6日前
矢崎総業株式会社
コネクタ
8日前
矢崎総業株式会社
コネクタ
18日前
矢崎総業株式会社
止水部材
4日前
矢崎総業株式会社
コネクタ
27日前
矢崎総業株式会社
照明構造
4日前
矢崎総業株式会社
コネクタ
4日前
矢崎総業株式会社
コネクタ
4日前
矢崎総業株式会社
ゴムブーツ
4日前
矢崎総業株式会社
カバー構造
27日前
矢崎総業株式会社
プロテクタ
4日前
矢崎総業株式会社
電気接続箱
11日前
矢崎総業株式会社
ドアハーネス
12日前
矢崎総業株式会社
電流検出装置
6日前
矢崎総業株式会社
シートハーネス
12日前
矢崎総業株式会社
フロアハーネス
12日前
矢崎総業株式会社
ワイヤハーネス
11日前
矢崎総業株式会社
バンドクランプ
11日前
矢崎総業株式会社
ワイヤハーネス
8日前
矢崎総業株式会社
ワイヤハーネス
8日前
矢崎総業株式会社
ワイヤハーネス
8日前
矢崎総業株式会社
ワイヤハーネス
8日前
矢崎総業株式会社
コネクタユニット
18日前
矢崎総業株式会社
コネクタユニット
5日前
矢崎総業株式会社
電子制御ユニット
12日前
矢崎総業株式会社
電子制御ユニット
12日前
矢崎総業株式会社
ゴムブーツ、ワイヤハーネス
19日前
矢崎総業株式会社
電線保護材、ワイヤハーネス
19日前
矢崎総業株式会社
コネクタおよびワイヤハーネス
4日前
続きを見る
他の特許を見る