TOP
|
特許
|
意匠
|
商標
特許ウォッチ
Twitter
他の特許を見る
10個以上の画像は省略されています。
公開番号
2025140467
公報種別
公開特許公報(A)
公開日
2025-09-29
出願番号
2024039893
出願日
2024-03-14
発明の名称
ワイヤハーネス
出願人
矢崎総業株式会社
代理人
弁理士法人虎ノ門知的財産事務所
主分類
H02G
3/04 20060101AFI20250919BHJP(電力の発電,変換,配電)
要約
【課題】U字形状に形成されたフラット配索材を直線形状に長尺化できるワイヤハーネスを提供する。
【解決手段】ワイヤハーネス1は、U字形状に形成されたフラット配索材100と、第一の部分110を保持する第一ケース10と、第二の部分120を保持する第二ケース20と、回転構造60と、を備え、第一ケースおよび第二ケースは、フラット配索材の形状を直線形状として互いに係合可能であり、直線形状のフラット配索材は、第一折り返し部150および第二折り返し部を有し、第一折り返し部では、第一の部分の延在方向Xに沿った折り返し線に沿って中間部が折り返され、第二折り返し部では、延在方向と直交する折り返し線に沿って第二の部分が折り返され、回転構造は、第一ケースおよび第二ケースを相対回転させることにより第二の部分に第二折り返し部を形成するように構成される。
【選択図】図9
特許請求の範囲
【請求項1】
直線状の第一の部分と、直線状の第二の部分と、前記第一の部分の端部と前記第二の部分の端部とをつなぐ中間部と、を有するU字形状に形成されたフラット配索材と、
前記第一の部分を保持する第一ケースと、
前記第二の部分を保持する第二ケースと、
前記第一ケースおよび前記第二ケースを相対回転させる回転構造と、
を備え、
前記第一ケースおよび前記第二ケースは、前記フラット配索材の形状を直線形状として互いに係合可能であり、
直線形状の前記フラット配索材では、平面視において前記第一の部分の延長線上に前記第二の部分が延在し、
直線形状の前記フラット配索材は、第一折り返し部および第二折り返し部を有し、
前記第一折り返し部では、前記第一の部分が延在する延在方向に沿った折り返し線に沿って前記中間部が折り返され、
前記第二折り返し部では、前記第二の部分の一部を前記中間部と重ねるように、前記延在方向と直交する折り返し線に沿って前記第二の部分が折り返され、
前記回転構造は、前記第一ケースおよび前記第二ケースを相対回転させることにより前記第二の部分に前記第二折り返し部を形成するように構成される
ことを特徴とするワイヤハーネス。
続きを表示(約 470 文字)
【請求項2】
前記回転構造は、回転軸を有し、かつ前記回転軸の軸線を回転中心として前記第一ケースおよび前記第二ケースを相対回転させ、
前記第一ケースおよび前記第二ケースは、前記フラット配索材を覆うカバーと、前記カバーの外側面である頂面と、を有し、
前記回転軸の軸線は、前記頂面を含む平面上に配置される
請求項1に記載のワイヤハーネス。
【請求項3】
前記回転構造は、回転軸を有し、かつ前記回転軸の軸線を回転中心として前記第一ケースおよび前記第二ケースを相対回転させ、
前記回転軸の断面形状は、短軸方向を有する扁平形状であり、
前記フラット配索材の形状を直線形状として前記第一ケースおよび前記第二ケースが互いに係合したときに、前記回転軸の短軸方向が前記延在方向と直交する
請求項1に記載のワイヤハーネス。
【請求項4】
前記回転構造は、前記第一ケースと前記第二ケースとを連結する連結部に設けられたヒンジ部を含む
請求項1に記載のワイヤハーネス。
発明の詳細な説明
【技術分野】
【0001】
本発明は、ワイヤハーネスに関する。
続きを表示(約 2,400 文字)
【背景技術】
【0002】
従来、フレキシブルプリント基板等のフラット配索材がある。特許文献1には、長尺配線を容易に実現することが可能なフレキシブルプリント基板が開示されている。特許文献1のフレキシブルプリント基板は、導電部と導電部を覆う絶縁部とを有する第1帯状部材および第2帯状部材と、第1帯状部材の第1端部と第2帯状部材の第1端部とを連結する第1連結部材とを備える。
【先行技術文献】
【特許文献】
【0003】
特開2015-170699号公報
【発明の概要】
【発明が解決しようとする課題】
【0004】
U字形状に形成されたフラット配索材を直線形状に長尺化できることが望まれている。U字形状に形成されたフラット配索材を用いる場合、フラット配索材の製造コストや実装コストの低減が可能である。
【0005】
本発明の目的は、U字形状に形成されたフラット配索材を直線形状に長尺化できるワイヤハーネスを提供することである。
【課題を解決するための手段】
【0006】
本発明のワイヤハーネスは、直線状の第一の部分と、直線状の第二の部分と、前記第一の部分の端部と前記第二の部分の端部とをつなぐ中間部と、を有するU字形状に形成されたフラット配索材と、前記第一の部分を保持する第一ケースと、前記第二の部分を保持する第二ケースと、前記第一ケースおよび前記第二ケースを相対回転させる回転構造と、を備え、前記第一ケースおよび前記第二ケースは、前記フラット配索材の形状を直線形状として互いに係合可能であり、直線形状の前記フラット配索材では、平面視において前記第一の部分の延長線上に前記第二の部分が延在し、直線形状の前記フラット配索材は、第一折り返し部および第二折り返し部を有し、前記第一折り返し部では、前記第一の部分が延在する延在方向に沿った折り返し線に沿って前記中間部が折り返され、前記第二折り返し部では、前記第二の部分の一部を前記中間部と重ねるように、前記延在方向と直交する折り返し線に沿って前記第二の部分が折り返され、前記回転構造は、前記第一ケースおよび前記第二ケースを相対回転させることにより前記第二の部分に前記第二折り返し部を形成するように構成されることを特徴とする。
【発明の効果】
【0007】
本発明に係るワイヤハーネスは、U字形状に形成されたフラット配索材と、フラット配索材の第一の部分を保持する第一ケースと、フラット配索材の第二の部分を保持する第二ケースと、第一ケースおよび第二ケースを相対回転させる回転構造と、を備え、第一ケースおよび第二ケースは、フラット配索材の形状を直線形状として互いに係合可能である。回転構造は、第一ケースおよび第二ケースを相対回転させることによりフラット配索材の第二の部分に第二折り返し部を形成するように構成される。本発明に係るワイヤハーネスによれば、U字形状に形成されたフラット配索材を直線形状に長尺化できるという効果を奏する。
【図面の簡単な説明】
【0008】
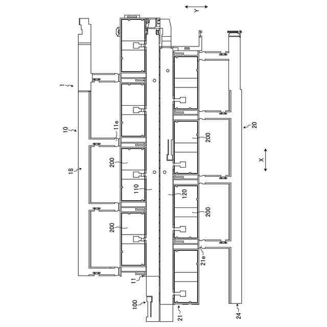
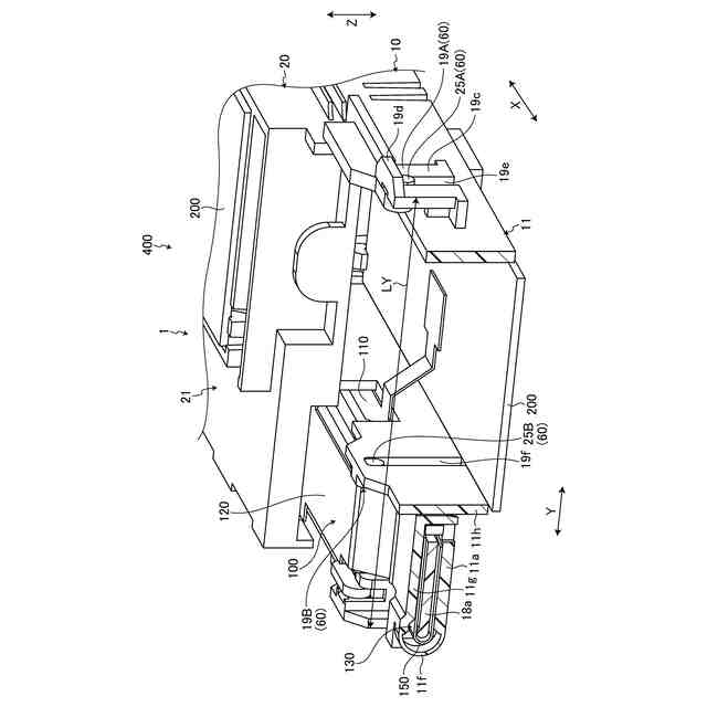
図1は、実施形態に係るワイヤハーネスの斜視図である。
図2は、実施形態に係るフラット配索材の斜視図である。
図3は、実施形態に係るフラット配索材の平面図である。
図4は、実施形態に係るケースの平面図である。
図5は、実施形態に係るケースの斜視図である。
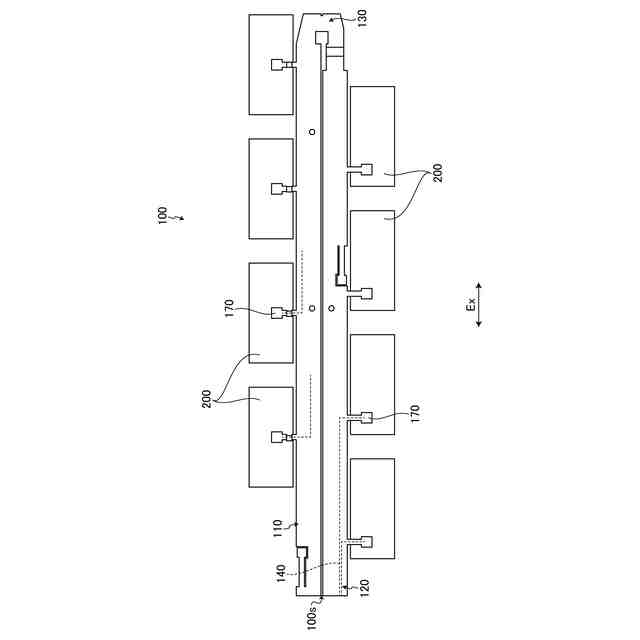
図6は、実施形態に係るワイヤハーネスの平面図である。
図7は、実施形態に係るワイヤハーネスの平面図である。
図8は、実施形態に係るワイヤハーネスの平面図である。
図9は、実施形態に係るワイヤハーネスの断面図である。
図10は、実施形態に係るフラット配索材の斜視図である。
図11は、実施形態に係るワイヤハーネスの断面図である。
図12は、実施形態に係るワイヤハーネスの斜視図である。
図13は、実施形態に係るワイヤハーネスの断面図である。
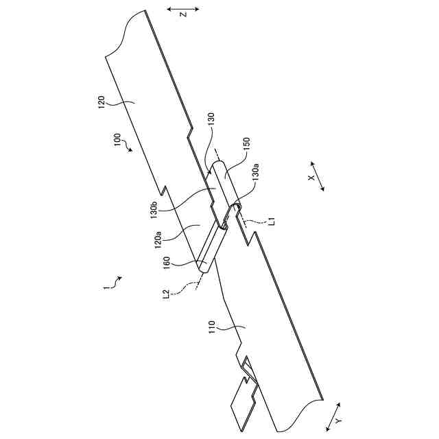
図14は、実施形態の回転構造の一例を示す図である。
図15は、実施形態の回転構造の一例を示す図である。
図16は、実施形態の回転構造の一例を示す図である。
図17は、実施形態の回転構造の一例を示す図である。
図18は、実施形態の回転構造の一例を示す図である。
図19は、実施形態の変形例に係る第一ケースおよび第二ケースの斜視図である。
図20は、実施形態の変形例に係るワイヤハーネスの斜視図である。
図21は、実施形態の変形例に係るワイヤハーネスの斜視図である。
図22は、実施形態の変形例に係るワイヤハーネスの斜視図である。
【発明を実施するための形態】
【0009】
以下に、本発明の実施形態に係るワイヤハーネスにつき図面を参照しつつ詳細に説明する。なお、この実施形態によりこの発明が限定されるものではない。また、下記の実施形態における構成要素には、当業者が容易に想定できるものあるいは実質的に同一のものが含まれる。
【0010】
[実施形態]
図1から図18を参照して、実施形態について説明する。本実施形態は、ワイヤハーネスに関する。図1は、実施形態に係るワイヤハーネスの斜視図、図2は、実施形態に係るフラット配索材の斜視図、図3は、実施形態に係るフラット配索材の平面図、図4は、実施形態に係るケースの平面図、図5は、実施形態に係るケースの斜視図、図6から図8は、実施形態に係るワイヤハーネスの平面図、図9は、実施形態に係るワイヤハーネスの断面図、図10は、実施形態に係るフラット配索材の斜視図である。
(【0011】以降は省略されています)
この特許をJ-PlatPat(特許庁公式サイト)で参照する
関連特許
矢崎総業株式会社
端子
1か月前
矢崎総業株式会社
端子
1か月前
矢崎総業株式会社
バスバ
1か月前
矢崎総業株式会社
箱状体
1か月前
矢崎総業株式会社
箱状体
1か月前
矢崎総業株式会社
照明灯
22日前
矢崎総業株式会社
雌端子
1か月前
矢崎総業株式会社
コネクタ
1か月前
矢崎総業株式会社
照明装置
1か月前
矢崎総業株式会社
コネクタ
13日前
矢崎総業株式会社
コネクタ
1か月前
矢崎総業株式会社
コネクタ
15日前
矢崎総業株式会社
コネクタ
15日前
矢崎総業株式会社
コネクタ
1か月前
矢崎総業株式会社
コネクタ
22日前
矢崎総業株式会社
コネクタ
22日前
矢崎総業株式会社
コネクタ
1か月前
矢崎総業株式会社
コネクタ
1か月前
矢崎総業株式会社
コネクタ
1日前
矢崎総業株式会社
配索構造
1か月前
矢崎総業株式会社
コネクタ
27日前
矢崎総業株式会社
コネクタ
27日前
矢崎総業株式会社
コネクタ
27日前
矢崎総業株式会社
コネクタ
1日前
矢崎総業株式会社
コネクタ
1か月前
矢崎総業株式会社
コネクタ
1か月前
矢崎総業株式会社
コネクタ
22日前
矢崎総業株式会社
コネクタ
6日前
矢崎総業株式会社
コネクタ
7日前
矢崎総業株式会社
コネクタ
3日前
矢崎総業株式会社
コネクタ
1か月前
矢崎総業株式会社
電気接続箱
1か月前
矢崎総業株式会社
電気接続箱
23日前
矢崎総業株式会社
電気接続箱
1か月前
矢崎総業株式会社
プロテクタ
1か月前
矢崎総業株式会社
保護カバー
1か月前
続きを見る
他の特許を見る