TOP
|
特許
|
意匠
|
商標
特許ウォッチ
Twitter
他の特許を見る
公開番号
2025142824
公報種別
公開特許公報(A)
公開日
2025-10-01
出願番号
2024042403
出願日
2024-03-18
発明の名称
制御装置、制御方法、およびプログラム
出願人
本田技研工業株式会社
代理人
個人
,
個人
,
個人
主分類
G08G
1/0968 20060101AFI20250924BHJP(信号)
要約
【課題】利用者の利便性を向上させること。
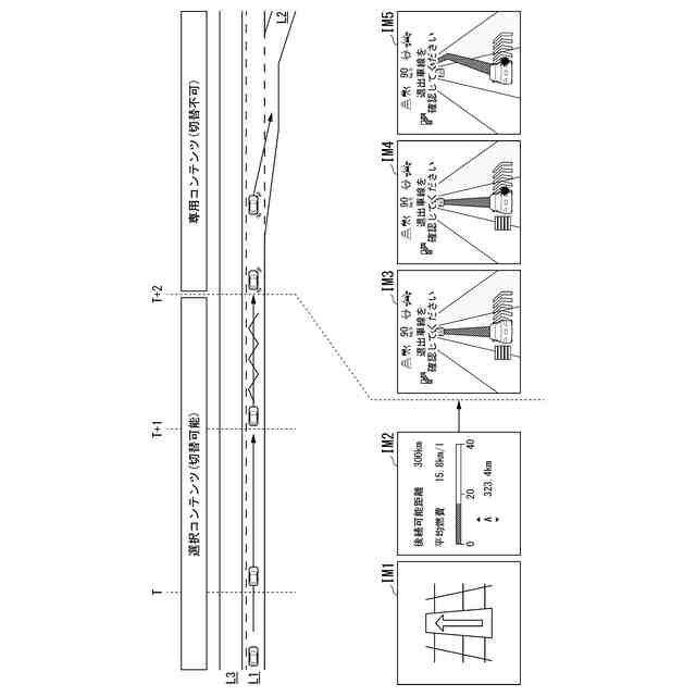
【解決手段】制御装置は、移動体の乗員の操作に依らずに前記移動体の走行を制御する走行制御部と、前記走行制御部の制御状態に関する表示である第1表示画面と、前記走行制御部の制御状態に関する表示ではない第2表示画面とのうち、前記乗員が選択操作した画面を対象の表示部に表示させる表示制御部と、を備え、前記表示制御部は、前記乗員が前記第2表示画面を前記表示部に表示させることを選択しているとき、前記走行制御部が実際に前記移動体の走行を制御すると判断した場合に、前記乗員の選択操作に依らずに、前記第2表示画面を前記第1表示画面に切り替えて前記第1表示画面を前記表示部に表示させる。
【選択図】図1
特許請求の範囲
【請求項1】
移動体の乗員の操作に依らずに前記移動体の走行を制御する走行制御部と、
前記走行制御部の制御状態に関する表示である第1表示画面と、前記走行制御部の制御状態に関する表示ではない第2表示画面とのうち、前記乗員が選択操作した画面を対象の表示部に表示させる表示制御部と、を備え、
前記表示制御部は、
前記乗員が前記第2表示画面を前記表示部に表示させることを選択しているとき、
前記走行制御部が実際に前記移動体の走行を制御すると判断した場合に、
前記乗員の選択操作に依らずに、前記第2表示画面を前記第1表示画面に切り替えて前記第1表示画面を前記表示部に表示させる、
制御装置。
続きを表示(約 1,500 文字)
【請求項2】
前記制御状態に関する表示は、前記移動体が自動で車線変更する自動車線変更制御に関する表示である、
請求項1に記載の制御装置。
【請求項3】
前記自動車線変更制御は、前記移動体が走行する第1車線に接続している分岐路で実行され、
前記表示制御部は、
前記分岐路の手前で前記自動車線変更制御による車線変更のための減速制御を前記移動体が実行しているときは、前記第2表示画面を前記表示部に表示させ、
前記減速制御の後、前記第1表示画面を前記表示部に表示させる、
請求項2に記載の制御装置。
【請求項4】
前記第2表示画面は、前記移動体の進行方向または前記移動体の目的地の方向を示すナビゲーション画面を含む、
請求項1に記載の制御装置。
【請求項5】
前記第2表示画面は、前記移動体の燃費または電費を示す画面を含む、
請求項1に記載の制御装置。
【請求項6】
前記表示制御部は、
前記走行制御部が実際に前記移動体の走行を制御すると判断した場合に、
前記乗員の選択操作に依らずに、前記第2表示画面を前記第1表示画面に切り替えて前記第2表示画面を前記表示部に表示させた後、
当該走行制御部による走行の制御が完了し、前記移動体が定常で移動する状態となった場合に前記第1表示画面を前記第2表示画面に戻して前記第2表示画面を前記表示部に表示させる、
請求項1に記載の制御装置。
【請求項7】
前記表示制御部は、
前記走行制御部が前記自動車線変更制御を実行すると判断した場合に、前記乗員の選択操作に依らずに、前記第2表示画面を前記第1表示画面に切り替えて前記第1表示画面を前記表示部に表示させ、
前記自動車線変更制御が完了した場合に、前記第1表示画面を前記第2表示画面に戻して前記第2表示画面を前記表示部に表示させる、
請求項2に記載の制御装置。
【請求項8】
コンピュータが、
移動体の乗員の操作に依らずに前記移動体の走行を制御する処理と、
前記移動体の走行を制御する処理の制御状態に関する表示である第1表示画面と、前記制御状態に関する表示ではない第2表示画面とのうち、前記乗員が選択操作した画面を対象の表示部に表示させる処理と、
前記乗員が前記第2表示画面を前記表示部に表示させることを選択しているとき、
実際に前記走行を制御する処理で前記移動体の走行を制御すると判断した場合に、
前記乗員の選択操作に依らずに、前記第2表示画面を前記第1表示画面に切り替えて前記第1表示画面を前記表示部に表示させる処理と、
を実行する制御方法。
【請求項9】
コンピュータに、
移動体の乗員の操作に依らずに前記移動体の走行を制御する処理と、
前記移動体の走行を制御する処理の制御状態に関する表示である第1表示画面と、前記制御状態に関する表示ではない第2表示画面とのうち、前記乗員が選択操作した画面を対象の表示部に表示させる処理と、
前記乗員が前記第2表示画面を前記表示部に表示させることを選択しているとき、
実際に前記走行を制御する処理で前記移動体の走行を制御すると判断した場合に、
前記乗員の選択操作に依らずに、前記第2表示画面を前記第1表示画面に切り替えて前記第1表示画面を前記表示部に表示させる処理と、
を実行させるためのプログラム。
発明の詳細な説明
【技術分野】
【0001】
本発明は、制御装置、制御方法、およびプログラムに関する。
続きを表示(約 1,300 文字)
【背景技術】
【0002】
近年、種々の状況に配慮した持続可能な輸送システムを提供する取り組みが活発化している。この実現に向けて運転支援技術に関する研究開発を通して交通の安全性や利便性をより一層改善する研究開発に注力している。車両の前方の道路画像をディスプレイ上に表示するとともに、分岐点での案内矢印を作成して前方の道路画像に重畳して表示する車両用案内表示装置が開示されている(例えば特許文献1参照)。
【先行技術文献】
【特許文献】
【0003】
特開平10-287177号公報
【発明の概要】
【発明が解決しようとする課題】
【0004】
従来の技術では、移動体の走行に応じた表示を行うことは開示されていなく、移動体の乗員の利便性が低い場合があった。
【0005】
本発明は、このような事情を考慮してなされたものであり、移動体の乗員(例えばドライバ)にとっての利便性を向上させることができる制御装置、制御方法、およびプログラムを提供することを目的の一つとする。延いては持続可能な輸送システムの発展に寄与するものである。
【課題を解決するための手段】
【0006】
この発明に係る制御装置、制御方法、およびプログラムは、以下の構成を採用した。
(1):この発明の一態様に係る制御装置は、移動体の乗員の操作に依らずに前記移動体の走行を制御する走行制御部と、前記走行制御部の制御状態に関する表示である第1表示画面と、前記走行制御部の制御状態に関する表示ではない第2表示画面とのうち、前記乗員が選択操作した画面を対象の表示部に表示させる表示制御部と、を備え、前記表示制御部は、前記乗員が前記第2表示画面を前記表示部に表示させることを選択しているとき、前記走行制御部が実際に前記移動体の走行を制御すると判断した場合に、前記乗員の選択操作に依らずに、前記第2表示画面を前記第1表示画面に切り替えて前記第1表示画面を前記表示部に表示させる。
【0007】
(2):上記(1)の態様において、前記制御状態に関する表示は、前記移動体が自動で車線変更する自動車線変更制御に関する表示である。
【0008】
(3):上記(2)の態様において、前記自動車線変更制御は、前記移動体が走行する第1車線に接続している分岐路で実行され、前記表示制御部は、前記分岐路の手前で前記自動車線変更制御による車線変更のための減速制御を前記移動体が実行しているときは、前記第2表示画面を前記表示部に表示させ、前記減速制御の後、前記第1表示画面を前記表示部に表示させる。
【0009】
(4):上記(1)のいずれかの態様において、前記第2表示画面は、前記移動体の進行方向または前記移動体の目的地の方向を示すナビゲーション画面を含む。
【0010】
(5):上記(1)の態様において、前記第2表示画面は、前記移動体の燃費または電費を示す画面を含む。
(【0011】以降は省略されています)
この特許をJ-PlatPat(特許庁公式サイト)で参照する
関連特許
本田技研工業株式会社
装置
7日前
本田技研工業株式会社
車両
8日前
本田技研工業株式会社
モータ
4日前
本田技研工業株式会社
保管装置
2日前
本田技研工業株式会社
受電装置
2日前
本田技研工業株式会社
車両構造
4日前
本田技研工業株式会社
車両構造
4日前
本田技研工業株式会社
ステータ
今日
本田技研工業株式会社
送電装置
2日前
本田技研工業株式会社
電解装置
15日前
本田技研工業株式会社
保管装置
2日前
本田技研工業株式会社
通知装置
7日前
本田技研工業株式会社
断続装置
2日前
本田技研工業株式会社
切断装置
今日
本田技研工業株式会社
保持装置
1日前
本田技研工業株式会社
内燃機関
7日前
本田技研工業株式会社
内燃機関
7日前
本田技研工業株式会社
バッテリ
1日前
本田技研工業株式会社
バッテリ
1日前
本田技研工業株式会社
固体電池
2日前
本田技研工業株式会社
会話装置
今日
本田技研工業株式会社
リアクトル
7日前
本田技研工業株式会社
鞍乗型車両
14日前
本田技研工業株式会社
リンク機構
今日
本田技研工業株式会社
車両制御装置
8日前
本田技研工業株式会社
固体二次電池
14日前
本田技研工業株式会社
鞍乗り型車両
1日前
本田技研工業株式会社
分離システム
4日前
本田技研工業株式会社
車両制御装置
16日前
本田技研工業株式会社
潤滑システム
2日前
本田技研工業株式会社
鞍乗り型車両
24日前
本田技研工業株式会社
電源システム
2日前
本田技研工業株式会社
クラッチ装置
23日前
本田技研工業株式会社
鞍乗り型車両
今日
本田技研工業株式会社
鞍乗り型車両
22日前
本田技研工業株式会社
運転制御装置
4日前
続きを見る
他の特許を見る