TOP
|
特許
|
意匠
|
商標
特許ウォッチ
Twitter
他の特許を見る
公開番号
2025143196
公報種別
公開特許公報(A)
公開日
2025-10-01
出願番号
2025013433
出願日
2025-01-30
発明の名称
管理装置、管理方法、及びプログラム
出願人
旭化成エレクトロニクス株式会社
代理人
弁理士法人RYUKA国際特許事務所
主分類
G08C
17/00 20060101AFI20250924BHJP(信号)
要約
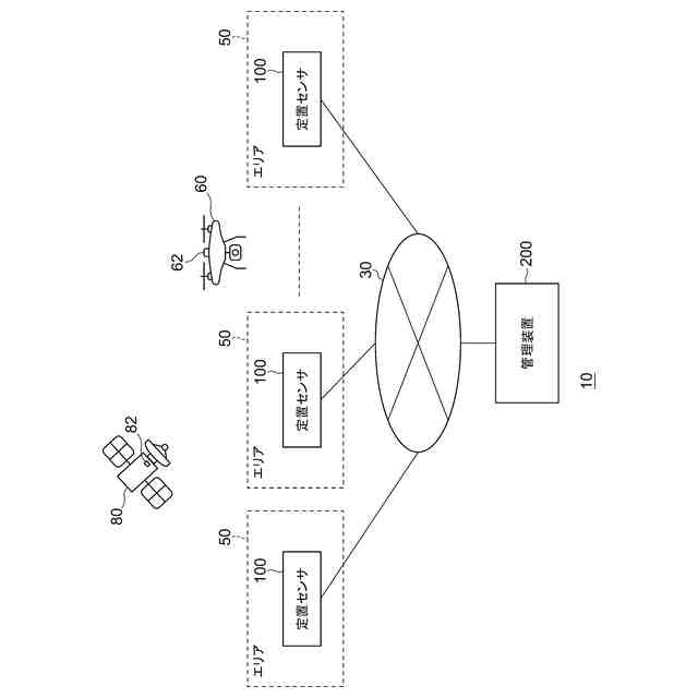
【解決手段】管理装置は、複数のエリアのそれぞれの環境に関する物理量を計測する複数の第1センサのそれぞれから第1計測情報を取得し、少なくとも1つの移動体に搭載され、少なくとも1つの移動体が移動することにより複数のエリアのそれぞれの環境に関する物理量を計測する少なくとも1つの第2センサから第2計測情報を取得する取得部と、第1計測情報及び第2計測情報のそれぞれに基づいて、複数のエリアのうち物理量が異常値を示す異常エリアを特定する特定部と、特定部により第1計測情報に基づいて特定された異常エリアと、特定部により第2計測情報に基づいて特定された異常エリアとが同一のエリアである場合、第1計測情報及び第2計測情報の整合性が高いことを認証する認証部とを備える。
【選択図】図4
特許請求の範囲
【請求項1】
複数のエリアのそれぞれに設置され、前記複数のエリアのそれぞれの環境に関する物理量を計測する複数の第1センサのそれぞれから第1計測情報を取得し、少なくとも1つの移動体に搭載され、前記少なくとも1つの移動体が移動することにより前記複数のエリアのそれぞれの環境に関する物理量を計測する少なくとも1つの第2センサから第2計測情報を取得する取得部と、
前記第1計測情報及び前記第2計測情報のそれぞれに基づいて、前記複数のエリアのうち前記物理量が異常値を示す異常エリアを特定する特定部と、
前記特定部により前記第1計測情報に基づいて特定された異常エリアと、前記特定部により前記第2計測情報に基づいて特定された異常エリアとが同一のエリアである場合、前記第1計測情報及び前記第2計測情報の整合性が高いことを認証する認証部と
を備える管理装置。
続きを表示(約 1,700 文字)
【請求項2】
前記第2計測情報に基づいて前記複数の第1センサのそれぞれの基準値の補正情報を生成、または前記第1計測情報に基づいて前記少なくとも1つの第2センサの基準値の補正情報を生成、または前記第1計測情報と前記第2計測情報とに基づいて前記複数の第1センサ及び前記少なくとも1つの第2センサの基準値の補正情報を生成する生成部をさらに備える、請求項1に記載の管理装置。
【請求項3】
前記複数の第1センサのそれぞれの前記補正情報を前記複数の第1センサのそれぞれに送信、または前記少なくとも1つの第2センサの前記補正情報を前記少なくとも1つの第2センサに送信する通信制御部をさらに備える、請求項2に記載の管理装置。
【請求項4】
前記複数の第1センサは、校正を実行した場合に、校正が実行された校正日時を含む第1校正情報を前記第1計測情報とともに前記管理装置に送信し、
前記少なくとも1つの第2センサは、校正を実行した場合、校正が実行された校正日時を含む第2校正情報を前記第2計測情報とともに前記管理装置に送信し、
前記生成部は、前記第1校正情報及び前記第2校正情報の少なくとも一方に基づいて、前記複数の第1センサのそれぞれの基準値の補正情報を生成するか、前記少なくとも1つの第2センサの基準値の補正情報を生成するかを判断する、請求項2に記載の管理装置。
【請求項5】
前記複数のエリアのうち同一のエリアにおける、前記複数の第1センサのそれぞれの前記第1計測情報に基づく前記物理量と前記少なくとも1つの第2センサの前記第2計測情報に基づく前記物理量との差が予め定められた差より大きい場合、前記第1計測情報を提供した第1センサの識別情報もしくは前記第2計測情報を提供した第2センサの識別情報を格納部に登録する登録部をさらに備える、請求項1に記載の管理装置。
【請求項6】
前記登録部は、前記同一のエリアにおける予め定められた期間の前記複数の第1センサの第1計測情報と前記少なくとも1つの第2センサの前記第2計測情報より得られる物理量xに対し、前記物理量xの平均値をμ、前記物理量xの標準偏差をσとし、乖離度αを(x-μ)
2
/σ
2
とした場合、乖離度αが特定の値以上の場合に、前記物理量xを計測した第1センサまたは第2センサの識別情報を前記格納部に登録する、請求項5に記載の管理装置。
【請求項7】
前記第1計測情報もしくは前記第2計測情報に基づいて、前記複数のエリアのうち前記物理量が異常値を示す異常エリアを特定する特定部と、
前記複数の第1センサのうち前記異常エリアの第1センサの第1計測情報に基づく前記物理量、もしくは少なくとも1つの第2センサのうち前記異常エリアの第2センサの第2計測情報に基づく前記物理量のうちいずれかが異常値を示さない場合、異常値を示さない前記第1計測情報を提供した第1センサもしくは前記第2計測情報を提供した第2センサの識別情報を格納部に登録する登録部と
をさらに備える、請求項1に記載の管理装置。
【請求項8】
前記第1計測情報に基づいて、前記複数のエリアのうち前記物理量が異常値を示す異常エリアを特定する特定部と、
前記少なくとも1つの第2センサに対して前記異常エリアの第2計測情報を送信するように指示するように指示する指示部と
をさらに備える、請求項1に記載の管理装置。
【請求項9】
同一のエリアについて、前記第1計測情報に基づく物理量と、前記第2計測情報に基づく物理量との差が予め定められた範囲内である場合、前記第1計測情報及び前記第2計測情報の整合性が高いことを認証する認証部と
をさらに備える、請求項1に記載の管理装置。
【請求項10】
前記物理量は、ガス流出量である、請求項8に記載の管理装置。
(【請求項11】以降は省略されています)
発明の詳細な説明
【技術分野】
【0001】
本発明は、管理装置、管理方法、及びプログラムに関する。
続きを表示(約 2,000 文字)
【背景技術】
【0002】
特許文献1には、大気中のガスがどのように分布しているかを推定するためのシステムが開示されている。
[先行技術文献]
[特許文献]
[特許文献1] 国際公開第2022/077119号
【発明の概要】
【発明が解決しようとする課題】
【0003】
測定形態が異なるセンサ間で、計測情報の整合性を担保することが望まれている。
【課題を解決するための手段】
【0004】
本発明の一態様に係る管理装置は、複数のエリアのそれぞれに設置され、前記複数のエリアのそれぞれの環境に関する物理量を計測する複数の第1センサのそれぞれから第1計測情報を取得し、少なくとも1つの移動体に搭載され、前記少なくとも1つの移動体が移動することにより前記複数のエリアのそれぞれの環境に関する物理量を計測する少なくとも1つの第2センサから第2計測情報を取得する取得部を備えてよい。いずれかの前記管理装置は、前記第1計測情報及び前記第2計測情報のそれぞれに基づいて、前記複数のエリアのうち前記物理量が異常値を示す異常エリアを特定する特定部を備えてよい。前記管理装置は、前記特定部により前記第1計測情報に基づいて特定された異常エリアと、前記特定部により前記第2計測情報に基づいて特定された異常エリアとが同一のエリアである場合、前記第1計測情報及び前記第2計測情報の整合性が高いことを認証する認証部を備えてよい。
【0005】
前記管理装置は、前記第2計測情報に基づいて前記複数の第1センサのそれぞれの基準値の補正情報を生成、または前記第1計測情報に基づいて前記少なくとも1つの第2センサの基準値の補正情報を生成、または前記第1計測情報と前記第2計測情報とに基づいて前記複数の第1センサおよび前記少なくとも1つの第2センサの基準値の補正情報を生成する生成部をさらに備えてよい。
【0006】
いずれかの前記管理装置は、前記複数の第1センサのそれぞれの前記補正情報を前記複数の第1センサのそれぞれに送信、または前記少なくとも1つの第2センサの前記補正情報を前記少なくとも1つの第2センサに送信する通信制御部をさらに備えてよい。
【0007】
前記管理装置において、前記複数の第1センサは、校正を実行した場合に、校正が実行された校正日時を含む第1校正情報を前記第1計測情報とともに前記管理装置に送信してよい。前記少なくとも1つの第2センサは、校正を実行した場合、校正が実行された校正日時を含む第2校正情報を前記第2計測情報とともに前記管理装置に送信してよい。前記生成部は、前記第1校正情報及び前記第2校正情報の少なくとも一方に基づいて、前記複数の第1センサのそれぞれの基準値の補正情報を生成するか、前記少なくとも1つの第2センサの基準値の補正情報を生成するかを判断してよい。
【0008】
いずれかの前記管理装置は、前記複数のエリアのうち同一のエリアにおける、前記複数の第1センサのそれぞれの前記第1計測情報に基づく前記物理量と前記少なくとも1つの第2センサの前記第2計測情報に基づく前記物理量との差が予め定められた差より大きい場合、前記第1計測情報を提供した第1センサの識別情報もしくは前記第2計測情報を提供した第2センサの識別情報を格納部に登録する登録部をさらに備えてよい。
【0009】
いずれかの前記管理装置において、前記登録部は、前記同一のエリアにおける予め定められた期間の前記複数の第1センサの第1計測情報と前記少なくとも1つの第2センサの前記第2計測情報より得られる物理量xに対し、前記物理量xの平均値をμ、前記物理量xの標準偏差をσとし、乖離度αを(x-μ)
2
/σ
2
とした場合、乖離度αが特定の値以上の場合に、前記物理量xを計測した第1センサまたは第2センサの識別情報を前記格納部に登録してよい。
【0010】
いずれかの前記管理装置は、前記第1計測情報もしくは前記第2計測情報に基づいて、前記複数のエリアのうち前記物理量が異常値を示す異常エリアを特定する特定部を備えてよい。前記管理装置は、前記複数の第1センサのうち前記異常エリアの第1センサの第1計測情報に基づく前記物理量、もしくは少なくとも1つの第2センサのうち前記異常エリアの第2センサの第2計測情報に基づく前記物理量のうちいずれかが異常値を示さない場合、異常値を示さない前記第1計測情報を提供した第1センサもしくは前記第2計測情報を提供した第2センサの識別情報を格納部に登録する登録部を備えてよい。
(【0011】以降は省略されています)
この特許をJ-PlatPat(特許庁公式サイト)で参照する
関連特許
個人
自動電動車椅子
15日前
ニッタン株式会社
検知器
23日前
ニッタン株式会社
検知器
23日前
個人
磁気路上での車両の路線離脱防御
4日前
ニッタン株式会社
検知器
1日前
ニッタン株式会社
検知器
25日前
トヨタ自動車株式会社
サーバ
8日前
株式会社小糸製作所
移動体検出装置
25日前
株式会社SUBARU
運転支援装置
2日前
大阪瓦斯株式会社
音声出力システム
今日
日本信号株式会社
異常走行検出装置
8日前
三菱自動車工業株式会社
制御システム
今日
株式会社小糸製作所
車両検出システム
25日前
日本精機株式会社
報知装置及び報知システム
14日前
株式会社CCT
通信装置及び表示方法
1日前
能美防災株式会社
火災感知器
28日前
ヨシモトポール株式会社
接近報知システム
28日前
株式会社豊田中央研究所
注意喚起装置
16日前
シャープ株式会社
駐車制御装置
7日前
株式会社アイシン
運転支援装置
今日
パイオニア株式会社
情報処理装置
4日前
ALSOK株式会社
警備システム及び警備方法
15日前
パイオニア株式会社
情報処理装置
4日前
株式会社 ミックウェア
追従移動支援装置、端末装置
7日前
四国計測工業株式会社
計測システム
8日前
株式会社デンソーウェーブ
セキュリティシステム
4日前
株式会社京三製作所
横断歩道誘導システム
28日前
個人
共存型AIキャラクター連携型自動移動支援システム
29日前
トヨタ自動車株式会社
制御装置
4日前
能美防災株式会社
火災受信機
25日前
能美防災株式会社
ガス警報器用の試験器
28日前
株式会社JVCケンウッド
駐車システム及び駐車方法
23日前
能美防災株式会社
防災システム
22日前
本田技研工業株式会社
車両制御装置
14日前
能美防災株式会社
防災システム
2日前
本田技研工業株式会社
車両制御装置
16日前
続きを見る
他の特許を見る