TOP
|
特許
|
意匠
|
商標
特許ウォッチ
Twitter
他の特許を見る
公開番号
2025143540
公報種別
公開特許公報(A)
公開日
2025-10-01
出願番号
2025124030,2022114895
出願日
2025-07-24,2022-07-19
発明の名称
火災感知器
出願人
能美防災株式会社
代理人
弁理士法人エビス国際特許事務所
主分類
G08B
17/10 20060101AFI20250924BHJP(信号)
要約
【課題】電源から取り外した際に火災感知器の内部電圧Vが下がりにくく、点検試験を行うために火災感知器を点検試験器にすぐに接続すると点検試験のための通信モードに移行できないことから、点検試験の作業を迅速に行うことができない点を課題とする。
【解決手段】設置部から取り外して点検試験器に接続される火災感知器であって、角速度を計測するセンサを有し、前記火災感知器の一定の角度変化を所定時間内に検出した際に、前記点検試験器に対する通信モードを開始することを特徴とする火災感知器とする。
【選択図】図4
特許請求の範囲
【請求項1】
設置部から取り外して点検試験器に接続される火災感知器であって、
角速度を計測するセンサを有し、
前記センサにより前記火災感知器の一定の角度変化を所定時間内に検出した際に、前記点検試験器に対する通信モードを開始することを特徴とする火災感知器。
続きを表示(約 260 文字)
【請求項2】
角速度を計測する前記センサに換えて、磁気センサを設け、
前記磁気センサにより前記点検試験器に設けられた磁石からの磁場を検知した際に、前記点検試験器に対する通信モードを開始することを特徴とする請求項1記載の火災感知器。
【請求項3】
設置部から取り外して点検試験器に接続される火災感知器であって、
磁気センサを有し、
前記磁気センサにより前記点検試験器に設けられた磁石からの磁場を検知した際に、前記点検試験器に対する通信モードを開始することを特徴とする火災感知器。
発明の詳細な説明
【技術分野】
【0001】
本発明は、取り外して試験を行う火災感知器に関するものである。
続きを表示(約 2,400 文字)
【背景技術】
【0002】
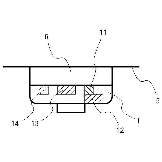
火災感知器として用いられる煙感知器は、1年に一度、感度試験を行うことが消防法で定められている。感度試験は、有資格者により特許文献1に示すような感度試験器を用いて行われる。感度試験器は一種の点検試験器であり、持ち運び可能な箱状に形成される。図1(c)に示すように、点検試験器4は試験器本体41と共に火災感知器の試験器取付ベース42を有している。図1(a)は、火災感知器3を天井5に固定された天井取付ベース6に取り付けて通常監視状態としている状況を示し、図2(b)は、天井取付ベース6から取り外した火災感知器3を示す。また、図1(c)は、火災感知器3を点検試験器4に取り付けた状況を示す。そして、図1(a)~(c)に示すように、設置場所から取り外した火災感知器3を試験器取付ベース42に取り付けて、図1(c)の状態で火災感知器3の感度を測定することにより点検試験を行う。
【先行技術文献】
【特許文献】
【0003】
特開2000-149160号公報
【発明の概要】
【発明が解決しようとする課題】
【0004】
火災感知器3である煙感知器は、点検試験器4から点検試験用の通信コマンドを受信して点検試験モードに移行する。しかしながら、天井等に設置して通常監視を行っている際に、火災感知器3が点検試験モードに移行してしまうと、受信機(図示せず)に誤応答してしまう可能性がある。そのため、通常監視状態では通信モードとなることを禁止している。そして、火災感知器の電源が非供給状態から供給状態になると、電圧の立ち上がりを検出して一定時間だけ点検試験器との間の通信を許可する通信モードに移行する。これにより、火災感知器を点検試験器に取り付けた際に電源電圧が供給されて、たとえば30秒の一定時間だけ点検試験器との間の通信を許可される。この一定時間の通信許可の最中に点検試験用の通信コマンドを受けると、火災感知器3は点検試験モードとなって点検試験器4との間で点検試験のための通信を行う。
【0005】
しかしながら、近年の火災感知器は低消費電力であり、天井取付ベース6から取り外した火災感知器3の内部電圧Vは、図2(a)の横軸0~T1、図2(b)の横軸0~T2のようにゆっくりと低下する。図2は、t=0で火災感知器3を天井5に設けた天井取付ベース6から取り外した直後の、火災感知器3における内部電圧Vの時間変化を示している。内部電圧Vを縦軸で、時間tを横軸で示す。天井5等に設置されている火災感知器3を取り外して、すぐに点検試験器4の試験器取付ベース42へ接続した場合は、図2(a)のように電圧が変化する。図2(a)は、火災感知器3を取り外して、T1の時点で点検試験器4の試験器取付ベース42へ接続したときの内部電圧Vの時間変化である。T1の時点では、内部電圧Vがほとんど下がらない状態で試験器本体41から火災感知器3に電源電圧が供給される。そのため、火災感知器3で非供給状態から供給状態になる際の内部電圧Vの立ち上がり変化が検出されず、通信モードにならない。
【0006】
図2(b)は、火災感知器を天井取付ベース6から取り外して十分に時間が経ってから点検試験器4の試験器取付ベース42に取り付けた際の内部電圧Vの時間変化を示す。T2では、内部電圧Vが十分に下がっており、火災感知器3は、点検試験器4からの電源供給により内部電圧Vが大きく立ち上がって通信モードに移行する。そして、火災感知器3は、点検試験器4からの信号により点検試験モードに移行できる。火災感知器3が通信モードになるようにするためには、図2(b)のT2の時点のように火災感知器3の内部電圧Vが十分に下がる時間まで待ってから点検試験器4へ接続する必要がある。このように、従来は、火災感知器3の内部電圧Vが十分に下がる時間まで点検試験器4へ接続できないため、点検試験を行う際に時間を要する。
【0007】
本発明は、電源から取り外した際に火災感知器の内部電圧Vが下がりにくく、点検試験を行うために火災感知器を点検試験器にすぐに接続すると点検試験のための通信モードに移行できないことから、点検試験の作業を迅速に行うことができない点を課題とする。
【課題を解決するための手段】
【0008】
本発明の一実施形態は、設置部から取り外して点検試験器に接続される火災感知器であって、角速度を計測するセンサを有し、前記火災感知器の一定の角度変化を所定時間内に検出した際に、前記点検試験器に対する通信モードを開始することを特徴とする火災感知器とするものである。
また、本発明の一実施形態は、設置部から取り外して点検試験器に接続される火災感知器であって、磁気センサを有し、前記磁気センサにより前記点検試験器に設けられた磁石からの磁場を検知した際に、前記点検試験器に対する通信モードを開始することを特徴とする火災感知器とするものである。
【発明の効果】
【0009】
本発明により、電源から取り外した際に内部電圧Vが下がりにくい火災感知器について、点検試験器に接続する点検試験を迅速に行うことができる。
【図面の簡単な説明】
【0010】
火災感知器を取り外して点検試験器で点検試験を行う状況を示す図。
天井から取り外した際の火災感知器の内部電圧変化を示すグラフ。
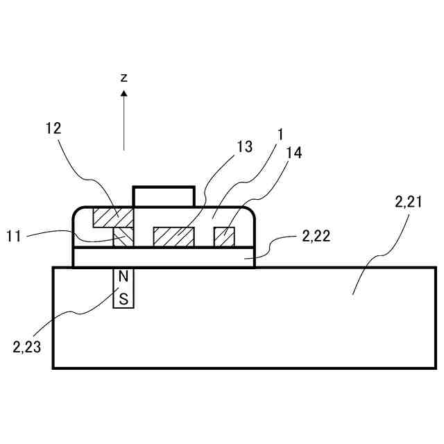
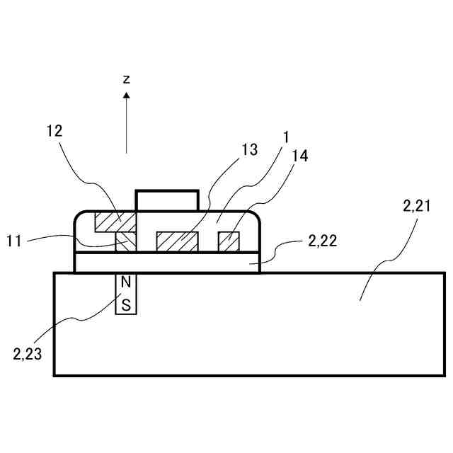
地磁気センサを設けた火災感知器が天井に取り付けられている状況を示す図。
地磁気センサを設けた火災感知器を点検試験器に取り付けた状況を示す図。
地磁気センサにより検出される磁場の角度と強度の許容範囲Tを示すグラフ。
【発明を実施するための形態】
(【0011】以降は省略されています)
この特許をJ-PlatPat(特許庁公式サイト)で参照する
関連特許
能美防災株式会社
表示灯
21日前
能美防災株式会社
警報器
2か月前
能美防災株式会社
発信装置
1か月前
能美防災株式会社
消火設備
今日
能美防災株式会社
無線機器
1か月前
能美防災株式会社
炎検知器
1か月前
能美防災株式会社
火災感知器
2か月前
能美防災株式会社
火災感知器
26日前
能美防災株式会社
現地操作盤
1か月前
能美防災株式会社
消火栓装置
2か月前
能美防災株式会社
火災受信機
23日前
能美防災株式会社
火災感知器
1か月前
能美防災株式会社
炎検出装置
3か月前
能美防災株式会社
非常伝達装置
29日前
能美防災株式会社
ガス検出装置
1か月前
能美防災株式会社
散水システム
1か月前
能美防災株式会社
避難システム
23日前
能美防災株式会社
避難システム
1か月前
能美防災株式会社
防災システム
20日前
能美防災株式会社
防災システム
今日
能美防災株式会社
感知器ベース
2日前
能美防災株式会社
火災監視システム
22日前
能美防災株式会社
火災報知システム
3か月前
能美防災株式会社
火災監視システム
1か月前
能美防災株式会社
延焼防止システム
23日前
能美防災株式会社
防災管理システム
23日前
能美防災株式会社
災害通報システム
23日前
能美防災株式会社
中継器の配線接続構造
14日前
能美防災株式会社
ガス警報器用の試験器
26日前
能美防災株式会社
消火剤貯蔵容器カバー
2か月前
能美防災株式会社
煙感知器用の加煙試験器
26日前
能美防災株式会社
警報器及び警報システム
2か月前
能美防災株式会社
泡消火方法及び泡消火設備
21日前
能美防災株式会社
塵芥車の火災検知システム
今日
能美防災株式会社
差動式分布型感知器の空気管
2か月前
能美防災株式会社
防災設備の製造管理システム
今日
続きを見る
他の特許を見る