TOP
|
特許
|
意匠
|
商標
特許ウォッチ
Twitter
他の特許を見る
公開番号
2025143913
公報種別
公開特許公報(A)
公開日
2025-10-02
出願番号
2024043421
出願日
2024-03-19
発明の名称
処理方法、選別装置、及び破砕片
出願人
本田技研工業株式会社
代理人
弁理士法人大塚国際特許事務所
主分類
G06Q
10/30 20230101AFI20250925BHJP(計算;計数)
要約
【課題】金属製品の破砕片のパーツ単位での選別をより簡便に行い、延いては廃棄物の発生を防止する。
【解決手段】複数のパーツにより構成される金属製品をパーツ単位でマーキングする。マーキングを行った金属製品を第1の破砕片に破砕する。マーキングに基づいて、第1の破砕片が複数のパーツの何れであるかの分類を行う。分類の結果と第1の破砕片に関する情報に基づいて、マーキングを行わずに破砕した金属製品の第2の破砕片に関する情報から第2の破砕片が複数のパーツの何れであるかの分類結果を出力する機械学習モデルの学習を行うための教師データを生成する。
【選択図】図2
特許請求の範囲
【請求項1】
複数のパーツにより構成される金属製品をパーツ単位でマーキングするマーキング工程と、
前記マーキングを行った前記金属製品を第1の破砕片に破砕する破砕工程と、
前記マーキングに基づいて、前記第1の破砕片が前記複数のパーツの何れであるかの分類を行う分類工程と、
前記分類の結果と前記第1の破砕片に関する情報に基づいて、マーキングを行わずに破砕した前記金属製品の第2の破砕片に関する情報から前記第2の破砕片が前記複数のパーツの何れであるかの分類結果を出力する機械学習モデルの学習を行うための教師データを生成する生成工程と、
を備える、処理方法。
続きを表示(約 670 文字)
【請求項2】
前記マーキングが蛍光塗料の塗布であることを特徴とする、請求項1に記載の処理方法。
【請求項3】
前記金属製品は、前記パーツとして外板を含むことを特徴とする、請求項1に記載の処理方法。
【請求項4】
前記マーキングが、前記外板の塗装とは異なる塗料による塗装の塗布であることを特徴とする、請求項3に記載の処理方法。
【請求項5】
前記金属製品が車両であることを特徴とする、請求項1に記載の処理方法。
【請求項6】
前記第1の破砕片に関する情報が、車両の塗色情報、前記第1の破砕片の赤外線画像、前記第1の破砕片の形状、前記第1の破砕片の表面状態、又は前記第1の破砕片の板厚を含むことを特徴とする、請求項5に記載の処理方法。
【請求項7】
前記分類工程は、前記第1の破砕片を、アルミニウムの外板、鉄の外板、又はハイテン材のパーツへと分類することを特徴とする、請求項1に記載の処理方法。
【請求項8】
前記教師データを用いて前記機械学習モデルの学習を行う学習工程をさらに備えることを特徴とする、請求項1乃至7の何れか一項に記載の処理方法。
【請求項9】
請求項8に記載の処理方法により学習を行った機械学習モデルを用いて、前記金属製品を破砕した破砕片の分類を行う、選別装置。
【請求項10】
請求項9に記載の選別装置により分類が行われた、金属製品の破砕片。
(【請求項11】以降は省略されています)
発明の詳細な説明
【技術分野】
【0001】
本発明は、処理方法、選別装置、及び破砕片に関する。
続きを表示(約 1,400 文字)
【背景技術】
【0002】
従来から、金属リサイクルとして、自動車などの金属製品を破砕し、破砕後の混合物の中から用途に応じた選別を行うことが知られている。特許文献1においては、破砕片の表面情報から皺を特定し、表面のうちの皺の割合に基づいて、金属の破砕片に含まれる添加金属の含有割合に応じた選別を行う技術が開示されている。
【先行技術文献】
【特許文献】
【0003】
特許第6726753号公報
【発明の概要】
【発明が解決しようとする課題】
【0004】
破砕片を製品のパーツの材料ごとに選別しようとする場合、例えば事前に材料ごとに解体してから破砕する、又は破砕片をそれぞれ成分分析するなどの工程が必要となり、手間がかかるという課題があった。
【0005】
したがって、本発明の目的は、金属製品の破砕片のパーツ単位での選別をより簡便に行い、延いては廃棄物の発生を防止することを可能とすることにある。
【課題を解決するための手段】
【0006】
本発明によれば、
複数のパーツにより構成される金属製品をパーツ単位でマーキングするマーキング工程と、
前記マーキングを行った前記金属製品を第1の破砕片に破砕する破砕工程と、
前記マーキングに基づいて、前記第1の破砕片が前記複数のパーツの何れであるかの分類を行う分類工程と、
前記分類の結果と前記第1の破砕片に関する情報に基づいて、マーキングを行わずに破砕した前記金属製品の第2の破砕片に関する情報から前記第2の破砕片が前記複数のパーツの何れであるかの分類結果を出力する機械学習モデルの学習を行うための教師データを生成する生成工程と、
を備える、処理方法が提供される。
【発明の効果】
【0007】
本発明によれば、金属製品の破砕片のパーツ単位での選別をより簡便に行い、延いては廃棄物の発生を防止することを可能とする。
【図面の簡単な説明】
【0008】
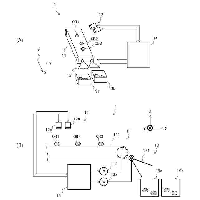
実施形態に係る選別装置を含む選別システムの一例を示す図。
実施形態に係る機械学習モデルの生成処理の一例を示すフローチャート。
【発明を実施するための形態】
【0009】
以下、添付図面を参照して実施形態を詳しく説明する。なお、以下の実施形態は特許請求の範囲に係る発明を限定するものではなく、また実施形態で説明されている特徴の組み合わせの全てが発明に必須のものとは限らない。実施形態で説明されている複数の特徴のうち二つ以上の特徴は任意に組み合わされてもよい。また、同一若しくは同様の構成には同一の参照番号を付し、重複した説明は省略する。
【0010】
金属製品を破砕した破砕片の選別において、機械学習モデルを用いた選別処理を用いることが考えられる。機械学習モデルによる選別を行う場合には、機械学習モデルの学習のため、選別を行う対象について教師データを用意する必要がある。破砕片の撮像画像を用いて選別を行う機械学習モデルの学習段階においては、撮像した破砕片の正解を示すラベルを予め用意することになるが、破砕片は通常数が多く、破砕片の形状及び外見の情報だけでは破砕片が金属製品のパーツのいずれであるのかのラベルを付すのは困難である場合が多い。
(【0011】以降は省略されています)
この特許をJ-PlatPat(特許庁公式サイト)で参照する
関連特許
本田技研工業株式会社
車両
9日前
本田技研工業株式会社
装置
8日前
本田技研工業株式会社
モータ
5日前
本田技研工業株式会社
内燃機関
8日前
本田技研工業株式会社
送電装置
3日前
本田技研工業株式会社
受電装置
3日前
本田技研工業株式会社
車両構造
5日前
本田技研工業株式会社
ステータ
1日前
本田技研工業株式会社
会話装置
1日前
本田技研工業株式会社
保持装置
2日前
本田技研工業株式会社
内燃機関
8日前
本田技研工業株式会社
車両構造
5日前
本田技研工業株式会社
通知装置
8日前
本田技研工業株式会社
固体電池
3日前
本田技研工業株式会社
切断装置
1日前
本田技研工業株式会社
保管装置
3日前
本田技研工業株式会社
保管装置
3日前
本田技研工業株式会社
電解装置
16日前
本田技研工業株式会社
バッテリ
2日前
本田技研工業株式会社
バッテリ
2日前
本田技研工業株式会社
断続装置
3日前
本田技研工業株式会社
リアクトル
8日前
本田技研工業株式会社
鞍乗型車両
15日前
本田技研工業株式会社
リンク機構
1日前
本田技研工業株式会社
潤滑システム
3日前
本田技研工業株式会社
放電処理方法
3日前
本田技研工業株式会社
分離システム
5日前
本田技研工業株式会社
電源システム
3日前
本田技研工業株式会社
運転制御装置
5日前
本田技研工業株式会社
車両制御装置
9日前
本田技研工業株式会社
固体二次電池
15日前
本田技研工業株式会社
車両制御装置
15日前
本田技研工業株式会社
潤滑システム
15日前
本田技研工業株式会社
車両制御装置
17日前
本田技研工業株式会社
鞍乗り型車両
23日前
本田技研工業株式会社
鞍乗り型車両
2日前
続きを見る
他の特許を見る