TOP
|
特許
|
意匠
|
商標
特許ウォッチ
Twitter
他の特許を見る
10個以上の画像は省略されています。
公開番号
2025143916
公報種別
公開特許公報(A)
公開日
2025-10-02
出願番号
2024043424
出願日
2024-03-19
発明の名称
情報処理装置、情報処理方法、システム及びプログラム
出願人
本田技研工業株式会社
代理人
弁理士法人大塚国際特許事務所
主分類
G06Q
50/06 20240101AFI20250925BHJP(計算;計数)
要約
【課題】電動製品に着脱可能に搭載されるバッテリを充電及び交換する情報処理装置、方法、システム及びプログラムを推奨する。
【解決手段】情報処理装置と複数の端末とを含むシステムにおいて、情報処理装置は、ステーションを設置可能な所定の領域を分割した複数のメッシュの夫々の位置に関する互いに異なる特徴を示すデータを取得する取得部、複数のメッシュの夫々のステーションの設置を推奨する推奨度を示す合成マップを生成する第1生成部、合成マップに基づいて、推奨度が高い方から所定の数のメッシュを抽出する抽出部、所定の数のメッシュの夫々を、ステーションを設置する場所の候補として、ユーザに関連付けられた端末に提示する提示部、所定の数のメッシュの夫々について、ユーザによる候補の選択に応じて、ステーションを設置する場所としての評価値を決定する決定部及び評価値に基づいて更新した設置推奨場所マップを生成する第2生成部を有する。
【選択図】図3
特許請求の範囲
【請求項1】
電動製品に着脱可能に搭載されるバッテリを充電及び交換するためのステーションの設置を推奨する場所を示す設置推奨場所マップを提供する情報処理装置であって、
前記ステーションを設置可能な所定の領域を分割した複数のメッシュのそれぞれについて、当該メッシュの位置に関する互いに異なる特徴を示す第1位置データ及び第2位置データを取得する取得部と、
前記第1位置データが示す第1特徴から生成された第1マップに第1重みを与えたマップと、前記第2位置データが示す第2特徴から生成された第2マップに前記第1重みとは異なる第2重みを与えたマップとを合成して、前記複数のメッシュのそれぞれの前記ステーションの設置を推奨する推奨度を示す合成マップを生成する第1生成部と、
前記合成マップに基づいて、前記推奨度が高い方から所定の数のメッシュを抽出する抽出部と、
前記所定の数のメッシュのそれぞれを、前記ステーションを設置する場所の候補として、ユーザに関連付けられた端末に提示する提示部と、
前記所定の数のメッシュのそれぞれについて、前記ユーザによる前記候補の選択に応じて、前記ステーションを設置する場所としての評価値を決定する決定部と、
前記評価値と前記第1特徴との相関関係、及び、前記評価値と前記第2特徴との相関関係に基づいて、前記第1重み及び前記第2重みを更新する更新部と、
前記第1マップに更新後の前記第1重みを与えたマップと、前記第2マップに更新後の前記第2重みを与えたマップとを合成して前記設置推奨場所マップを生成する第2生成部と、
を有する、ことを特徴とする情報処理装置。
続きを表示(約 1,900 文字)
【請求項2】
前記提示部は、前記所定の数のメッシュのそれぞれを前記候補として選択可能に前記端末に提示し、
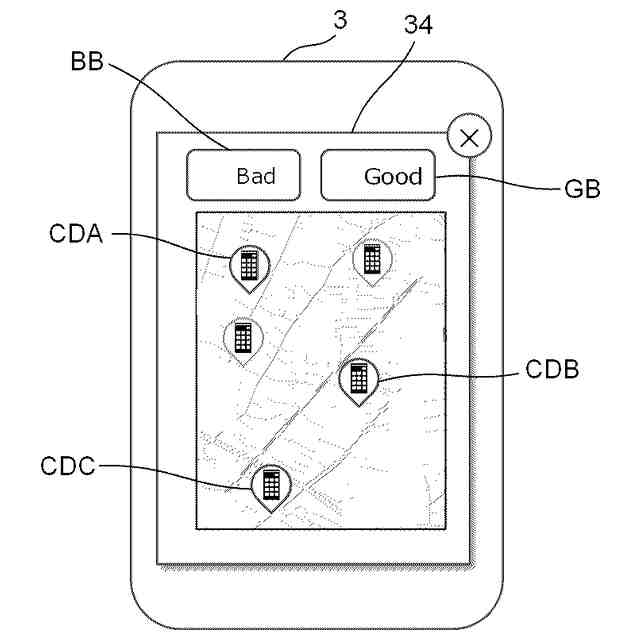
前記決定部は、前記ユーザによって前記候補として選択されたメッシュの評価値が、前記ユーザによって前記候補として選択されなったメッシュの評価値よりも高くなるように、前記ステーションを設置する場所としての評価値を決定する、ことを特徴とする請求項1に記載の情報処理装置。
【請求項3】
前記提示部は、前記所定の数のメッシュのそれぞれの前記候補としての良否を選択可能に前記端末に提示し、
前記決定部は、前記ユーザによって前記候補として良と選択されたメッシュの評価値が前記ユーザによって前記候補として否と選択されたメッシュの評価値よりも高くなるように、前記ステーションを設置する場所としての評価値を決定する、ことを特徴とする請求項1に記載の情報処理装置。
【請求項4】
前記決定部は、前記ユーザによって前記候補としての良否が選択されなかったメッシュの評価値が、前記ユーザによって前記候補として良と選択されたメッシュの評価値よりも低く、且つ、前記ユーザによって前記候補として否と選択されたメッシュの評価値よりも高くなるように、前記ステーションを設置する場所としての評価値を決定する、ことを特徴とする請求項3に記載の情報処理装置。
【請求項5】
前記提示部は、前記所定の数のメッシュのそれぞれの前記候補としての良否を選択可能に前記端末に提示し、
前記決定部は、前記ユーザによって前記候補として良と選択された第1メッシュの評価値及び前記第1メッシュに隣接する隣接メッシュの評価値が、前記第1メッシュから所定の距離以上離れたメッシュの評価値よりも高くなるように、前記ステーションを設置する場所としての評価値を決定する、ことを特徴とする請求項1に記載の情報処理装置。
【請求項6】
前記決定部は、前記ユーザによって前記候補として否と選択された第2メッシュの評価値及び前記第2メッシュに隣接する隣接メッシュの評価値が、前記第2メッシュから所定の距離以上離れたメッシュの評価値よりも低くなるように、前記ステーションを設置する場所としての評価値を決定する、ことを特徴とする請求項5に記載の情報処理装置。
【請求項7】
前記第1生成部は、前記第1重み及び前記第2重みをランダムに変更しながら複数の合成マップを生成し、
前記抽出部は、前記複数の合成マップのそれぞれについて、前記推奨度が高い方から所定の数のメッシュを抽出し、
前記提示部は、前記複数の合成マップのそれぞれについて、前記所定の数のメッシュのそれぞれを前記候補とする配置を選択可能に前記端末に順次提示し、
前記決定部は、前記ユーザによって選択された配置における前記候補に対応するメッシュの評価値が、前記ユーザによって選択されなった配置における前記候補に対応するメッシュの評価値よりも高くなるように、前記ステーションを設置する場所としての評価値を決定する、
ことを特徴とする請求項1に記載の情報処理装置。
【請求項8】
前記更新部は、
前記評価値と前記第1特徴との相関関係が正の相関を示す場合には、更新後の第1重みが更新前の第1重みよりも大きくなるように、前記第1重みを更新し、
前記評価値と前記第1特徴との相関関係が負の相関を示す場合には、更新後の第1重みが更新前の第1重みよりも小さくなるように、前記第1重みを更新し、
前記評価値と前記第2特徴との相関関係が正の相関を示す場合には、更新後の第2重みが更新前の第2重みよりも大きくなるように、前記第2重みを更新し、
前記評価値と前記第2特徴との相関関係が負の相関を示す場合には、更新後の第2重みが更新前の第2重みよりも小さくなるように、前記第2重みを更新する、
ことを特徴とする請求項1に記載の情報処理装置。
【請求項9】
前記更新部は、更新前の重みと更新後の重みとの変化の度合いが前記相関関係の強弱に応じた度合いとなるように、前記第1重み及び前記第2重みを更新する、ことを特徴とする請求項8に記載の情報処理装置。
【請求項10】
前記更新部は、前記評価値に基づいて、機械学習又は線形計画問題を用いて前記第1重み及び前記第2重みを最適化することによって、前記第1重み及び前記第2重みを更新する、ことを特徴とする請求項1に記載の情報処理装置。
(【請求項11】以降は省略されています)
発明の詳細な説明
【技術分野】
【0001】
本発明は、情報処理装置、情報処理方法、システム及びプログラムに関する。
続きを表示(約 3,400 文字)
【背景技術】
【0002】
近年、地球温暖化などの環境への配慮の観点から、自動四輪車、自動三輪車、自動二輪車などの車両(移動体)においても、電気モータ(電動機)を動力源として走行可能な車両、所謂、電動車両が注目されている。電動車両では、電気モータに電力を供給するバッテリユニットとして、例えば、電動車両に交換可能着脱可能に搭載されるバッテリユニット、即ち、モバイルバッテリが用いられている。モバイルバッテリは、一般的に、交換式のバッテリであることから、バッテリステーションを介して、モバイルバッテリを貸与、回収、充電することで、充電時間の問題を回避することが可能である。
【0003】
このような電動車両を取り巻く環境において、バッテリステーションを設置するのに有用な情報を提供する技術が提案されている(特許文献1参照)。特許文献1には、特定の領域(を分割した各クラスタ内)を移動する電動車両の数や必要とされるバッテリ数を実データや統計データから予測し、特定の領域に設置するバッテリステーションにおけるスロットの配備数を決定する技術が開示されている。なお、スロットとは、バッテリを収容して充電するための収容部である。
【先行技術文献】
【特許文献】
【0004】
特開2020-154586号公報
【発明の概要】
【発明が解決しようとする課題】
【0005】
今後、環境問題への意識が高まるにつれて、電動車両が益々広がり、必然的に、バッテリステーションの需要も高まることが予想される。従って、バッテリステーションを設置して運営する運営者に対して、例えば、運営者やバッテリステーションの利用者にとって有益となるようなバッテリステーションの設置場所を提案する新たな技術が求められている。
【0006】
本発明は、電動製品に着脱可能に搭載されるバッテリを充電及び交換するためのステーションの設置を推奨する場所を提案するのに有利な技術を提供することを例示的目的とする。
【課題を解決するための手段】
【0007】
本発明の第1側面としての情報処理装置は、電動製品に着脱可能に搭載されるバッテリを充電及び交換するためのステーションの設置を推奨する場所を示す設置推奨場所マップを提供する情報処理装置であって、前記ステーションを設置可能な所定の領域を分割した複数のメッシュのそれぞれについて、当該メッシュの位置に関する互いに異なる特徴を示す第1位置データ及び第2位置データを取得する取得部と、前記第1位置データが示す第1特徴から生成された第1マップに第1重みを与えたマップと、前記第2位置データが示す第2特徴から生成された第2マップに前記第1重みとは異なる第2重みを与えたマップとを合成して、前記複数のメッシュのそれぞれの前記ステーションの設置を推奨する推奨度を示す合成マップを生成する第1生成部と、前記合成マップに基づいて、前記推奨度が高い方から所定の数のメッシュを抽出する抽出部と、前記所定の数のメッシュのそれぞれを、前記ステーションを設置する場所の候補として、ユーザに関連付けられた端末に提示する提示部と、前記所定の数のメッシュのそれぞれについて、前記ユーザによる前記候補の選択に応じて、前記ステーションを設置する場所としての評価値を決定する決定部と、前記評価値と前記第1特徴との相関関係、及び、前記評価値と前記第2特徴との相関関係に基づいて、前記第1重み及び前記第2重みを更新する更新部と、前記第1マップに更新後の前記第1重みを与えたマップと、前記第2マップに更新後の前記第2重みを与えたマップとを合成して前記設置推奨場所マップを生成する第2生成部と、を有する、ことを特徴とする。
【0008】
本発明の第2側面としての情報処理装置は、電動製品に着脱可能に搭載されるバッテリを充電及び交換するためのステーションの設置を推奨する場所を示す設置推奨場所マップを提供する情報処理装置であって、前記ステーションを設置可能な所定の領域を分割した複数のメッシュのそれぞれの位置に関する第1位置データから生成された第1マップに第1重みを与えたマップと、前記第1位置データとは異なる第2位置データから生成された第2マップに前記第1重みとは異なる第2重みを与えたマップとを合成した合成マップに基づいて、前記ステーションを設置する場所の候補を提示する提示部と、ユーザによる前記候補の選択に応じて、前記第1重み及び前記第2重みを更新する更新部と、前記第1マップに更新後の前記第1重みを与えたマップと、前記第2マップに更新後の前記第2重みを与えたマップとを合成して前記設置推奨場所マップを生成する生成部と、を有する、ことを特徴とする。
【0009】
本発明の第3側面としての情報処理方法は、電動製品に着脱可能に搭載されるバッテリを充電及び交換するためのステーションの設置を推奨する場所を示す設置推奨場所マップを提供する情報処理方法であって、前記ステーションを設置可能な所定の領域を分割した複数のメッシュのそれぞれについて、当該メッシュの位置に関する互いに異なる特徴を示す第1位置データ及び第2位置データを取得する工程と、前記第1位置データが示す第1特徴から生成された第1マップに第1重みを与えたマップと、前記第2位置データが示す第2特徴から生成された第2マップに前記第1重みとは異なる第2重みを与えたマップとを合成して、前記複数のメッシュのそれぞれの前記ステーションの設置を推奨する推奨度を示す合成マップを生成する工程と、前記合成マップに基づいて、前記推奨度が高い方から所定の数のメッシュを抽出する工程と、前記所定の数のメッシュのそれぞれを、前記ステーションを設置する場所の候補として、ユーザに関連付けられた端末に提示する工程と、前記所定の数のメッシュのそれぞれについて、前記ユーザによる前記候補の選択に応じて、前記ステーションを設置する場所としての評価値を決定する工程と、前記評価値と前記第1特徴との相関関係、及び、前記評価値と前記第2特徴との相関関係に基づいて、前記第1重み及び前記第2重みを更新する工程と、前記第1マップに更新後の前記第1重みを与えたマップと、前記第2マップに更新後の前記第2重みを与えたマップとを合成して前記設置推奨場所マップを生成する工程と、を有する、ことを特徴とする。
【0010】
本発明の第4側面としてのシステムは、電動製品に着脱可能に搭載されるバッテリを充電及び交換するためのステーションの設置を推奨する場所を示す設置推奨場所マップを提供する情報処理装置と、ユーザに関連付けられた端末と、を有するシステムであって、前記情報処理装置は、前記ステーションを設置可能な所定の領域を分割した複数のメッシュのそれぞれについて、当該メッシュの位置に関する互いに異なる特徴を示す第1位置データ及び第2位置データを取得する取得部と、前記第1位置データが示す第1特徴から生成された第1マップに第1重みを与えたマップと、前記第2位置データが示す第2特徴から生成された第2マップに前記第1重みとは異なる第2重みを与えたマップとを合成して、前記複数のメッシュのそれぞれの前記ステーションの設置を推奨する推奨度を示す合成マップを生成する第1生成部と、前記合成マップに基づいて、前記推奨度が高い方から所定の数のメッシュを抽出する抽出部と、前記所定の数のメッシュのそれぞれを、前記ステーションを設置する場所の候補としてユーザに関連付けられた端末に提示する提示部と、前記所定の数のメッシュのそれぞれについて、前記ユーザによる前記候補の選択に応じて、前記ステーションを設置する場所としての評価値を決定する決定部と、前記評価値と前記第1特徴との相関関係、及び、前記評価値と前記第2特徴との相関関係に基づいて、前記第1重み及び前記第2重みを更新する更新部と、前記第1マップに更新後の前記第1重みを与えたマップと、前記第2マップに更新後の前記第2重みを与えたマップとを合成して前記設置推奨場所マップを生成する第2生成部と、を有する、ことを特徴とする。
(【0011】以降は省略されています)
この特許をJ-PlatPat(特許庁公式サイト)で参照する
関連特許
本田技研工業株式会社
車両
10日前
本田技研工業株式会社
装置
9日前
本田技研工業株式会社
モータ
6日前
本田技研工業株式会社
車両構造
6日前
本田技研工業株式会社
送電装置
4日前
本田技研工業株式会社
受電装置
4日前
本田技研工業株式会社
車両構造
6日前
本田技研工業株式会社
ステータ
2日前
本田技研工業株式会社
保持装置
3日前
本田技研工業株式会社
内燃機関
9日前
本田技研工業株式会社
ロボット
1か月前
本田技研工業株式会社
内燃機関
9日前
本田技研工業株式会社
会話装置
2日前
本田技研工業株式会社
断続装置
4日前
本田技研工業株式会社
通知装置
9日前
本田技研工業株式会社
固体電池
4日前
本田技研工業株式会社
切断装置
2日前
本田技研工業株式会社
保管装置
4日前
本田技研工業株式会社
保管装置
4日前
本田技研工業株式会社
電解装置
17日前
本田技研工業株式会社
バッテリ
3日前
本田技研工業株式会社
バッテリ
3日前
本田技研工業株式会社
鞍乗型車両
16日前
本田技研工業株式会社
リンク機構
2日前
本田技研工業株式会社
リアクトル
9日前
本田技研工業株式会社
放電処理方法
4日前
本田技研工業株式会社
潤滑システム
4日前
本田技研工業株式会社
電源システム
4日前
本田技研工業株式会社
分離システム
6日前
本田技研工業株式会社
運転制御装置
6日前
本田技研工業株式会社
鞍乗り型車両
26日前
本田技研工業株式会社
車両制御装置
10日前
本田技研工業株式会社
固体二次電池
16日前
本田技研工業株式会社
車両制御装置
16日前
本田技研工業株式会社
潤滑システム
16日前
本田技研工業株式会社
車両制御装置
18日前
続きを見る
他の特許を見る