TOP
|
特許
|
意匠
|
商標
特許ウォッチ
Twitter
他の特許を見る
10個以上の画像は省略されています。
公開番号
2025144105
公報種別
公開特許公報(A)
公開日
2025-10-02
出願番号
2024043719
出願日
2024-03-19
発明の名称
半導体記憶装置
出願人
キオクシア株式会社
代理人
弁理士法人酒井国際特許事務所
主分類
H10B
43/27 20230101AFI20250925BHJP()
要約
【課題】複数の絶縁層の撓みを抑制すること。
【解決手段】実施形態の半導体記憶装置は、複数の導電層と複数の絶縁層とが交互に積層された積層体と、前記積層体を前記積層体の積層方向に延びるチャネル層を含むピラーと、前記ピラーの配置領域とは異なる前記積層体の領域に設けられ、前記複数の導電層のうちの1つの導電層に接続されるコンタクトと、前記コンタクトを囲むように前記コンタクトから所定距離離間して設けられ、前記積層体を前記積層方向に延びる複数の柱状部と、を備え、前記複数の絶縁層のうち、前記コンタクトを含んで前記複数の柱状部に囲まれた領域に位置する絶縁層は、少なくとも一部分において、前記ピラーの配置領域における絶縁層よりも高いヤング率、低い圧縮応力、及び高い引っ張り応力の少なくともいずれかを有する。
【選択図】図3
特許請求の範囲
【請求項1】
複数の導電層と複数の絶縁層とが交互に積層された積層体と、
前記積層体を前記積層体の積層方向に延びるチャネル層を含むピラーと、
前記ピラーの配置領域とは異なる前記積層体の領域に設けられ、前記複数の導電層のうちの1つの導電層に接続されるコンタクトと、
前記コンタクトを囲むように前記コンタクトから所定距離離間して設けられ、前記積層体を前記積層方向に延びる複数の柱状部と、を備え、
前記複数の絶縁層のうち、前記コンタクトを含んで前記複数の柱状部に囲まれた領域に位置する絶縁層は、少なくとも一部分において、前記ピラーの配置領域における絶縁層よりも高いヤング率、低い圧縮応力、及び高い引っ張り応力の少なくともいずれかを有する、
半導体記憶装置。
続きを表示(約 1,100 文字)
【請求項2】
前記複数の絶縁層のうち、前記コンタクトが配置される領域の絶縁層は、前記複数の柱状部に囲まれた領域内全体に亘って、前記ピラーの配置領域における絶縁層よりも高いヤング率、低い圧縮応力、及び高い引っ張り応力の少なくともいずれかを有する、
請求項1に記載の半導体記憶装置。
【請求項3】
前記複数の絶縁層のうち、前記コンタクトが配置される領域の絶縁層は、少なくとも前記コンタクトと前記積層方向に重なる部分において、前記ピラーの配置領域における絶縁層よりも高いヤング率、低い圧縮応力、及び高い引っ張り応力の少なくともいずれかを有する、
請求項1に記載の半導体記憶装置。
【請求項4】
前記複数の絶縁層は、前記複数の柱状部と接する部分から前記複数の柱状部の外側に向かう所定距離内において、他の部分よりも高いヤング率、低い圧縮応力、及び高い引っ張り応力の少なくともいずれかを有する、
請求項1に記載の半導体記憶装置。
【請求項5】
前記積層方向に交差する第1の方向と前記積層方向とに前記積層体中を延び、前記第1の方向と前記積層方向とに交差する第2の方向に前記積層体を分割する板状部を更に備え、
前記複数の絶縁層は、
前記板状部と接する部分から前記複数の柱状部へと向かう所定距離内において、他の部分よりも高いヤング率、低い圧縮応力、及び高い引っ張り応力の少なくともいずれかを有する、
請求項1に記載の半導体記憶装置。
【請求項6】
高いヤング率、低い圧縮応力、及び高い引っ張り応力の少なくともいずれかを有する前記絶縁層は、炭素、窒素、及び金属の少なくともいずれかを含む、
請求項1に記載の半導体記憶装置。
【請求項7】
高いヤング率、低い圧縮応力、及び高い引っ張り応力の少なくともいずれかを有する前記絶縁層は、0.5原子%以上の炭素を含む、
請求項6に記載の半導体記憶装置。
【請求項8】
前記複数の絶縁層は酸化シリコン層を含む、
請求項6に記載の半導体記憶装置。
【請求項9】
高いヤング率、低い圧縮応力、及び高い引っ張り応力の少なくともいずれかを有する前記絶縁層は、炭素および窒素の少なくともいずれかをドーパントとして含む、
請求項3に記載の半導体記憶装置。
【請求項10】
高いヤング率、低い圧縮応力、及び高い引っ張り応力の少なくともいずれかを有する前記絶縁層は、
炭素、窒素、アルミニウム、ジルコニウム、モリブデン、ハフニウム、及びチタンの少なくともいずれかを含む、
請求項4に記載の半導体記憶装置。
(【請求項11】以降は省略されています)
発明の詳細な説明
【技術分野】
【0001】
本発明の実施形態は、半導体記憶装置に関する。
続きを表示(約 2,400 文字)
【背景技術】
【0002】
3次元不揮発性メモリ等の半導体記憶装置においては、複数の犠牲層を積層し、複数の導電層に置き換える処理が行われる場合がある。このとき、複数の犠牲層間に介在される複数の絶縁層が撓んでしまう懸念がある。
【先行技術文献】
【特許文献】
【0003】
特開2019-102663号公報
【発明の概要】
【発明が解決しようとする課題】
【0004】
1つの実施形態は、複数の絶縁層の撓みを抑制することができる半導体記憶装置を提供することを目的とする。
【課題を解決するための手段】
【0005】
実施形態の半導体記憶装置は、複数の導電層と複数の絶縁層とが交互に積層された積層体と、前記積層体を前記積層体の積層方向に延びるチャネル層を含むピラーと、前記ピラーの配置領域とは異なる前記積層体の領域に設けられ、前記複数の導電層のうちの1つの導電層に接続されるコンタクトと、前記コンタクトを囲むように前記コンタクトから所定距離離間して設けられ、前記積層体を前記積層方向に延びる複数の柱状部と、を備え、前記複数の絶縁層のうち、前記コンタクトを含んで前記複数の柱状部に囲まれた領域に位置する絶縁層は、少なくとも一部分において、前記ピラーの配置領域における絶縁層よりも高いヤング率、低い圧縮応力、及び高い引っ張り応力の少なくともいずれかを有する。
【図面の簡単な説明】
【0006】
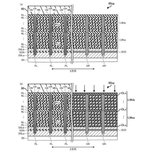
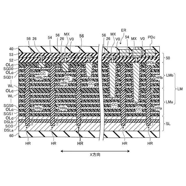
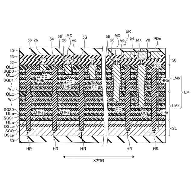
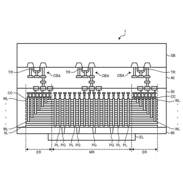
実施形態1にかかる半導体記憶装置の概略の構成例を示す断面図。
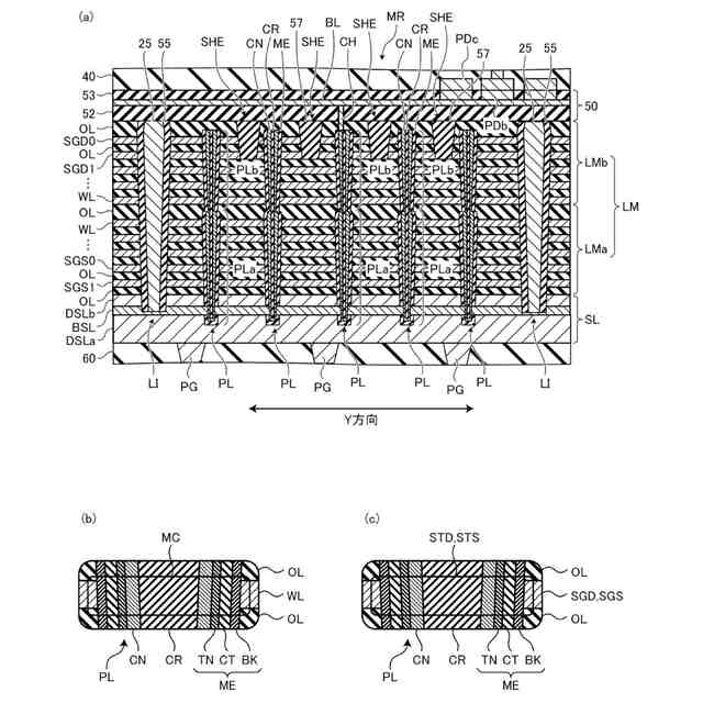
実施形態1にかかる半導体記憶装置の構成の一例を示す図。
実施形態1にかかる半導体記憶装置の構成の一例を示す図。
実施形態1にかかる半導体記憶装置の製造方法の手順の一部を順に例示する図。
実施形態1にかかる半導体記憶装置の製造方法の手順の一部を順に例示する図。
実施形態1にかかる半導体記憶装置の製造方法の手順の一部を順に例示する図。
実施形態1にかかる半導体記憶装置の製造方法の手順の一部を順に例示する図。
実施形態1にかかる半導体記憶装置の製造方法の手順の一部を順に例示する図。
実施形態1にかかる半導体記憶装置の製造方法の手順の一部を順に例示する図。
実施形態1にかかる半導体記憶装置の製造方法の手順の一部を順に例示する図。
実施形態1にかかる半導体記憶装置の製造方法の手順の一部を順に例示する図。
実施形態1にかかる半導体記憶装置の製造方法の手順の一部を順に例示する図。
実施形態1にかかる半導体記憶装置の製造方法の手順の一部を順に例示する図。
実施形態1にかかる半導体記憶装置の製造方法の手順の一部を順に例示する図。
実施形態1にかかる半導体記憶装置の製造方法の手順の一部を順に例示する図。
実施形態1にかかる半導体記憶装置の製造方法の手順の一部を順に例示する図。
実施形態1にかかる半導体記憶装置の製造方法の手順の一部を順に例示する図。
実施形態1の変形例1にかかる半導体記憶装置の構成の一例を示すX方向に沿う断面図。
実施形態1の変形例1にかかる半導体記憶装置の製造方法の手順の一部を順に例示する断面図。
実施形態1の変形例1にかかる半導体記憶装置の製造方法の手順の一部を順に例示する断面図。
実施形態1の変形例2にかかる半導体記憶装置の構成の一例を示すX方向に沿う断面図。
実施形態1の変形例2にかかる半導体記憶装置の製造方法の手順の一部を例示する断面図。
実施形態2にかかる半導体記憶装置の構成の一例を示すX方向に沿う断面図。
実施形態2にかかる半導体記憶装置の製造方法の手順の一部を順に例示する図。
実施形態2にかかる半導体記憶装置の製造方法の手順の一部を順に例示する図。
実施形態2にかかる半導体記憶装置の製造方法の手順の一部を順に例示する図。
実施形態2の変形例1にかかる半導体記憶装置aの構成の一例を示すX方向に沿う断面図。
実施形態2の変形例1にかかる半導体記憶装置の製造方法の手順の一部を例示する図。
実施形態2の変形例1にかかる半導体記憶装置の構成の一例を示すX方向に沿う断面図。
実施形態2の変形例2にかかる半導体記憶装置の製造方法の手順の一部を例示する図。
実施形態2の変形例3にかかる半導体記憶装置の構成の一例を示すX方向に沿う断面図。
その他の実施形態にかかる半導体記憶装置の概略の構成例を示す断面図。
【発明を実施するための形態】
【0007】
以下に、本発明の実施形態につき図面を参照しつつ詳細に説明する。なお、下記の実施形態により、本発明が限定されるものではない。また、下記実施形態における構成要素には、当業者が容易に想定できるものあるいは実質的に同一のものが含まれる。
【0008】
[実施形態1]
以下、図面を参照して実施形態1について詳細に説明する。
【0009】
(半導体記憶装置の構成例)
図1は、実施形態1にかかる半導体記憶装置1の概略の構成例を示す断面図である。ただし、図1においては図面の見やすさを考慮してハッチングを省略する。
【0010】
図1に示すように、半導体記憶装置1は、紙面下側から順に、電極膜EL、ソース線SL、及び複数のワード線WLを備える。また、半導体記憶装置1は、複数のワード線WLの上方に、半導体基板SBに設けられた周辺回路CBAを備える。
(【0011】以降は省略されています)
この特許をJ-PlatPat(特許庁公式サイト)で参照する
関連特許
キオクシア株式会社
記憶装置
15日前
キオクシア株式会社
記憶装置
9日前
キオクシア株式会社
記憶装置
9日前
キオクシア株式会社
記憶装置
11日前
キオクシア株式会社
記憶装置
7日前
キオクシア株式会社
半導体装置
7日前
キオクシア株式会社
半導体装置
9日前
キオクシア株式会社
半導体装置
8日前
キオクシア株式会社
半導体装置
8日前
キオクシア株式会社
半導体装置
15日前
キオクシア株式会社
磁気記憶装置
11日前
キオクシア株式会社
通信システム
9日前
キオクシア株式会社
磁気記憶装置
11日前
キオクシア株式会社
磁気記憶装置
8日前
キオクシア株式会社
磁気記憶装置
9日前
キオクシア株式会社
磁気記憶装置
9日前
キオクシア株式会社
基板ユニット
11日前
キオクシア株式会社
半導体記憶装置
7日前
キオクシア株式会社
メモリシステム
8日前
キオクシア株式会社
半導体記憶装置
8日前
キオクシア株式会社
半導体記憶装置
11日前
キオクシア株式会社
半導体記憶装置
7日前
キオクシア株式会社
有機分子メモリ
7日前
キオクシア株式会社
メモリデバイス
14日前
キオクシア株式会社
メモリデバイス
7日前
キオクシア株式会社
半導体記憶装置
9日前
キオクシア株式会社
半導体記憶装置
7日前
キオクシア株式会社
半導体記憶装置
7日前
キオクシア株式会社
半導体記憶装置
9日前
キオクシア株式会社
メモリデバイス
9日前
キオクシア株式会社
半導体記憶装置
7日前
キオクシア株式会社
メモリシステム
21日前
キオクシア株式会社
半導体記憶装置
9日前
キオクシア株式会社
半導体記憶装置
11日前
キオクシア株式会社
半導体記憶装置
11日前
キオクシア株式会社
メモリデバイス
7日前
続きを見る
他の特許を見る