TOP
|
特許
|
意匠
|
商標
特許ウォッチ
Twitter
他の特許を見る
10個以上の画像は省略されています。
公開番号
2025136648
公報種別
公開特許公報(A)
公開日
2025-09-19
出願番号
2024035372
出願日
2024-03-07
発明の名称
半導体記憶装置
出願人
キオクシア株式会社
代理人
弁理士法人志賀国際特許事務所
主分類
H10B
43/27 20230101AFI20250911BHJP()
要約
【課題】一実施形態は、電気的特性の向上を図ることができる半導体記憶装置を提供する。
【解決手段】一実施形態の半導体記憶装置は、積層体と、複数の柱状体と、複数のビット線と、複数の分断部とを有する。前記複数の分断部は、第3方向に分かれて配置されている。前記複数の分断部は、前記複数の分断部のなかで隣り合う第1分断部と第2分断部とを含む。前記複数の柱状体は、前記第1分断部と前記第2分断部の間の領域において、前記第3方向に延びた第1列に配置された3つ以上の柱状体と、前記第3方向に延びるとともに第2方向で前記第1列と隣り合う第2列に配置された2つ以上の柱状体とを含む。前記3つ以上の柱状体と前記2つ以上の柱状体とは前記第3方向に関して交互に並ぶ。前記3つ以上の柱状体および前記2つ以上の柱状体は、前記複数のビット線のなかで互いに異なるビット線に電気的に接続される。
【選択図】図9
特許請求の範囲
【請求項1】
複数のゲート電極層と複数の絶縁層とを含み、前記複数のゲート電極層と前記複数の絶縁層とが第1方向に1層ずつ交互に積層された積層体と、
前記積層体内を前記第1方向に延び、前記複数のゲート電極層との交差部にトランジスタが形成される複数の柱状体と、
前記積層体に対して前記第1方向の一方側に配置され、前記第1方向とは交差した第2方向に並び、前記第1方向および前記第2方向とは交差した第3方向にそれぞれ延びた複数のビット線と、
前記第3方向に分かれて配置され、それぞれ前記積層体内を前記第1方向に延び、前記一方側を下方とする場合に前記複数のゲート電極層のうち最下層を含む1つ以上のゲート電極層を前記第3方向に分断する複数の分断部と、
を備え、
前記複数の分断部は、前記複数の分断部のなかで隣り合う第1分断部と第2分断部とを含み、
前記複数の柱状体は、前記第1分断部と前記第2分断部の間の領域において、前記第3方向に延びた第1列に配置された3つ以上の柱状体と、前記第3方向に延びるとともに前記第2方向で前記第1列と隣り合う第2列に配置された2つ以上の柱状体とを含み、
前記3つ以上の柱状体と前記2つ以上の柱状体とは前記第3方向に関して交互に並び、
前記3つ以上の柱状体および前記2つ以上の柱状体は、前記複数のビット線のなかで互いに異なるビット線に電気的に接続される、
半導体記憶装置。
続きを表示(約 1,700 文字)
【請求項2】
前記複数のビット線は、第1ビット線を含み、
前記第1ビット線は、前記積層体とは反対側に向いた第1端と、前記積層体に向いた第2端とを有し、
前記第1端の前記第2方向の幅は、前記第2端の前記第2方向の幅よりも小さい、
請求項1に記載の半導体記憶装置。
【請求項3】
前記第1ビット線と、前記複数の柱状体に含まれる第1柱状体との間に配置されたコンタクトをさらに備え、
前記コンタクトは、前記第1ビット線の前記第2端に接する端を有し、
前記コンタクトの前記端の前記第2方向の幅は、前記第1ビット線の前記第2端の前記第2方向の幅と同じである、
請求項2に記載の半導体記憶装置。
【請求項4】
前記第1ビット線と、前記複数の柱状体に含まれる第1柱状体との間に位置したコンタクトをさらに備え、
前記コンタクトは、前記第1ビット線に接した第1部分と、前記第1部分と前記第1柱状体との間に設けられた第2部分とを含み、
前記第1部分は、前記第1柱状体に近付くに従い前記第2方向の幅が大きくなり、
前記第2部分は、前記第1柱状体に近付くに従い前記第2方向の幅が小さくなる、
請求項2または請求項3に記載の半導体記憶装置。
【請求項5】
前記第1方向から見た場合に前記複数のビット線と重なる絶縁層と、
前記絶縁層を前記第1方向に貫通したビアと、
前記複数のビット線の間に配置された絶縁部と、
をさらに備え、
前記複数のビット線は、第1ビット線と、前記第1ビット線の隣に位置する第2ビット線とを含み、
前記絶縁層は、前記第1方向から見た場合に前記第1ビット線と重なる第1部分と、前記第1方向から見た場合に前記第2ビット線と重なる第2部分と、前記第1部分および前記第2部分に対して前記複数のビット線とは反対側に位置し、少なくとも前記第2方向に延びた第3部分とを含み、
前記ビアは、前記絶縁層の前記第3部分と前記第1部分を前記第1方向に貫通して前記第1ビット線に接した第1導体部と、前記絶縁層の前記第3部分を前記第1方向に貫通して前記絶縁部に接し、前記第1導体部との間に段差を有した第2導体部とを含む、
請求項1または請求項2に記載の半導体記憶装置。
【請求項6】
前記絶縁部は、前記第2方向で前記複数のビット線の間に位置する空洞部を有した、
請求項5に記載の半導体記憶装置。
【請求項7】
複数のゲート電極層と複数の絶縁層とを含み、前記複数のゲート電極層と前記複数の絶縁層とが第1方向に1層ずつ交互に積層された積層体と、
前記積層体内を前記第1方向に延び、前記複数のゲート電極層との交差部にトランジスタが形成される複数の柱状体と、
前記積層体に対して前記第1方向の一方側に配置され、前記第1方向とは交差した第2方向に並び、前記第1方向および前記第2方向とは交差した第3方向にそれぞれ延びた複数のビット線と、
前記第3方向に分かれて配置され、それぞれ前記積層体内を前記第1方向に延び、前記一方側を下方とする場合に前記複数のゲート電極層のうち最下層を含む1つ以上のゲート電極層を前記第3方向に分断する複数の分断部と、
を備え、
前記複数の分断部は、前記複数の分断部のなかで隣り合う第1分断部と第2分断部とを含み、
前記複数の柱状体は、前記第1分断部と前記第2分断部の間の領域において、前記第3方向に延びた第1列に配置された柱状体として、2つ以下の柱状体のみを含むとともに、前記第3方向に延びるとともに前記第2方向で前記第1列と隣り合う第2列に配置された柱状体として、1つの柱状体のみを含み、
前記2つ以下の柱状体と前記1つの柱状体とは前記第3方向に関して交互に並び、
前記2つ以下の柱状体および前記1つの柱状体は、前記複数のビット線のなかで互いに異なるビット線に電気的に接続される、
半導体記憶装置。
発明の詳細な説明
【技術分野】
【0001】
本発明の実施形態は、半導体記憶装置に関する。
続きを表示(約 2,800 文字)
【背景技術】
【0002】
メモリセルが3次元に配置されたNAND型フラッシュメモリが知られている。
【先行技術文献】
【特許文献】
【0003】
特開2022-41054号公報
【発明の概要】
【発明が解決しようとする課題】
【0004】
一実施形態は、電気的特性の向上を図ることができる半導体記憶装置を提供する。
【課題を解決するための手段】
【0005】
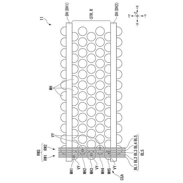
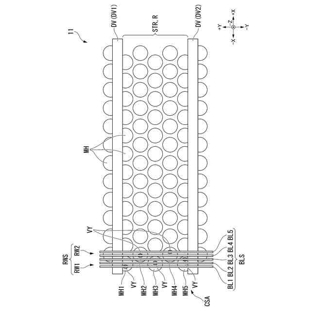
一実施形態の半導体記憶装置は、積層体と、複数の柱状体と、複数のビット線と、複数の分断部とを備える。前記積層体は、複数のゲート電極層と複数の絶縁層とを含む。前記複数のゲート電極層と前記複数の絶縁層とは、第1方向に1層ずつ交互に積層されている。前記複数の柱状体は、前記積層体内を前記第1方向に延びている。前記複数の柱状体と前記複数のゲート電極層との交差部には、トランジスタが形成される。前記複数のビット線は、前記積層体に対して前記第1方向の一方側に配置されている。前記複数のビット線は、前記第1方向とは交差した第2方向に並ぶ。前記複数のビット線は、前記第1方向および前記第2方向とは交差した第3方向にそれぞれ延びている。前記複数の分断部は、前記第3方向に分かれて配置されている。前記複数の分断部は、それぞれ前記積層体内を前記第1方向に延びている。前記複数の分断部は、前記一方側を下方とする場合に前記複数のゲート電極層のうち最下層を含む1つ以上のゲート電極層を前記第3方向に分断する。前記複数の分断部は、前記複数の分断部のなかで隣り合う第1分断部と第2分断部とを含む。前記複数の柱状体は、前記第1分断部と前記第2分断部の間の領域において、前記第3方向に延びた第1列に配置された3つ以上の柱状体と、前記第3方向に延びるとともに前記第2方向で前記第1列と隣り合う第2列に配置された2つ以上の柱状体とを含む。前記3つ以上の柱状体と前記2つ以上の柱状体とは前記第3方向に関して交互に並ぶ。前記3つ以上の柱状体および前記2つ以上の柱状体は、前記複数のビット線のなかで互いに異なるビット線に電気的に接続される。
【図面の簡単な説明】
【0006】
第1実施形態の半導体記憶装置の一部を示すブロック図。
第1実施形態のメモリセルアレイの一部の等価回路を示す図。
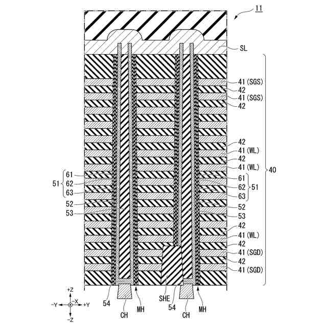
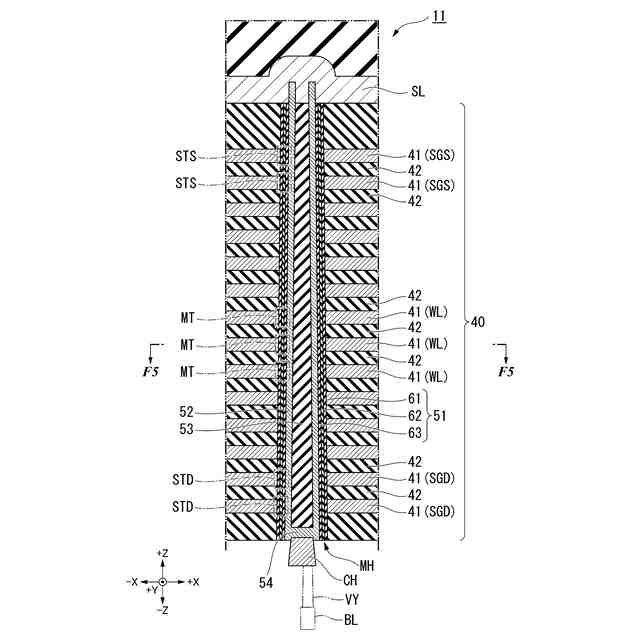
第1実施形態の半導体記憶装置の一部を示す断面図。
図3に示された半導体記憶装置のF4線で囲まれた領域を拡大して示す断面図。
図4に示された半導体記憶装置のF5-F5線に沿う断面図。
図3に示された半導体記憶装置のF6-F6線に沿う断面図。
図6に示された半導体記憶装置のF7線で囲まれた領域を拡大して示す断面図。
図3に示された半導体記憶装置のF8-F8線に沿う断面図。
図8に示された半導体記憶装置のF9線で囲まれた領域を拡大して示す断面図。
図8に示された半導体記憶装置のF10線で囲まれた領域を拡大して示す断面図。
図3に示された半導体記憶装置のF11線で囲まれた領域を拡大して示す断面図。
第1実施形態の半導体記憶装置の製造方法を説明するための断面図。
第1実施形態のビット線周囲の製造方法を説明するための断面図。
第1実施形態のビット線周囲の製造方法を説明するための断面図。
第1実施形態のビット線周囲の製造方法を説明するための断面図。
第1実施形態の半導体記憶装置の利点を説明するための図。
第1実施形態の半導体記憶装置の利点を説明するための図。
第1実施形態の第1変形例の半導体記憶装置の一部を示す断面図。
第1実施形態の第2変形例の半導体記憶装置の一部を示す断面図。
第2実施形態の半導体記憶装置の一部を示す断面図。
第2実施形態の半導体記憶装置の一部を示す断面図。
第2実施形態の半導体記憶装置の利点を説明するための図。
第2実施形態の第1変形例の半導体記憶装置の一部を示す断面図。
第2実施形態の第2変形例の半導体記憶装置の一部を示す断面図。
【発明を実施するための形態】
【0007】
以下、実施形態の半導体記憶装置を、図面を参照して説明する。以下の説明では、同一または類似の機能を有する構成に同一の符号を付す。そして、それら構成の重複する説明は省略する場合がある。以下の説明において、区別のための数字または英字を末尾に伴う参照符号は、互いに区別されなくてもよい場合、末尾の数字または英字が省略される場合がある。
【0008】
本出願では用語を以下のように定義される。「平行」、「直交」、または「同じ」とは、それぞれ「略平行」、「略直交」、または「略同じ」である場合を含み得る。「接続」とは、機械的な接続に限定されず、電気的な接続を含み得る。すなわち「接続」とは、複数の要素が直接に接続される場合に限定されず、複数の要素が別の要素を間に介在させて接続される場合を含み得る。「重なる」とは、複数の要素が互いに接する場合に限定されず、複数の要素が離れている場合(ある方向から見た場合に複数の要素の投影像同士が重なる場合)を含み得る。
【0009】
+X方向、-X方向、+Y方向、-Y方向、+Z方向、および-Z方向を、以下のように定義する。+X方向は、後述するワード線WLが延びた方向である(図3参照)。-X方向は、+X方向の反対方向である。+X方向と-X方向とを区別しない場合、単にX方向と称する。+Y方向は、X方向とは交差する(例えば直交する)方向である。+Y方向は、ビット線BLが延びた方向である(図6参照)。-Y方向は、+Y方向の反対方向である。+Y方向と-Y方向とを区別しない場合、単にY方向と称する。+Z方向は、X方向およびY方向とは交差する(例えば直交する)方向である。+Z方向は、後述するビット線BLから積層体40に向かう方向である(図3参照)。-Z方向は、+Z方向の反対方向である。+Z方向と-Z方向とを区別しない場合、単にZ方向と称する。
【0010】
本出願では、+Z方向側を「上」、-Z方向側を「下」と称する場合がある。ただしこれら表現は、説明の便宜上のものであり、重力方向を規定するものではない。Z方向は、「第1方向」の一例である。X方向は、「第2方向」の一例である。Y方向は、「第3方向」の一例である。また、以下に説明する図面では、説明と関連しない構成の図示が省略される場合がある。
(【0011】以降は省略されています)
この特許をJ-PlatPat(特許庁公式サイト)で参照する
関連特許
キオクシア株式会社
記憶装置
1日前
キオクシア株式会社
記憶装置
3日前
キオクシア株式会社
記憶装置
1日前
キオクシア株式会社
記憶装置
7日前
キオクシア株式会社
半導体装置
7日前
キオクシア株式会社
磁気メモリ
1か月前
キオクシア株式会社
半導体装置
1日前
キオクシア株式会社
磁気記憶装置
3日前
キオクシア株式会社
磁気記憶装置
3日前
キオクシア株式会社
基板ユニット
3日前
キオクシア株式会社
磁気記憶装置
1日前
キオクシア株式会社
情報処理装置
15日前
キオクシア株式会社
通信システム
1日前
キオクシア株式会社
磁気記憶装置
1日前
キオクシア株式会社
半導体記憶装置
3日前
キオクシア株式会社
半導体記憶装置
23日前
キオクシア株式会社
半導体記憶装置
13日前
キオクシア株式会社
メモリデバイス
6日前
キオクシア株式会社
半導体記憶装置
13日前
キオクシア株式会社
メモリシステム
23日前
キオクシア株式会社
メモリシステム
13日前
キオクシア株式会社
半導体記憶装置
15日前
キオクシア株式会社
メモリデバイス
15日前
キオクシア株式会社
半導体記憶装置
27日前
キオクシア株式会社
半導体記憶装置
3日前
キオクシア株式会社
半導体記憶装置
1日前
キオクシア株式会社
メモリシステム
29日前
キオクシア株式会社
半導体記憶装置
14日前
キオクシア株式会社
半導体記憶装置
1か月前
キオクシア株式会社
半導体記憶装置
1日前
キオクシア株式会社
メモリデバイス
1日前
キオクシア株式会社
半導体記憶装置
3日前
キオクシア株式会社
半導体記憶装置
1日前
キオクシア株式会社
半導体記憶装置
1か月前
キオクシア株式会社
半導体記憶装置
3日前
キオクシア株式会社
キャッシュサーバ
1か月前
続きを見る
他の特許を見る