TOP
|
特許
|
意匠
|
商標
特許ウォッチ
Twitter
他の特許を見る
公開番号
2025145036
公報種別
公開特許公報(A)
公開日
2025-10-03
出願番号
2024045008
出願日
2024-03-21
発明の名称
動力伝達装置
出願人
日立建機株式会社
代理人
弁理士法人広和特許事務所
主分類
F16H
41/30 20060101AFI20250926BHJP(機械要素または単位;機械または装置の効果的機能を生じ維持するための一般的手段)
要約
【課題】ロックアップ装置を係合状態としたときのトルクコンバータの動力損失を抑制する。
【解決手段】動力伝達装置15は、エンジン10によって駆動される入力軸25と、入力軸25の回転を変速する変速機20と、入力軸25の回転を作動油を介して変速機に伝達するトルクコンバータ21と、トルクコンバータ21に設けられ、入力軸25の回転を変速機20に直接伝達する係合状態と、入力軸25の回転をトルクコンバータ21を介して変速機20に伝達する解放状態とに切換わるロックアップ装置35とを備えている。トルクコンバータ21に作動油を供給するポンプ油路47には、ロックアップ装置35が解放状態にあるときにはポンプ油路47を連通させ、ロックアップ装置35が係合状態にあるときにはポンプ油路47を遮断する流体制御弁59を備えている。
【選択図】図4
特許請求の範囲
【請求項1】
原動機によって駆動される回転体と、
前記回転体の回転を変速する変速機と、
前記回転体の回転を作動流体を介して前記変速機に伝達するトルクコンバータと、
前記トルクコンバータに設けられ、前記回転体の回転を前記変速機に直接伝達する係合状態と、前記回転体の回転を前記トルクコンバータを介して前記変速機に伝達する解放状態とに切換わるロックアップ装置とを備えてなる動力伝達装置において、
前記トルクコンバータに前記作動流体を供給する流体通路には、前記ロックアップ装置が前記解放状態にあるときには前記流体通路を連通させ、前記ロックアップ装置が前記係合状態にあるときには前記流体通路を遮断する流体制御弁を備えたことを特徴とする動力伝達装置。
続きを表示(約 410 文字)
【請求項2】
前記流体通路は、前記トルクコンバータに供給される前記作動流体を吐出するポンプと前記トルクコンバータとの間を接続し、
前記流体制御弁は、前記流体通路のうち前記トルクコンバータよりも上流側に配置され、
前記流体通路のうち前記流体制御弁よりも上流側には、前記流体制御弁が前記流体通路を遮断したときに前記流体通路内の圧力を調整する圧力調整弁が設けられていることを特徴とする請求項1に記載の動力伝達装置。
【請求項3】
前記圧力調整弁は、前記流体通路内の圧力が設定値を超えたときに開弁して前記流体通路を流れる前記作動流体をバイパス通路を介してタンクに還流させる構成とし、
前記バイパス通路には、前記バイパス通路を流れる前記作動流体を前記トルクコンバータおよび前記ロックアップ装置に向けて噴射する流体噴射装置が設けられていることを特徴とする請求項2に記載の動力伝達装置。
発明の詳細な説明
【技術分野】
【0001】
本開示は、例えばホイールローダ等の作業車両に搭載され、動力源の回転を車軸に伝達する動力伝達装置に関する。
続きを表示(約 2,000 文字)
【背景技術】
【0002】
ホイールローダ等に代表されるホイール式の作業車両は、一般に、原動機と車軸との間にトルクコンバータ、変速機を備えた動力伝達装置(トランスミッション)が設けられている。トルクコンバータは、ポンプインペラ、タービンランナ、ステータを有し、原動機の回転を、作動流体を介して変速機に伝達する。変速機は原動機の回転を変速して車軸に伝達し、車輪を駆動する。これにより、作業車両は路面等を走行し、作業車両の前進走行、後進走行、走行速度等は、動力伝達装置によって切換えられる。
【0003】
一般に、トルクコンバータには、ロックアップ装置が搭載されている。ロックアップ装置は、ロックアップクラッチとピストンとを有し、ピストンによってロックアップクラッチを係合させる係合状態と、ピストンによるロックアップクラッチの係合を解除する解放状態とに切換る。ロックアップ装置は、例えば車両の速度が所定値以下であるときには解放状態となり、原動機の回転を作動流体を介して変速機に伝達する。一方、車両の速度が所定値を超えたときには係合状態となり、原動機の回転を作動流体を介することなく変速機に直接伝達する(特許文献1)。また、トルクコンバータに供給される作動流体の温度に基づいて、ロックアップ装置を解放状態と係合状態とに切換える構成とした動力伝達装置が提案されている(特許文献2)。
【先行技術文献】
【特許文献】
【0004】
2022-153862号公報
2009-121561号公報
【発明の概要】
【発明が解決しようとする課題】
【0005】
しかし、特許文献1、2のロックアップ装置は、ロックアップクラッチが係合した係合状態においても、トルクコンバータの内部には作動流体が供給される。このため、作動流体は、ロックアップクラッチによって一体化されたポンプインペラおよびタービンランナと一緒に流動する。このとき、トルクコンバータの内部に固定されたステータが、作動流体の円滑な流れを阻害することにより、トルクコンバータが動力損失を生じてしまう。この結果、ロックアップ装置が係合状態となったときの燃費(燃料消費率)が、必ずしも向上しないという問題がある。
【0006】
本発明は上述した従来技術の問題に鑑みなされたもので、ロックアップ装置を係合状態としたときのトルクコンバータの動力損失を抑制することができるようにした動力伝達装置を提供することにある。
【課題を解決するための手段】
【0007】
本発明は、原動機によって駆動される回転体と、前記回転体の回転を変速する変速機と、前記回転体の回転を作動流体を介して前記変速機に伝達するトルクコンバータと、前記トルクコンバータに設けられ、前記回転体の回転を前記変速機に直接伝達する係合状態と、前記回転体の回転を前記トルクコンバータを介して前記変速機に伝達する解放状態とに切換わるロックアップ装置とを備えてなる動力伝達装置において、前記トルクコンバータに前記作動流体を供給する流体通路には、前記ロックアップ装置が前記解放状態にあるときには前記流体通路を連通させ、前記ロックアップ装置が前記係合状態にあるときには前記流体通路を遮断する流体制御弁を備えたことを特徴としている。
【発明の効果】
【0008】
本発明によれば、ロックアップ装置が係合状態にあるときのトルクコンバータの動力損失を抑制することができる。
【図面の簡単な説明】
【0009】
本発明の実施形態による動力伝達装置が搭載されたホイールローダを示す左側面図である。
動力伝達装置を示す斜視図である。
動力伝達装置のトルクコンバータ、ロックアップ装置等を示す断面図である。
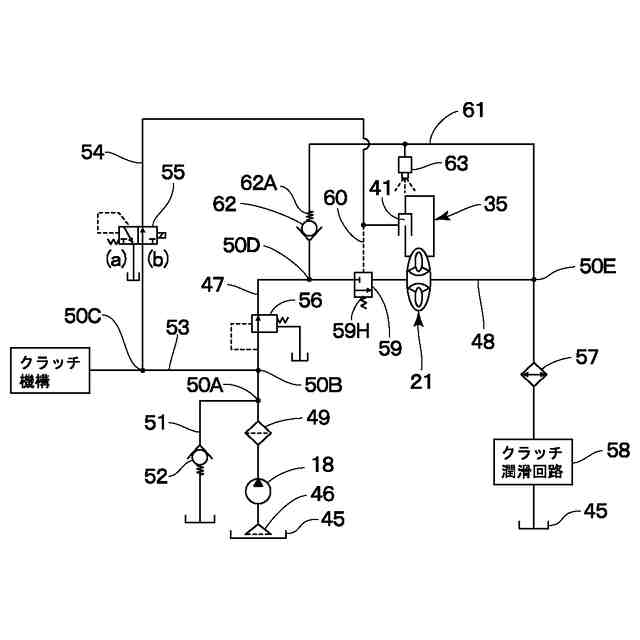
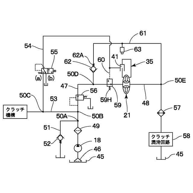
トルクコンバータ、ロックアップ装置等に対する作動油の供給径路を、ロックアップ装置を解放状態として示す油圧回路図である。
トルクコンバータ、ロックアップ装置等に対する作動油の供給径路を、ロックアップ装置を係合状態として示す油圧回路図である。
図3中のポンプ油路、流体制御弁等を、ポンプ油路が連通した状態で示す要部拡大の断面図である。
ポンプ油路、流体制御弁等を、ポンプ油路が遮断された状態で示す要部拡大の断面図である。
【発明を実施するための形態】
【0010】
以下、本発明に係る動力伝達装置の実施形態について、ホイールローダに搭載された場合を例に挙げ、添付図面を参照しつつ詳細に説明する。なお、実施形態では、ホイールローダの走行方向を前後方向とし、走行方向と直交する方向を左右方向として説明する。
(【0011】以降は省略されています)
この特許をJ-PlatPat(特許庁公式サイト)で参照する
関連特許
日立建機株式会社
作業機械
今日
日立建機株式会社
作業車両
4日前
日立建機株式会社
作業機械
26日前
日立建機株式会社
作業機械
18日前
日立建機株式会社
作業機械
12日前
日立建機株式会社
建設機械
8日前
日立建機株式会社
作業機械
8日前
日立建機株式会社
作業機械
5日前
日立建機株式会社
作業機械
5日前
日立建機株式会社
建設機械
4日前
日立建機株式会社
作業機械
4日前
日立建機株式会社
作業機械
4日前
日立建機株式会社
建設機械
4日前
日立建機株式会社
作業機械
4日前
日立建機株式会社
建設機械
今日
日立建機株式会社
建設機械
4日前
日立建機株式会社
作業車両
今日
日立建機株式会社
作業機械
今日
日立建機株式会社
作業車両
今日
日立建機株式会社
建設機械
今日
日立建機株式会社
作業機械
今日
日立建機株式会社
作業機械
4日前
日立建機株式会社
油圧機器
4日前
日立建機株式会社
液冷式抵抗器
4日前
日立建機株式会社
動力伝達装置
4日前
日立建機株式会社
動力伝達装置
今日
日立建機株式会社
電動建設機械
今日
日立建機株式会社
油圧システム
8日前
日立建機株式会社
電動式作業機械
4日前
日立建機株式会社
ダンプトラック
4日前
日立建機株式会社
物体検知システム
今日
日立建機株式会社
水素供給システム
4日前
日立建機株式会社
分別回収システム
8日前
日立建機株式会社
建設機械の作業装置
18日前
日立建機株式会社
減速機及び建設機械
4日前
日立建機株式会社
スプライン連結装置
8日前
続きを見る
他の特許を見る