TOP
|
特許
|
意匠
|
商標
特許ウォッチ
Twitter
他の特許を見る
公開番号
2025145778
公報種別
公開特許公報(A)
公開日
2025-10-03
出願番号
2024046157
出願日
2024-03-22
発明の名称
画像形成システム、画像形成システムの制御方法、及び、画像形成装置
出願人
セイコーエプソン株式会社
代理人
個人
,
個人
,
個人
主分類
H04N
1/00 20060101AFI20250926BHJP(電気通信技術)
要約
【課題】画像形成装置の重要な機能が不適切に実行されてしまうおそれがある。
【解決手段】入力部及び実行可能な機能を有する画像形成装置と、画像形成装置と通信可能な情報処理装置と、を備える画像形成システムであって、情報処理装置は、画像形成装置において要求の受信に基づき実行される第1機能の権限に係る第1権限情報を、画像形成装置を使用する使用者の識別情報に対応付けて、画像形成装置に設定させ、画像形成装置は、画像形成装置において入力部による要求の入力に基づき実行される第2機能の権限に係る第2権限情報を、第1権限情報及び識別情報に対応付けて設定し、識別情報が画像形成装置により取得され、第1機能又は第2機能の実行が画像形成装置に対して要求されると、画像形成装置は、識別情報と共に、第1権限情報又は第2権限情報に基づき、要求された第1機能又は第2機能の実行の可否を判断する。
【選択図】図1
特許請求の範囲
【請求項1】
入力部及び実行可能な機能を有する画像形成装置と、前記画像形成装置と通信可能な情報処理装置と、を備える画像形成システムであって、
前記情報処理装置は、前記画像形成装置において要求の受信に基づき実行される第1機能の権限に係る第1権限情報を、前記画像形成装置を使用する使用者の識別情報に対応付けて、前記画像形成装置に設定させ、
前記画像形成装置は、前記画像形成装置において前記入力部による要求の入力に基づき実行される第2機能の権限に係る第2権限情報を、前記第1権限情報及び前記識別情報に対応付けて設定し、
前記識別情報が前記画像形成装置により取得され、前記第1機能又は前記第2機能の実行が前記画像形成装置に対して要求されると、
前記画像形成装置は、前記識別情報と共に、前記第1権限情報又は前記第2権限情報に基づき、要求された前記第1機能又は前記第2機能の実行の可否を判断する、画像形成システム。
続きを表示(約 1,500 文字)
【請求項2】
前記画像形成装置は、前記画像形成装置において実行された前記第1機能及び前記第2機能の少なくとも一方の実績情報を、前記識別情報を特定せずに記憶し、
前記情報処理装置は、前記画像形成装置から取得した前記実績情報に基づき、前記画像形成装置に前記第1権限情報を設定させる、請求項1に記載の画像形成システム。
【請求項3】
前記画像形成装置及び前記情報処理装置は、Webサーバー及びWebクライアントの関係にあり、
前記情報処理装置は、前記画像形成装置から提供されたWebページを使用して、前記画像形成装置に前記第1権限情報を設定させる、請求項1に記載の画像形成システム。
【請求項4】
前記画像形成装置において、前記第1権限情報による設定の権限は、前記使用者とは異なる管理者の管理者識別情報に対応付けられており、
前記管理者識別情報が前記画像形成装置により取得され、前記第1権限情報による設定が前記画像形成装置に対して要求されると、
前記画像形成装置は、前記管理者識別情報に基づき、要求された前記第1権限情報による設定の可否を判断する、請求項1に記載の画像形成システム。
【請求項5】
前記第1権限情報に係る前記第1機能の項目に対応する前記第2権限情報に係る前記第2機能の項目は複数である、請求項1に記載の画像形成システム。
【請求項6】
前記第2権限情報に係る前記第2機能の項目は、対応する前記第1権限情報に係る前記第1機能の項目を包含する、請求項1に記載の画像形成システム。
【請求項7】
前記識別情報は複数あり、前記情報処理装置は、それぞれの前記識別情報に対応付けて、前記画像形成装置に前記第1権限情報を設定させる、請求項1に記載の画像形成システム。
【請求項8】
入力部及び実行可能な機能を有する画像形成装置と、前記画像形成装置と通信可能な情報処理装置と、を備える画像形成システムの制御方法であって、
前記情報処理装置は、前記画像形成装置において要求の受信に基づき実行される第1機能の権限に係る第1権限情報を、前記画像形成装置を使用する使用者の識別情報に対応付けて、前記画像形成装置に設定させ、
前記画像形成装置は、前記画像形成装置において前記入力部による要求の入力に基づき実行される第2機能の権限に係る第2権限情報を、前記第1権限情報及び前記識別情報に対応付けて設定し、
前記識別情報が前記画像形成装置により取得され、前記第1機能又は前記第2機能の実行が前記画像形成装置に対して要求されると、
前記画像形成装置は、前記識別情報と共に、前記第1権限情報又は前記第2権限情報に基づき、要求された前記第1機能又は前記第2機能の実行の可否を判断する、画像形成システムの制御方法。
【請求項9】
情報処理装置と通信可能であり、
入力部と、
記憶部と、
機能を実行可能な制御部と、を備える画像形成装置であって、
前記制御部は、
要求の受信に基づき実行される第1機能の権限に係る第1権限情報を前記情報処理装置から取得して、使用者の識別情報に対応付けて前記記憶部に設定し、
前記入力部による要求の入力に基づき実行される第2機能の権限に係る第2権限情報を、前記第1権限情報及び前記識別情報に対応付けて前記記憶部に設定し、
前記識別情報を取得して、前記第1機能又は前記第2機能の実行が要求されると、
前記識別情報と共に、前記第1権限情報又は前記第2権限情報に基づき、要求された前記第1機能又は前記第2機能の実行の可否を判断する、画像形成装置。
発明の詳細な説明
【技術分野】
【0001】
本発明は、画像形成システム、画像形成システムの制御方法、及び、画像形成装置に関する。
続きを表示(約 2,500 文字)
【背景技術】
【0002】
従来、特許文献1に示すように、管理装置としての管理サーバーが、画像形成装置にとって重要な機能としての設定が、実行として変更された場合に、管理者へ提示するシステムが開示されている。
【先行技術文献】
【特許文献】
【0003】
特開2006-33529号公報
【発明の概要】
【発明が解決しようとする課題】
【0004】
上述のシステムでは、画像形成装置の重要な機能が不適切に実行されてしまうおそれがある。
【課題を解決するための手段】
【0005】
入力部及び実行可能な機能を有する画像形成装置と、前記画像形成装置と通信可能な情報処理装置と、を備える画像形成システムであって、前記情報処理装置は、前記画像形成装置において要求の受信に基づき実行される第1機能の権限に係る第1権限情報を、前記画像形成装置を使用する使用者の識別情報に対応付けて、前記画像形成装置に設定させ、前記画像形成装置は、前記画像形成装置において前記入力部による要求の入力に基づき実行される第2機能の権限に係る第2権限情報を、前記第1権限情報及び前記識別情報に対応付けて設定し、前記識別情報が前記画像形成装置により取得され、前記第1機能又は前記第2機能の実行が前記画像形成装置に対して要求されると、前記画像形成装置は、前記識別情報と共に、前記第1権限情報又は前記第2権限情報に基づき、要求された前記第1機能又は前記第2機能の実行の可否を判断する。
【0006】
入力部及び実行可能な機能を有する画像形成装置と、前記画像形成装置と通信可能な情報処理装置と、を備える画像形成システムの制御方法であって、前記情報処理装置は、前記画像形成装置において要求の受信に基づき実行される第1機能の権限に係る第1権限情報を、前記画像形成装置を使用する使用者の識別情報に対応付けて、前記画像形成装置に設定させ、前記画像形成装置は、前記画像形成装置において前記入力部による要求の入力に基づき実行される第2機能の権限に係る第2権限情報を、前記第1権限情報及び前記識別情報に対応付けて設定し、前記識別情報が前記画像形成装置により取得され、前記第1機能又は前記第2機能の実行が前記画像形成装置に対して要求されると、前記画像形成装置は、前記識別情報と共に、前記第1権限情報又は前記第2権限情報に基づき、要求された前記第1機能又は前記第2機能の実行の可否を判断する。
【0007】
情報処理装置と通信可能であり、入力部と、記憶部と、機能を実行可能な制御部と、を備える画像形成装置であって、前記制御部は、要求の受信に基づき実行される第1機能の権限に係る第1権限情報を前記情報処理装置から取得して、使用者の識別情報に対応付けて前記記憶部に設定し、前記入力部による要求の入力に基づき実行される第2機能の権限に係る第2権限情報を、前記第1権限情報及び前記識別情報に対応付けて前記記憶部に設定し、前記識別情報を取得して、前記第1機能又は前記第2機能の実行が要求されると、前記識別情報と共に、前記第1権限情報又は前記第2権限情報に基づき、要求された前記第1機能又は前記第2機能の実行の可否を判断する。
【図面の簡単な説明】
【0008】
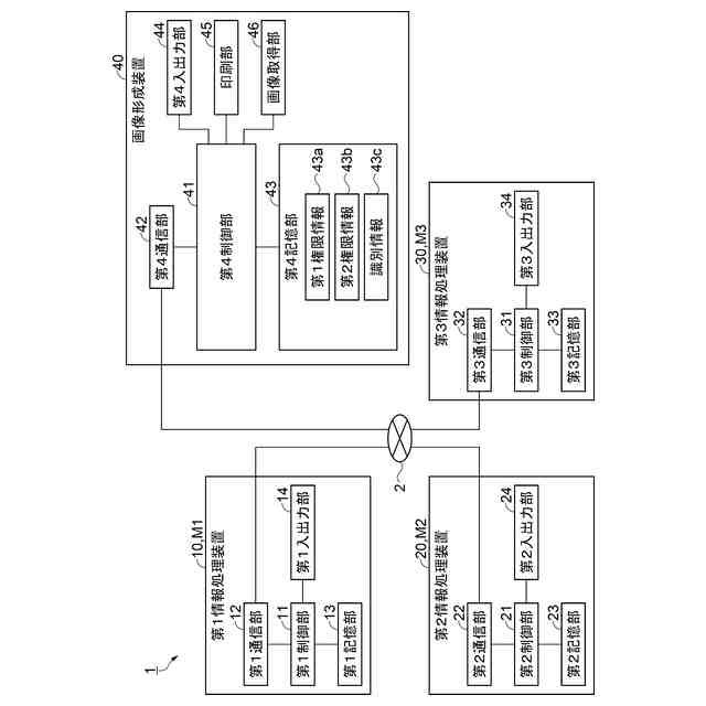
画像形成システムの構成を示すブロック図。
第1権限情報及び第2権限情報の関係の例を示す模式図。
第1権限情報及び第2権限情報の関係の別の例を示す模式図。
実施形態1の画像形成システムの制御方法を示す状態遷移図。
実施形態2の画像形成システムの制御方法を示す状態遷移図。
実施形態3の画像形成システムの制御方法を示す状態遷移図。
機能を実行した実績の順位、並びに、第1権限情報及び第2権限情報の関係の例を示す模式図。
【発明を実施するための形態】
【0009】
1.画像形成システムの構成
実施形態に係る画像形成システム1は、図1に示すように、第1情報処理装置10、第2情報処理装置20、第3情報処理装置30、画像形成装置40を含んで構成される。
第1情報処理装置10は、画像形成装置40に対して、後述のように、機能の権限に係る設定が可能な情報処理装置であり、いわゆる管理装置である。
また、図1の例では、第1情報処理装置10は、画像形成装置40の管理者であり、また使用者でもある第1者M1が使用するものとする。第2情報処理装置20は画像形成装置40の使用者である第2者M2が使用し、第3情報処理装置30は画像形成装置40の使用者である第3者M3が使用するものとする。
なお、画像形成システム1は、第3情報処理装置30を備えなくてもよく、或いは、第2情報処理装置20及び第3情報処理装置30と同様の情報処理装置をさらに備えるようにしてもよい。
【0010】
画像形成システム1を構成するこれらの装置は、例えば限定された範囲である会社内などの通信網である、LAN(Local Area Network)などのネットワーク2に接続され、相互に通信可能である。
なお、ネットワーク2は、例えばインターネットである、WAN(Wide Area Network)であってもよい。
また、これらの装置には固有の通信アドレスである、例えばIPアドレス(Internet Protocol Address)が割り当てられ、通信先のIPアドレスを指定して通信することができる。これらの装置は、例えば、HTTP(Hypertext Transfer Protocol)やHTTPS(Hypertext Transfer Protocol Secure)などのプロトコルを用いて通信可能である。
(【0011】以降は省略されています)
この特許をJ-PlatPat(特許庁公式サイト)で参照する
関連特許
個人
店内配信予約システム
2か月前
サクサ株式会社
中継装置
2か月前
WHISMR合同会社
収音装置
23日前
アイホン株式会社
電気機器
17日前
キヤノン株式会社
電子機器
2か月前
キヤノン株式会社
撮像装置
1か月前
キヤノン株式会社
撮像装置
3か月前
株式会社リコー
画像形成装置
1か月前
株式会社リコー
画像形成装置
1か月前
株式会社リコー
画像形成装置
1か月前
キヤノン電子株式会社
画像読取装置
24日前
個人
ワイヤレスイヤホン対応耳掛け
15日前
キヤノン電子株式会社
モバイル装置
2か月前
ヤマハ株式会社
信号処理装置
3か月前
日本精機株式会社
画像投映システム
2か月前
電気興業株式会社
無線中継器
3か月前
ブラザー工業株式会社
読取装置
1か月前
キヤノン株式会社
撮像システム
17日前
株式会社ニコン
撮像装置
2か月前
株式会社松平商会
携帯機器カバー
26日前
キヤノン電子株式会社
シート材搬送装置
1か月前
パテントフレア株式会社
超高速電波通信
1か月前
パテントフレア株式会社
水中電波通信法
2か月前
沖電気工業株式会社
画像形成装置
5日前
国立大学法人電気通信大学
小型光学装置
1か月前
大日本印刷株式会社
写真撮影装置
16日前
株式会社小糸製作所
画像照射装置
1か月前
DXO株式会社
情報処理システム
2か月前
株式会社JVCケンウッド
通信システム
1日前
有限会社フィデリックス
マイクロフォン
1日前
日本無線株式会社
無線通信システム
26日前
株式会社オーディオテクニカ
受光器
2か月前
テックス通信株式会社
電話システム
2か月前
日本無線株式会社
無線通信システム
9日前
日本無線株式会社
無線通信システム
1か月前
株式会社国際電気
遠隔監視システム
1か月前
続きを見る
他の特許を見る