TOP
|
特許
|
意匠
|
商標
特許ウォッチ
Twitter
他の特許を見る
10個以上の画像は省略されています。
公開番号
2025145960
公報種別
公開特許公報(A)
公開日
2025-10-03
出願番号
2024046497
出願日
2024-03-22
発明の名称
電気機器
出願人
日本アビオニクス株式会社
代理人
個人
主分類
H01F
30/10 20060101AFI20250926BHJP(基本的電気素子)
要約
【課題】電気的接続の物理的な距離を短くする。
【解決手段】電気機器は、一端31と他端32とを有するコイル30と、一端31が物理的かつ電気的に接続される板状部品61と、他端32が物理的かつ電気的に接続される板状部品62と、を備え、板状部品62は、コイル30から見て板状部品61の背後に配置され、板状部品61は、他端32が通る貫通孔61Cを備える。板状部品61及び62は、板状であり、互いに平行に配置され、一端31は、凸部31Aと凸部31Aに繋がった接続面31Bとを備える。板状部品61は、凸部31Aが挿入されることでコイル30を位置決めする位置決め孔61Aを備え、接続面31Bと接触することで一端31と物理的かつ電気的に接続される。
【選択図】図6
特許請求の範囲
【請求項1】
第1接続端と第2接続端とを有する第1電気部品と、
前記第1接続端が物理的かつ電気的に接続される第1接続電気部品と、
前記第2接続端が物理的かつ電気的に接続される第2接続電気部品と、を備え、
前記第2接続電気部品は、前記第1電気部品から見て前記第1接続電気部品の背後に配置され、
前記第1接続電気部品は、前記第2接続端が通る貫通孔を備える、
電気機器。
続きを表示(約 1,700 文字)
【請求項2】
前記第1及び第2接続電気部品は、板状であり、互いに平行に配置され、
前記第1接続端は、凸部と前記凸部に繋がった接続面とを備え、
前記第1接続電気部品は、前記凸部が挿入されることで前記第1電気部品を位置決めする第1位置決め孔を備え、前記接続面と接触することで前記第1接続端と物理的かつ電気的に接続される、
請求項1に記載の電気機器。
【請求項3】
前記第1及び第2接続電気部品は、板状であり、互いに平行に配置され、
前記第2接続端は、凸部と前記凸部に繋がった接続面とを備え、
前記第2接続電気部品は、前記第2接続端の前記凸部が挿入されることで前記第1電気部品を位置決めする第2位置決め孔を備え、前記第2接続端の前記接続面と接触することで前記第2接続端と物理的かつ電気的に接続される、
請求項1又は2に記載の電気機器。
【請求項4】
第1接続端と第2接続端を有し、前記第1接続電気部品に対して前記第1電気部品と同じ側に配置された第2電気部品であり、前記第1接続端が前記第1接続電気部品に物理的かつ電気的に接続される第2電気部品と、
前記第2電気部品の前記第2接続端が物理的かつ電気的に接続される第3接続電気部品と、をさらに備え、
前記第3接続電気部品は、前記第2電気部品から見て前記第1及び第2接続電気部品の背後に配置され、
前記第1及び第2接続電気部品のそれぞれは、前記第2電気部品の前記第2接続端が通る貫通孔を備える、
請求項1に記載の電気機器。
【請求項5】
前記第1及び第2電気部品は、それぞれ、トランスの二次側の第1コイル及び第2コイルであり、
前記第1~第3接続電気部品のそれぞれは、互いに平行な板状導体である、
請求項4に記載の電気機器。
【請求項6】
前記第3接続電気部品に前記第2電気部品と反対側から物理的かつ電気的に接続される、前記第1~第3接続電気部品と直交する直交方向に延びた第1導体と、
前記第2接続電気部品に前記第1電気部品と反対側から物理的かつ電気的に接続される、前記直交方向に延びた第2導体と、
前記第1接続電気部品に前記第1電気部品と反対側から物理的かつ電気的に接続される、前記直交方向に延びた第1電極と、
前記第1導体と前記第2導体との間に配置され、前記直交方向に延びた第2電極と、
前記第1導体に接続されるアノードと前記第2電極に接続されるカソードを備える1又は複数の第1ダイオードと、
前記第2導体に接続されるアノードと前記第2電極に接続されるカソードを備える1又は複数の第2ダイオードと、
をさらに備える請求項5に記載の電気機器。
【請求項7】
前記第1接続電気部品に物理的かつ電気的に接続される第1接続端及び前記第2接続電気部品に物理的かつ電気的に接続される第2接続端を有する、トランスの二次側のコイルからなる第3電気部品と、
前記第1接続電気部品に物理的かつ電気的に接続される第1接続端及び前記第3接続電気部品に物理的かつ電気的に接続される第2接続端を有する、トランスの二次側のコイルからなる第4電気部品と、をさらに備え、
前記第1接続電気部品は、前記第3電気部品の前記第2接続端が通る貫通孔を備え、
前記第1及び第2接続電気部品は、前記第4電気部品の前記第2接続端が通る貫通孔を備える、
請求項6に記載の電気機器。
【請求項8】
前記第1導体と前記第2導体と前記第1電極と前記第2電極とは、板状である、
請求項6に記載の電気機器。
【請求項9】
前記第2接続電気部品は、前記第1電極の端部が通る貫通孔を備える、
請求項6に記載の電気機器。
【請求項10】
前記1又は複数の第1ダイオードと、前記1又は複数の第2ダイオードとの少なくとも一方は、1以上のショットキーダイオードを含む、
請求項6に記載の電気機器。
(【請求項11】以降は省略されています)
発明の詳細な説明
【技術分野】
【0001】
本発明は、電力変換装置などの電気機器に関する。
続きを表示(約 1,800 文字)
【背景技術】
【0002】
特許文献1(特に図1)が開示するように、トランスの二次コイルの後段に、トランスにより変圧された交流電力を整流する整流部が配置された電力変換装置が知られている。
【先行技術文献】
【特許文献】
【0003】
特許第7213938号公報
【発明の概要】
【発明が解決しようとする課題】
【0004】
ところで、上記電力変換装置では、二次コイルと整流部を構成するダイオードとの電気的接続の物理的な距離が、低インダクタンス化のために短い方が好ましい。電気的接続の物理的な距離が短い方が好ましいことは、電力変換装置に限定されず、電気機器一般にいえる。
【0005】
本発明は、電気的接続の物理的な距離を短くすることを課題とする。
【課題を解決するための手段】
【0006】
上記課題を解決するため、本発明に係る電気機器は、第1接続端と第2接続端とを有する第1電気部品と、前記第1接続端が物理的かつ電気的に接続される第1接続電気部品と、前記第2接続端が物理的かつ電気的に接続される第2接続電気部品と、を備え、前記第2接続電気部品は、前記第1電気部品から見て前記第1接続電気部品の背後に配置され、前記第1接続電気部品は、前記第2接続端が通る貫通孔を備える。
【発明の効果】
【0007】
本発明によれば、第1電気部品の第2接続端が第1接続電気部品の貫通孔を通して第2接続電気部品に接続されるため、第2接続端を、第1接続電気部品を迂回せずに第2接続電気部品に至らせることができ、第1電気部品と第2接続電気部品との電気的接続の物理的な距離を短くすることができる。
【図面の簡単な説明】
【0008】
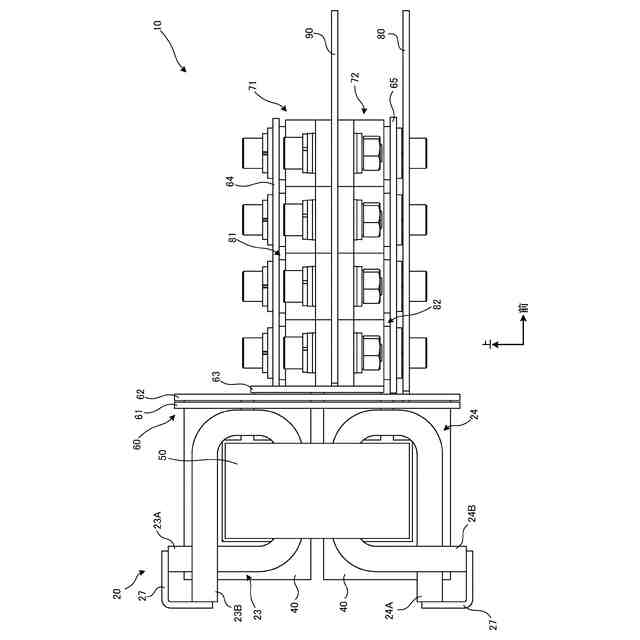
図1は、本発明の実施形態に係る電気機器の斜視図である。
図2は、本発明の実施形態に係る電気機器を右方向から見た立面図である。
図3は、コアに巻かれた一次側のコイルの斜視図である。
図4は、コアに巻かれた二次側のコイルの斜視図である。
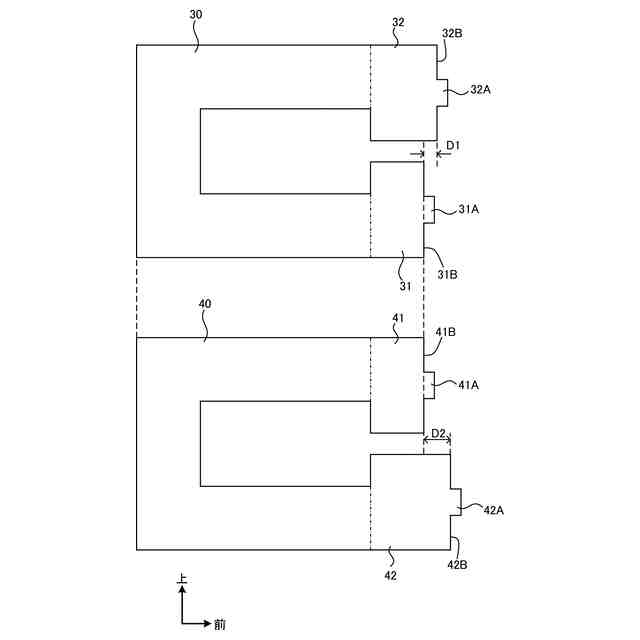
図5は、二次側の2種のコイルを右方向から見た立面図である。
図6は、本発明の実施形態に係る電気機器の二次側の部分の分解斜視図である。
図7は、本発明の実施形態に係る電気機器の二次側の部分の分解斜視図である。
図8は、本発明の実施形態に係る電気機器の二次側の部分の分解斜視図である。
図9は、本発明の実施形態に係る電気機器の二次側の部分の分解斜視図である。
図10は、本発明の実施形態に係る電気機器の等価回路図である。
図11は、変形例に係る電気機器の構成を概略的に示す断面図である。
【発明を実施するための形態】
【0009】
以下、本発明の実施形態を、図面を参照して説明する。図面において、同じ機能を有する複数の要素については、その一部の要素のみに符号を付していることがある。
【0010】
図1及び図2に示すように、本実施形態に係る電気機器10は、一次側のコイル20と、二次側の複数のコイル30と、二次側の複数のコイル40と、コイル20~40の中心の空間を貫く環状のコア50と、を備える。各要素20~50は、トランスを構成している。電気機器10は、接続部60と、複数のダイオード71及び72と、電極部品80及び90と、をさらに備える。接続部60は、図10の回路図のように、コイル30及び40の各一端31及び41(図5など。詳細は後述)と電極部品80とを接続し、かつ、コイル30及び40の各他端32及び42(図5など。詳細は後述)と電極部品90とをダイオード71及び72を介して接続する。このような接続の実現のため、接続部60は、板状部品61~65を含む。コイル20~40、接続部を構成する後述の板状部品61~65、電極部品80及び90は、金属製の導体からなるが、これらの電気的接続を意図しない部分には、適宜絶縁膜が配置される。当該絶縁膜としては、絶縁ワニス、絶縁紙などが挙げられる。電気機器10は、コイル20~40により交流電力を変圧(ここでは降圧)し、変圧後の交流電力をダイオード71及び72により全波整流する電力変換装置として構成されている。
(【0011】以降は省略されています)
この特許をJ-PlatPat(特許庁公式サイト)で参照する
関連特許
個人
安全なNAS電池
1か月前
東レ株式会社
多孔質炭素シート
26日前
日本発條株式会社
積層体
7日前
個人
フリー型プラグ安全カバー
1か月前
ローム株式会社
半導体装置
3日前
ローム株式会社
半導体装置
5日前
ローム株式会社
半導体装置
26日前
ローム株式会社
半導体装置
5日前
ローム株式会社
半導体装置
5日前
エイブリック株式会社
半導体装置
28日前
エイブリック株式会社
半導体装置
28日前
個人
防雪防塵カバー
7日前
キヤノン株式会社
電子機器
26日前
個人
半導体パッケージ用ガラス基板
6日前
株式会社GSユアサ
蓄電装置
1か月前
オムロン株式会社
電磁継電器
1か月前
株式会社ホロン
冷陰極電子源
3日前
東レ株式会社
ガス拡散層の製造方法
26日前
株式会社GSユアサ
蓄電装置
1か月前
ニチコン株式会社
コンデンサ
19日前
株式会社ティラド
面接触型熱交換器
18日前
株式会社GSユアサ
蓄電装置
7日前
株式会社GSユアサ
蓄電装置
1か月前
株式会社GSユアサ
蓄電装置
3日前
沖電気工業株式会社
アンテナ
1か月前
ニチコン株式会社
コンデンサ
19日前
太陽誘電株式会社
全固体電池
3日前
日本特殊陶業株式会社
保持装置
1か月前
ローム株式会社
電子装置
7日前
株式会社ヨコオ
コネクタ
28日前
マクセル株式会社
配列用マスク
18日前
日本特殊陶業株式会社
保持装置
7日前
トヨタ自動車株式会社
蓄電装置
1か月前
日本特殊陶業株式会社
保持装置
3日前
TDK株式会社
電子部品
3日前
日本特殊陶業株式会社
保持装置
5日前
続きを見る
他の特許を見る