TOP
|
特許
|
意匠
|
商標
特許ウォッチ
Twitter
他の特許を見る
10個以上の画像は省略されています。
公開番号
2025146371
公報種別
公開特許公報(A)
公開日
2025-10-03
出願番号
2024047110
出願日
2024-03-22
発明の名称
ブリッジ回路のハイサイドドライバ回路、ローサイドドライバ回路、ブリッジ回路の駆動方法、ドライバ回路、それを用いたモータ駆動装置、電子機器
出願人
ローム株式会社
代理人
個人
,
個人
主分類
H02M
1/08 20060101AFI20250926BHJP(電力の発電,変換,配電)
要約
【課題】出力電圧の遷移を検出可能なドライバ回路を提供する。
【解決手段】ローサイドドライバ回路400は、ローサイドトランジスタMLを駆動する。ソースライズ検出回路440は、ブリッジ回路110がソースモードで動作するとき、第1スイッチ430がオンの状態において、ローサイドトランジスタMLのゲートソース間電圧V
LGS
が正の第1しきい値電圧V
TH1
とクロスすると、ブリッジ回路100の出力V
OUT
のハイ電圧V
IN
への遷移に関するソースライズ検出信号SRC_RISEを生成する。
【選択図】図1
特許請求の範囲
【請求項1】
ハイサイドトランジスタとともにブリッジ回路を構成するローサイドトランジスタを駆動するローサイドドライバ回路であって、
前記ローサイドトランジスタのゲート電圧を制御するローサイドゲートドライバと、
前記ローサイドトランジスタのゲートソース間に接続された第1スイッチと、
前記ローサイドゲートドライバを制御する第1ローサイド制御信号および前記第1スイッチを制御する第2ローサイド制御信号を生成するローサイド制御回路と、
前記ブリッジ回路がソースモードで動作するとき、前記第1スイッチがオンの状態において、前記ローサイドトランジスタのゲートソース間電圧が正の第1しきい値電圧とクロスすると、前記ブリッジ回路の出力のハイ電圧への遷移に関するソースライズ検出信号を生成するソースライズ検出回路と、
を備える、ローサイドドライバ回路。
続きを表示(約 2,400 文字)
【請求項2】
前記ブリッジ回路がソースモードで動作するとき、前記第1スイッチがオンの状態において、前記ローサイドトランジスタのゲートソース間電圧が負の第2しきい値電圧とクロスすると、前記ブリッジ回路の出力のロー電圧への遷移に関するソースフォール検出信号を生成するソースフォール検出回路をさらに備える、請求項1に記載のローサイドドライバ回路。
【請求項3】
前記ソースライズ検出信号および前記ソースフォール検出信号は、前記ハイサイドトランジスタを駆動するハイサイドドライバ回路に供給される、請求項2に記載のローサイドドライバ回路。
【請求項4】
ローサイドトランジスタとともにブリッジ回路を構成するハイサイドトランジスタを駆動するハイサイドドライバ回路であって、
前記ハイサイドトランジスタのゲート電圧を制御するハイサイドゲートドライバと、
前記ハイサイドトランジスタのゲートソース間に接続された第2スイッチと、
前記ハイサイドゲートドライバを制御する第1ハイサイド制御信号および前記第2スイッチを制御する第2ハイサイド制御信号を生成するハイサイド制御回路と、
前記ブリッジ回路がシンクモードで動作するとき、前記第2スイッチがオンの状態において、前記ハイサイドトランジスタのゲートソース間電圧が負の第3しきい値電圧とクロスすると、前記ブリッジ回路の出力のハイ電圧への遷移に関するシンクライズ検出信号を生成するシンクライズ検出回路と、
を備える、ハイサイドドライバ回路。
【請求項5】
前記ブリッジ回路がシンクモードで動作するとき、前記第2スイッチがオンの状態において、前記ハイサイドトランジスタのゲートソース間電圧が正の第4しきい値電圧とクロスすると、前記ブリッジ回路の出力のロー電圧への遷移に関するシンクフォール検出信号を生成するシンクフォール検出回路をさらに備える、請求項4に記載のハイサイドドライバ回路。
【請求項6】
前記シンクライズ検出信号および前記シンクフォール検出信号は、前記ローサイドトランジスタを駆動するローサイドドライバ回路に供給される、請求項5に記載のハイサイドドライバ回路。
【請求項7】
ブリッジ回路を構成するハイサイドトランジスタおよびローサイドトランジスタを駆動するドライバ回路であって、
前記ローサイドトランジスタのゲート電圧を制御するローサイドゲートドライバと、
前記ローサイドトランジスタのゲートソース間に接続された第1スイッチと、
前記ローサイドゲートドライバを制御する第1ローサイド制御信号および前記第1スイッチを制御する第2ローサイド制御信号を生成するローサイド制御回路と、
前記ブリッジ回路がソースモードで動作するとき、前記第1スイッチがオンの状態において、前記ローサイドトランジスタのゲートソース間電圧が正の第1しきい値電圧とクロスすると、前記ブリッジ回路の出力のハイ電圧への遷移に関するソースライズ検出信号を生成するソースライズ検出回路と、
前記ハイサイドトランジスタのゲート電圧を制御するハイサイドゲートドライバと、
前記ハイサイドトランジスタのゲートソース間に接続された第2スイッチと、
前記ハイサイドゲートドライバを制御する第1ハイサイド制御信号および前記第2スイッチを制御する第2ハイサイド制御信号を生成するハイサイド制御回路と、
前記ブリッジ回路がシンクモードで動作するとき、前記第2スイッチがオンの状態において、前記ハイサイドトランジスタのゲートソース間電圧が負の第3しきい値電圧とクロスすると、前記ブリッジ回路の出力のハイ電圧への遷移に関するシンクライズ検出信号を生成するシンクライズ検出回路と、
を備える、ドライバ回路。
【請求項8】
前記ハイサイドゲートドライバおよび前記ローサイドゲートドライバは、電流駆動型であり、
前記ハイサイド制御回路は、前記ブリッジ回路がソースモードで動作するとき、前記ソースライズ検出信号の変化に応答して、前記ハイサイドゲートドライバの出力電流を変化させ、
前記ローサイド制御回路は、前記ブリッジ回路がシンクモードで動作するとき、前記シンクライズ検出信号の変化に応答して、前記ローサイドゲートドライバの出力電流を変化させる、請求項7に記載のドライバ回路。
【請求項9】
前記ブリッジ回路がソースモードで動作するとき、前記第1スイッチがオンの状態において、前記ローサイドトランジスタのゲートソース間電圧が負の第2しきい値電圧とクロスすると、前記ブリッジ回路の出力のロー電圧への遷移に関するソースフォール検出信号を生成するソースフォール検出回路と、
前記ブリッジ回路がシンクモードで動作するとき、前記第2スイッチがオンの状態において、前記ハイサイドトランジスタのゲートソース間電圧が負の第2しきい値電圧とクロスすると、前記ブリッジ回路の出力のロー電圧への遷移に関するシンクフォール検出信号を生成するシンクフォール検出回路と、
をさらに備える、請求項7または8に記載のドライバ回路。
【請求項10】
前記ハイサイドゲートドライバおよび前記ローサイドゲートドライバは、電流駆動型であり、
前記ハイサイド制御回路は、前記ブリッジ回路がソースモードで動作するとき、前記ソースフォール検出信号の変化に応答して、前記ハイサイドゲートドライバの出力電流を変化させ、
前記ローサイド制御回路は、前記ブリッジ回路がシンクモードで動作するとき、前記シンクフォール検出信号の変化に応答して、前記ローサイドゲートドライバの出力電流を変化させる、請求項9に記載のドライバ回路。
(【請求項11】以降は省略されています)
発明の詳細な説明
【技術分野】
【0001】
本開示は、ブリッジ回路のドライバ回路に関する。
続きを表示(約 1,800 文字)
【背景技術】
【0002】
モータドライバ回路やDC/DCコンバータ、電力変換装置などにおいて、パワートランジスタを用いたハーフブリッジ回路、Hブリッジ回路、三相ブリッジ回路(以下、ブリッジ回路と総称する)が多用されている。
【0003】
ブリッジ回路は、入力ラインINと出力ラインOUTの間に設けられた上アームと、出力ラインOUTと接地ラインの間に設けられた下アームを備える。上アームは、並列に接続されるハイサイドトランジスタおよびフライホイルダイオードを含む。下アームは、並列に接続されるローサイドトランジスタおよびフライホイルダイオードを含む。
【0004】
ブリッジ回路は、ハイサイドトランジスタがオン、ローサイドトランジスタがオフであるハイ出力状態、ハイサイドトランジスタがオフ、ローサイドトランジスタがオンであるロー出力状態が切替可能である。ハイ出力状態では、出力ラインOUTには、入力ラインの電圧V
IN
と実質的に同じ電圧レベルの出力電圧V
OUT
が発生する。ロー出力状態では、出力ラインOUTには、接地ラインの電圧と実質的に同じ電圧レベルの出力電圧V
OUT
が発生する。
【先行技術文献】
【特許文献】
【0005】
国際公開WO2022/259780号公報
【0006】
ハイサイドトランジスタを駆動するハイサイドドライバや、ローサイドトランジスタを駆動するローサイドドライバの制御に、出力電圧V
OUT
の状態が参照される場合がある。具体的には、入力電圧V
IN
と出力電圧V
OUT
の電位差、つまりハイサイドトランジスタの両端間電圧を監視することにより、出力電圧V
OUT
がハイに遷移したことを検出する場合がある。反対に、出力電圧V
OUT
と接地電圧0Vの電位差、つまりローサイドトランジスタの両端間電圧を監視することにより、出力電圧がローに遷移したことを検出する場合がある。
【0007】
ところが入力電圧V
IN
が数百Vあるいは1000Vの高電圧のアプリケーションでは、出力電圧V
OUT
を直接監視すること難しい。
【0008】
[概要]
本開示は係る課題に鑑みてなされたものあり、そのある態様の例示的な目的のひとつは、出力電圧の遷移を検出可能なドライバ回路の提供にある。
【0009】
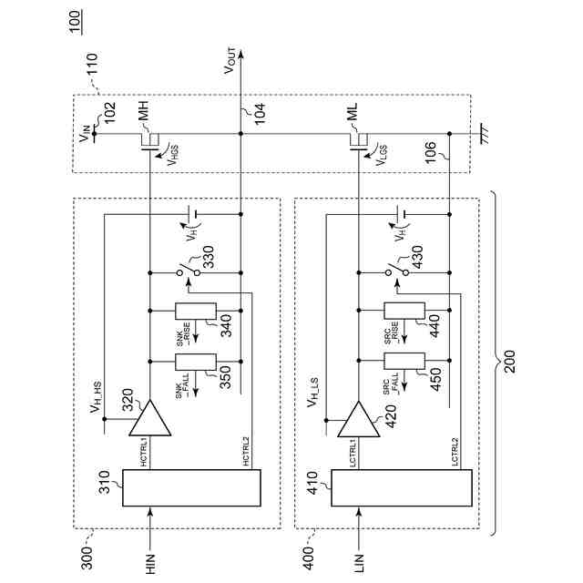
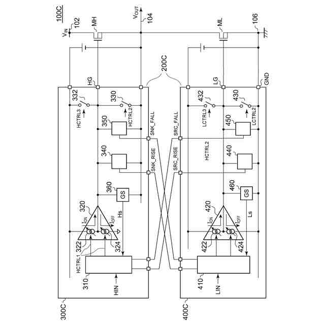
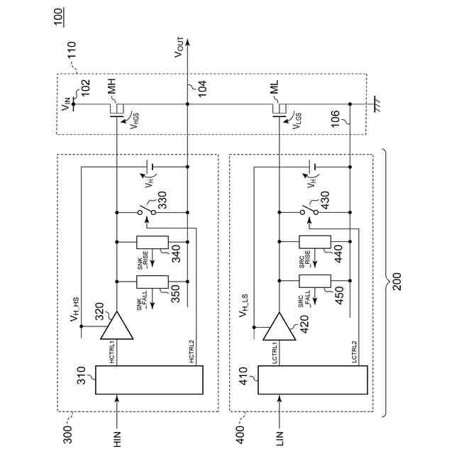
本開示のある態様は、ハイサイドトランジスタとともにブリッジ回路を構成するローサイドトランジスタを駆動するローサイドドライバ回路に関する。ローサイドドライバ回路は、ローサイドトランジスタのゲート電圧を制御するローサイドゲートドライバと、ローサイドトランジスタのゲートソース間に接続された第1スイッチと、ローサイドゲートドライバを制御する第1ローサイド制御信号および第1スイッチを制御する第2ローサイド制御信号を生成するローサイド制御回路と、ブリッジ回路がソースモードで動作するとき、第1スイッチがオンの状態において、ローサイドトランジスタのゲートソース間電圧が正の第1しきい値電圧とクロスすると、ブリッジ回路の出力のハイ電圧への遷移に関するソースライズ検出信号を生成するソースライズ検出回路と、を備える。
【0010】
本開示の別の態様は、ローサイドトランジスタとともにブリッジ回路を構成するハイサイドトランジスタを駆動するハイサイドドライバ回路に関する。ハイサイドドライバ回路は、ハイサイドトランジスタのゲート電圧を制御するハイサイドゲートドライバと、ハイサイドトランジスタのゲートソース間に接続された第2スイッチと、ハイサイドゲートドライバを制御する第1ハイサイド制御信号および第2スイッチを制御する第2ハイサイド制御信号を生成するハイサイド制御回路と、ブリッジ回路がシンクモードで動作するとき、第2スイッチがオンの状態において、ハイサイドトランジスタのゲートソース間電圧が負の第3しきい値電圧とクロスすると、ブリッジ回路の出力のハイ電圧への遷移に関するシンクライズ検出信号を生成するシンクライズ検出回路と、を備える。
(【0011】以降は省略されています)
この特許をJ-PlatPat(特許庁公式サイト)で参照する
関連特許
ローム株式会社
タイマ
11日前
ローム株式会社
電子装置
7日前
ローム株式会社
発振回路
7日前
ローム株式会社
監視回路
7日前
ローム株式会社
半導体装置
3日前
ローム株式会社
半導体装置
7日前
ローム株式会社
半導体装置
7日前
ローム株式会社
半導体装置
3日前
ローム株式会社
半導体装置
5日前
ローム株式会社
半導体装置
5日前
ローム株式会社
半導体装置
5日前
ローム株式会社
半導体装置
5日前
ローム株式会社
メモリ装置
7日前
ローム株式会社
半導体装置
3日前
ローム株式会社
半導体装置
3日前
ローム株式会社
メモリ装置
3日前
ローム株式会社
半導体装置
3日前
ローム株式会社
半導体装置
18日前
ローム株式会社
半導体装置
11日前
ローム株式会社
半導体装置
17日前
ローム株式会社
信号出力回路
17日前
ローム株式会社
信号出力回路
17日前
ローム株式会社
信号出力回路
3日前
ローム株式会社
半導体集積回路
18日前
ローム株式会社
縦型ホール素子
7日前
ローム株式会社
定電圧生成回路
17日前
ローム株式会社
半導体記憶装置
10日前
ローム株式会社
半導体記憶装置
10日前
ローム株式会社
TVSダイオード
5日前
ローム株式会社
半導体モジュール
7日前
ローム株式会社
TVSダイオード
5日前
ローム株式会社
半導体集積回路装置
25日前
ローム株式会社
差動回路及び発振器
19日前
ローム株式会社
不揮発性メモリ装置
3日前
ローム株式会社
不揮発性メモリ装置
3日前
ローム株式会社
不揮発性メモリ装置
3日前
続きを見る
他の特許を見る