TOP
|
特許
|
意匠
|
商標
特許ウォッチ
Twitter
他の特許を見る
公開番号
2025147927
公報種別
公開特許公報(A)
公開日
2025-10-07
出願番号
2024048442
出願日
2024-03-25
発明の名称
電池収容体、電池モジュール、および電池パック
出願人
オルガノ株式会社
代理人
個人
,
個人
主分類
H01M
50/367 20210101AFI20250930BHJP(基本的電気素子)
要約
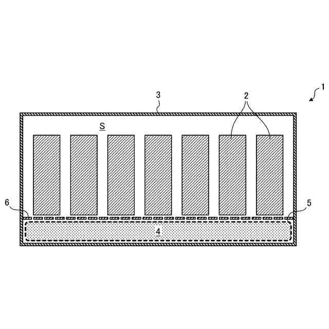
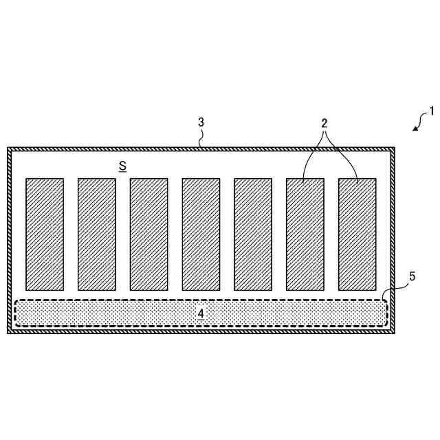
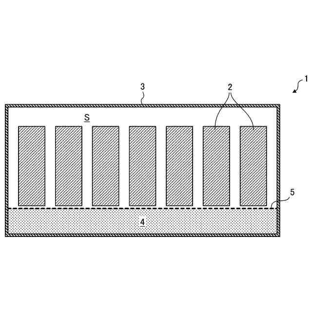
【課題】経済的で安全性と信頼性に優れた電池収容体を提供する。
【解決手段】電池収容体1は、電池セル2を収容する筐体3と、筐体3内に配置され、電池セル2から発生する活性ガスを除去する少なくとも1つの活性ガス除去部4と、少なくとも1つの活性ガス除去部4が電池セル2に対向する領域に少なくとも設けられ、通気性を有する通気部5と、を有している。
【選択図】図1
特許請求の範囲
【請求項1】
電池セルを収容する筐体と、
前記筐体内に配置され、前記電池セルから発生する活性ガスを除去する少なくとも1つの活性ガス除去部と、
前記少なくとも1つの活性ガス除去部が前記電池セルに対向する領域に少なくとも設けられ、通気性を有する少なくとも1つの通気部と、を有する電池収容体。
続きを表示(約 730 文字)
【請求項2】
前記少なくとも1つの活性ガス除去部は、前記電池セルが収容される空間の下方に配置されている、請求項1に記載の電池収容体。
【請求項3】
前記少なくとも1つの通気部は、前記空間と前記少なくとも1つの活性ガス除去部との間に配置された板状の部材である、請求項2に記載の電池収容体。
【請求項4】
前記少なくとも1つの通気部は、前記少なくとも1つの活性ガス除去部を収容する箱状または袋状の部材である、請求項2に記載の電池収容体。
【請求項5】
前記少なくとも1つの通気部は、前記電池セルを下方から支持する支持部として機能する、請求項3または4に記載の電池収容体。
【請求項6】
前記少なくとも1つの活性ガス除去部の上方に配置され、前記電池セルを下方から支持する支持部を有する、請求項4に記載の電池収容体。
【請求項7】
前記少なくとも1つの活性ガス除去部が、複数の活性ガス除去部を含み、前記少なくとも1つの通気部が、複数の通気部を含む、請求項4に記載の電池収容体。
【請求項8】
前記複数の活性ガス除去部の上方に配置され、前記電池セルを下方から支持する支持部を有する、請求項7に記載の電池収容体。
【請求項9】
前記複数の活性ガス除去部の間に配置され、前記電池セルを下方から支持する複数の支持部を有する、請求項7に記載の電池収容体。
【請求項10】
請求項1から4のいずれか1項に記載の電池収容体と、
前記電池収容体の前記筐体に収容された電池セルと、を有する電池モジュール。
(【請求項11】以降は省略されています)
発明の詳細な説明
【技術分野】
【0001】
本発明は、電池収容体、電池モジュール、および電池パックに関する。
続きを表示(約 1,400 文字)
【背景技術】
【0002】
近年、全固体電池に用いられる固体電解質として、高いイオン伝導性を示す硫化物系固体電解質の開発が進められている。一方、硫化物系固体電解質は、水分と反応して硫化水素を発生させる可能性があるため、硫化物系固体電解質を用いた全固体電池の実用化に向けては、そのような硫化水素への対策が課題となる。特許文献1には、電池セルを収容する収容室と少なくとも1つの連通路を介して連通するガス吸着部を筐体内に設けることで、収容室内で発生する硫化水素を低濃度化して外部に排出する技術が記載されている。また、特許文献1には、上記技術と併用して収容室に不活性ガスを導入することで、収容室の内部に硫化水素が滞留することを抑制して収容室内の硫化水素濃度を低下させる技術も記載されている。
【先行技術文献】
【特許文献】
【0003】
国際公開第2022/249671号
【発明の概要】
【発明が解決しようとする課題】
【0004】
しかしながら、特許文献1に記載の技術では、次のような問題が生じる可能性がある。
【0005】
(1)硫化水素が発生し続けた場合、硫化水素の発生位置が連通路から離れていると、その間にある電池セルとその付属部材(電極端子や電気回路など)の材料が硫化水素により腐食する可能性がある。これに対し、連通路の数を増やすことも考えられるが、その場合にも、連通路に近い一部のガス吸着部しか機能しないことになるため、ガス吸着部全体としての吸着性能が早急に低下し、硫化水素が外部に漏洩するおそれがある。
【0006】
(2)筐体内での気体の流れは、収容室からガス吸着部への一方向のみであるため、硫化水素が発生し続けた場合に、収容室内で硫化水素濃度が上昇し続けることになる。そのため、可燃性ガスとしての硫化水素が酸素と反応して燃焼したり、上述したように、腐食性ガスとしての硫化水素が電池セルの材料を腐食させたりすることが懸念される。
【0007】
(3)上記(2)の問題は、収容室に不活性ガスを導入することで解消されるものの、そのためには、不活性ガスを貯蔵する容器が必要になり、装置の大型化やコストアップにつながってしまう。さらに、収容室に導入された不活性ガスは外部に放出されるため、周囲の作業者が酸素欠乏症になる可能性があり、安全上のリスクを高めるおそれがある。
【0008】
このような問題は、硫化水素以外の他の活性ガスが発生した場合にも同様に発生する可能性があり、硫化物系固体電解質を含む全固体電池以外の電池においても、様々な活性ガスが発生した場合に同様に発生する可能性がある。そのため、そのような多種多様な活性ガスにも適用できる対策が求められている。
【0009】
そこで、本発明の目的は、経済的で安全性と信頼性に優れた、電池収容体、電池モジュール、および電池パックを提供することである。
【課題を解決するための手段】
【0010】
上述した目的を達成するために、本発明の電池収容体は、電池セルを収容する筐体と、筐体内に配置され、電池セルから発生する活性ガスを除去する活性ガス除去部と、少なくとも活性ガス除去部が電池セルに対向する領域に設けられた通気性を有する通気部と、を有している。
(【0011】以降は省略されています)
この特許をJ-PlatPat(特許庁公式サイト)で参照する
関連特許
オルガノ株式会社
水処理装置および水処理方法
2日前
東レ株式会社
多孔質炭素シート
1か月前
個人
フレキシブル電気化学素子
1日前
日本発條株式会社
積層体
12日前
ローム株式会社
半導体装置
10日前
ローム株式会社
半導体装置
10日前
ローム株式会社
半導体装置
8日前
ローム株式会社
半導体装置
10日前
株式会社ユーシン
操作装置
1日前
個人
防雪防塵カバー
12日前
ローム株式会社
半導体装置
1か月前
キヤノン株式会社
電子機器
1か月前
ローム株式会社
半導体装置
3日前
個人
半導体パッケージ用ガラス基板
11日前
株式会社GSユアサ
蓄電装置
12日前
株式会社GSユアサ
蓄電装置
8日前
株式会社GSユアサ
蓄電設備
1日前
太陽誘電株式会社
コイル部品
1日前
ニチコン株式会社
コンデンサ
24日前
ニチコン株式会社
コンデンサ
24日前
オムロン株式会社
電磁継電器
2日前
株式会社ティラド
面接触型熱交換器
23日前
株式会社ホロン
冷陰極電子源
8日前
株式会社GSユアサ
蓄電設備
1日前
東レ株式会社
ガス拡散層の製造方法
1か月前
太陽誘電株式会社
全固体電池
8日前
日本特殊陶業株式会社
保持装置
8日前
日本特殊陶業株式会社
保持装置
10日前
トヨタ自動車株式会社
バッテリ
2日前
ローム株式会社
電子装置
12日前
マクセル株式会社
配列用マスク
23日前
トヨタ自動車株式会社
蓄電装置
1日前
TDK株式会社
電子部品
8日前
日東電工株式会社
積層体
2日前
日本特殊陶業株式会社
保持装置
8日前
ノリタケ株式会社
熱伝導シート
1日前
続きを見る
他の特許を見る