TOP
|
特許
|
意匠
|
商標
特許ウォッチ
Twitter
他の特許を見る
公開番号
2025148220
公報種別
公開特許公報(A)
公開日
2025-10-07
出願番号
2024177308
出願日
2024-10-09
発明の名称
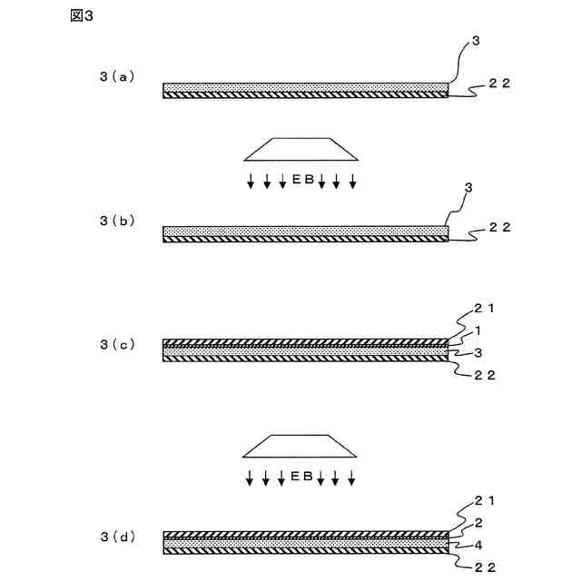
ワーク加工用テープおよび積層体の製造方法
出願人
リンテック株式会社
代理人
前田・鈴木国際特許弁理士法人
主分類
C09J
7/38 20180101AFI20250930BHJP(染料;ペイント;つや出し剤;天然樹脂;接着剤;他に分類されない組成物;他に分類されない材料の応用)
要約
【課題】 基材や中間層などを含まずともワークを十分に保持、保護でき、ワークに貼付するために延伸された際にもシワの発生を抑制し、テープの巻き出しにより発生した静電気を、速やかに放電可能なワーク加工用テープを提供する。
【解決手段】 本発明に係るワーク加工用テープ10は、表面コート層2と粘着剤層4との二層から実質的になり、
該ワーク加工用テープの引張試験を23℃で行った場合に、引張開始から引張力が2.5N/15mmに達するまでのひずみが20%以下であり、
該ワーク加工用テープの体積抵抗率Rv(単位:Ω・cm)と該表面コート層の表面抵抗率Rs(単位:Ω/sq.)との積が10
30
Ω
2
・cm/sq.以下であることを特徴としている。
【選択図】 図1
特許請求の範囲
【請求項1】
表面コート層と粘着剤層との二層から実質的になるワーク加工用テープであって、
該ワーク加工用テープの引張試験を23℃で行った場合に、引張開始から引張力が2.5N/15mmに達するまでのひずみが20%以下であり、
該ワーク加工用テープの体積抵抗率Rv(単位:Ω・cm)と該表面コート層の表面抵抗率Rs(単位:Ω/sq.)との積が10
30
Ω
2
・cm/sq.以下である、
ワーク加工用テープ。
続きを表示(約 580 文字)
【請求項2】
該ワーク加工用テープの体積抵抗率Rvが10
15
Ω・cm以下である請求項1に記載のワーク加工用テープ。
【請求項3】
該表面コート層の表面抵抗率Rsが10
15
Ω/sq.以下である請求項1に記載のワーク加工用テープ。
【請求項4】
前記粘着剤層の粘着力が700mN/25mm以上である請求項1に記載のワーク加工用テープ。
【請求項5】
前記粘着剤層の厚さが、90μm以上である請求項1に記載のワーク加工用テープ。
【請求項6】
前記表面コート層の厚さが、0.2~5μmである請求項1に記載のワーク加工用テープ。
【請求項7】
前記粘着剤層が、エネルギー線硬化性化合物を含む粘着剤層用組成物の硬化物である請求項1に記載のワーク加工用テープ。
【請求項8】
前記粘着剤層が帯電防止剤を含む請求項1に記載のワーク加工用テープ。
【請求項9】
前記帯電防止剤がイオン液体を含む請求項8に記載のワーク加工用テープ。
【請求項10】
請求項1~9のいずれか一項に記載のワーク加工用テープをロール状に巻き取ってなる、ワーク加工用テープの巻収体。
(【請求項11】以降は省略されています)
発明の詳細な説明
【技術分野】
【0001】
本発明は、ワーク加工用テープに関する。特に、半導体ウエハなどの各種ワークに対して、裏面研削などの加工を施す際に、ワーク表面を一時的に保護し、かつ、ワークを保持するために好ましく使用されるワーク加工用テープに関する。また、本発明は該ワーク加工用テープとワークとの積層体の製造方法に関する。
続きを表示(約 1,700 文字)
【背景技術】
【0002】
半導体チップ等の回路が形成されたチップは、複数の回路が形成されたウエハ等のワークを個片化することによりワーク個片化物として得られる。このようなチップが搭載される電子機器の小型化および多機能化の急速な進展に伴い、チップにも小型化、低背化、高密度化が求められている。チップを小型化および低背化するには、ワークの表面に回路を形成した後、ワークの裏面を研削して、チップの厚さを薄くすることが一般的である。
【0003】
ワークの裏面研削時には、ワーク表面の回路を一時的に保護し、かつ、ワークを保持するために、ワーク表面にバックグラインドテープと呼ばれるワーク加工用テープが貼付される。
【0004】
このようなワーク加工用テープとしては、基材フィルムと粘着剤層とからなる粘着テープが使用されている。また、ワークが突起状電極などのバンプを表面に有する場合には、バンプの高低差に吸収し、ワークを平坦に維持するため、基材フィルムと粘着剤層との間に軟質の中間層を介在させることもある。
【0005】
ワークの加工時にはワークを保持し、加工終了後には、ワークの取り外しを容易にするため、ワーク加工用テープの粘着剤層には、エネルギー線硬化型粘着剤が使用されることがある。エネルギー線硬化型粘着剤は、エネルギー線照射前には十分な粘着力でワークを保持し、エネルギー線照射を受けると重合硬化し、粘着力が低下し、粘着剤層からのワークの取り外しが容易になる。また、中間層としても、エネルギー線硬化型の組成物が使用されることがある。
【0006】
しかし、エネルギー線照射により粘着剤層や中間層の粘着力が低下するため、基材フィルムと粘着剤層との間、中間層と粘着剤層との間、基材フィルムと中間層との間での密着性が低下し、ワークの取り外し時に、粘着剤や中間層がワークに転着してしまうことがあった。
【0007】
このような不都合を解消するため、特許文献1(特開2013-23665号公報)には、「基材フィルム、エネルギー線重合性基を有する化合物を含有するアンカーコート層およびエネルギー線硬化型粘着剤層がこの順に積層されてなる粘着シート」が開示されている。アンカーコート層および粘着剤層はいずれも未硬化の状態(エネルギー線照射されていない状態)であり、所定の加工が終了後、エネルギー線照射を行い、粘着シートからワークを取り外す。エネルギー線硬化型粘着剤の硬化時に、アンカーコート層に含まれるエネルギー線重合性基の少なくとも一部も共に重合し、粘着剤層の一部とアンカーコート層との間に共有結合が形成され、粘着剤層と基材とがアンカーコート層を介して密着する。この結果、エネルギー線硬化型粘着剤の硬化後においても、基材フィルムと粘着剤層との密着性が保たれ、粘着剤層がワークに転着することを防止できる。
【0008】
しかしながら、特許文献1の粘着シートでは、アンカーコート層を設けるため、作業工程が増え、また原材料費もかかるため、製品価格が上昇する。また、多層構造であるため、層間剥離により、粘着剤層がワークに転着する可能性は完全には払拭できない。
【先行技術文献】
【特許文献】
【0009】
特開2013-23665号公報
【発明の概要】
【発明が解決しようとする課題】
【0010】
そこで、本発明者らは、基材や中間層などを含まず、実質的に粘着剤層単層のワーク加工用テープによるワークの保持、保護を検討した。しかし、粘着剤層単層では、ワークの加工時に粘着剤層が作業テーブルに密着し、剥離が困難になる。このため、作業テーブル側の粘着剤層表面に比較的硬質の表面コート層を設けることを着想した。表面コート層と粘着剤層とからなるワーク加工用テープによれば、テープの構成層が少なく、層間剥離も起こり難くなるため、粘着剤層がワークに転着する可能性を低減でき、またコストも低下する。
(【0011】以降は省略されています)
この特許をJ-PlatPat(特許庁公式サイト)で参照する
関連特許
リンテック株式会社
粘着ラベル
今日
リンテック株式会社
粘着ラベル
今日
リンテック株式会社
固定シート
今日
リンテック株式会社
粘着シート
今日
リンテック株式会社
化粧シート
6日前
リンテック株式会社
リサイクル方法
8日前
リンテック株式会社
リサイクル方法
今日
リンテック株式会社
ワーク加工用シート
8日前
リンテック株式会社
清掃装置および清掃方法
今日
リンテック株式会社
検知装置および検知方法
2日前
リンテック株式会社
粘着剤および粘着シート
今日
リンテック株式会社
ワーク加工用粘着シート
8日前
リンテック株式会社
再剥離粘着ラベル及び包装体
今日
リンテック株式会社
エキスパンドシート及びエキスパンド方法
8日前
リンテック株式会社
ワーク加工用テープおよび積層体の製造方法
2日前
リンテック株式会社
塗装代替フィルムおよび物品を解体する方法
2日前
リンテック株式会社
ワーク加工用テープおよび積層体の製造方法
2日前
リンテック株式会社
フィルム状接着剤、及び光学用積層体の製造方法
今日
リンテック株式会社
ブロッキング検知装置およびブロッキング検知方法
10日前
リンテック株式会社
ワーク加工用シートおよび加工済みワークの製造方法
2日前
リンテック株式会社
ワーク加工用シートおよび加工済みワークの製造方法
1日前
リンテック株式会社
ワーク加工用保護シートおよびワーク個片化物の製造方法
6日前
リンテック株式会社
ワーク加工用保護シートおよびワーク個片化物の製造方法
6日前
リンテック株式会社
ワーク加工用保護シートおよびワーク個片化物の製造方法
6日前
リンテック株式会社
保護膜形成フィルム、及び、保護膜付きチップの製造方法
今日
リンテック株式会社
半導体処理装置および半導体処理方法、並びに、半導体装置
6日前
リンテック株式会社
保護膜形成フィルム、及び保護膜付きワーク加工物の製造方法
7日前
リンテック株式会社
保護膜形成フィルムおよび保護膜付きワーク個片化物の製造方法
2日前
リンテック株式会社
ワーク加工用粘着シート及びワーク加工用粘着シートの使用方法
1日前
リンテック株式会社
液状の硬化性組成物、硬化物、および、個片の硬化物の製造方法
10日前
リンテック株式会社
保護膜形成フィルム、保護膜形成用複合シート、及び、保護膜付きチップの製造方法
今日
リンテック株式会社
フィルム状接着剤、フィルム状接着剤複合シート、及びフィルム状接着剤付き半導体チップの製造方法
1日前
リンテック株式会社
硬化性組成物、硬化物、及び、硬化性組成物の使用方法
2日前
ベック株式会社
被覆材
3か月前
日本化薬株式会社
インク
13日前
ベック株式会社
水性被覆材
1日前
続きを見る
他の特許を見る