TOP
|
特許
|
意匠
|
商標
特許ウォッチ
Twitter
他の特許を見る
10個以上の画像は省略されています。
公開番号
2025152349
公報種別
公開特許公報(A)
公開日
2025-10-09
出願番号
2024054199
出願日
2024-03-28
発明の名称
溶融試料浮遊装置および溶融試料浮遊方法
出願人
国立大学法人大阪大学
代理人
個人
,
個人
,
個人
主分類
F27B
14/14 20060101AFI20251002BHJP(炉,キルン,窯;レトルト)
要約
【課題】簡易な構成で試料の浮遊中の高い静止安定性を確保する。
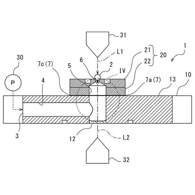
【解決手段】溶融試料浮遊装置1は、水平方向に浮遊用ガスを導入する導入流路部4と、導入流路部4から連続し、水平方向に導入された浮遊用ガスを上方へ案内する案内流路部5と、案内流路部5から連続し、浮遊用ガスを上方へ噴出して試料を浮遊させる噴出口6とを備える。案内流路部5は、上下方向において導入流路部4と噴出口6との間で浮遊用ガスの一部を排出する逃がし部7を有し、試料2を加熱するためのレーザ光L1,L2が上下方向に通過するように構成されている。
【選択図】図2
特許請求の範囲
【請求項1】
水平方向に浮遊用ガスを導入する導入流路部と、
前記導入流路部から連続し、前記水平方向に導入された前記浮遊用ガスを上方へ案内する案内流路部と、
前記案内流路部から連続し、前記浮遊用ガスを上方へ噴出して試料を浮遊させる噴出口と
を備え、
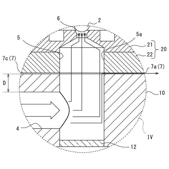
前記案内流路部は、上下方向において前記導入流路部と前記噴出口との間で前記浮遊用ガスの一部を排出する逃がし部を有し、前記試料を加熱するためのレーザ光が通過するように構成されている、溶融試料浮遊装置。
続きを表示(約 500 文字)
【請求項2】
前記逃がし部は、前記上下方向において前記導入流路部に近接して配置されている、請求項1に記載の溶融試料浮遊装置。
【請求項3】
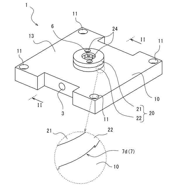
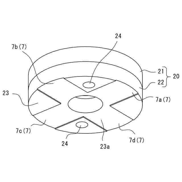
前記逃がし部は、複数の開口を有し、
前記複数の開口の1つは、前記案内流路部を構成する壁面において、前記導入流路部と対向する位置に設けられている、請求項1に記載の溶融試料浮遊装置。
【請求項4】
前記逃がし部は、十字形の凹面および平坦面を重ねて形成されたスリット状の隙間として構成されている、請求項1に記載の溶融試料浮遊装置。
【請求項5】
水平方向に浮遊用ガスを導入し、
前記水平方向に導入された前記浮遊用ガスを上方へ案内し、
前記浮遊用ガスを上方へ噴出して試料を浮遊させる
ことを含み、
前記上方への案内中に前記浮遊用ガスの一部を排出し、
前記試料の浮遊中にレーザ光を前記試料に照射する、溶融試料浮遊方法。
【請求項6】
前記試料は、7.0g/cm
3
以上の密度を有している、請求項5に記載の溶融試料浮遊方法。
発明の詳細な説明
【技術分野】
【0001】
本発明は、溶融試料浮遊装置および溶融試料浮遊方法に関する。
続きを表示(約 1,500 文字)
【背景技術】
【0002】
高温の溶融試料を容器に入れて物性値を測定しようとした場合、溶融試料と容器が反応し、溶融試料自体の物性値を正確に測定できない場合がある。これに対し、容器を使用しない溶融試料の物性値の測定方法として、ガス浮遊法が知られている。ガス浮遊法では、浮遊用ガスの噴射によって試料を宙に浮かせた状態でレーザ光を照射して溶融状態とするため、溶融試料が容器などの他部材と接触することがない。この状態で、音波振動を与えるなどして表面張力や粘性を評価することで、溶融試料の物性値を測定できる。
【0003】
ガス浮遊法によって物性値を測定するためには、試料を空中で静止させて安定浮遊させることが好ましい。例えば、特許文献1では、浮遊用ガスの注入量および排出量を調整することによって、試料の安定浮遊を図る溶融試料浮遊装置が開示されている。
【先行技術文献】
【特許文献】
【0004】
特開2015-96452号公報
【発明の概要】
【発明が解決しようとする課題】
【0005】
特許文献1の溶融試料浮遊装置は、浮遊用ガスの注入量および排出量を調整する機構を要するため、複雑な構造となる。また、溶融試料浮遊装置では、一般に、レーザ光発振系を下方に配置するため、浮遊用ガスを下方以外の例えば水平方向から導入する必要がある。そのため、浮遊用ガスは流れ方向を水平方向から上方へと変更して試料に噴出される。この結果、浮遊用ガスの流れ方向の変化に伴う不均一な流速分布が生じる。不均一な流速分布によって、浮遊用ガスが試料に対して均等に噴射されず、試料の空中での静止安定性が損なわれる。特許文献1の溶融試料浮遊装置では、浮遊用ガスの流速分布の均一化について、特段の言及がなく、改善の余地がある。
【0006】
本発明は、簡易な構成で試料の浮遊中の高い静止安定性を確保することを課題とする。
【課題を解決するための手段】
【0007】
本発明の第1の態様は、
水平方向に浮遊用ガスを導入する導入流路部と、
前記導入流路部から連続し、前記水平方向に導入された前記浮遊用ガスを上方へ案内する案内流路部と、
前記案内流路部から連続し、前記浮遊用ガスを上方へ噴出して試料を浮遊させる噴出口と
を備え、
前記案内流路部は、上下方向において前記導入流路部と前記噴出口との間で前記浮遊用ガスの一部を排出する逃がし部を有し、前記試料を加熱するためのレーザ光が通過するように構成されている、溶融試料浮遊装置を提供する。
【0008】
この構成によれば、案内流路部に逃がし部が設けられているため、相対的に大きな流速を有する浮遊用ガスを逃がし部から排出できる。これにより、簡易な構成で、案内流路部および噴出口における浮遊用ガスの流速分布を均一化できる。よって、逃がし部を設けていない場合と比べて、試料の空中での高い静止安定性を確保できる。なお、水平方向とは、完全な水平だけでなく、水平からわずかに傾斜した方向も含む。
【0009】
前記逃がし部は、前記上下方向において前記導入流路部に近接して配置されていてもよい。
【0010】
この構成によれば、浮遊用ガスの流速分布の乱れは水平方向から上方へと流れ方向を変える部分において発生するが、当該部分は上下方向においては導入流路部の近接位置に相当する。従って、当該部分に逃がし部が設けられることで、浮遊用ガスの流速分布の均一化を促進できる。
(【0011】以降は省略されています)
この特許をJ-PlatPat(特許庁公式サイト)で参照する
関連特許
国立大学法人大阪大学
モータ装置
8日前
国立大学法人大阪大学
細胞シート
3か月前
国立大学法人大阪大学
ロボットハンド
1か月前
国立大学法人大阪大学
半月板の治療薬
1か月前
国立大学法人大阪大学
内視鏡システム
4か月前
国立大学法人大阪大学
眼瞼痙攣緩和具
2か月前
国立大学法人大阪大学
漏洩情報抑制回路
2か月前
国立大学法人大阪大学
試料中の標的物質の検出
1か月前
国立大学法人大阪大学
化学反応方法及び反応装置
23日前
トヨタ自動車株式会社
電池
3か月前
国立大学法人大阪大学
電気泳動装置および電気泳動法
1か月前
大和ハウス工業株式会社
反応装置
4か月前
大和ハウス工業株式会社
反応装置
11日前
大和ハウス工業株式会社
反応装置
11日前
国立大学法人大阪大学
化合物の製造方法、及び金属多核錯体
1か月前
川崎重工業株式会社
ゼオライト触媒
17日前
国立大学法人大阪大学
タンパク質間相互作用を可視化する方法
1か月前
株式会社神戸製鋼所
ねじり疲労評価方法
4か月前
国立大学法人大阪大学
溶融試料浮遊装置および溶融試料浮遊方法
9日前
株式会社トクヤマ
ケトン誘導体の製造方法
2か月前
株式会社トクヤマ
ケトン誘導体の製造方法
1日前
国立大学法人大阪大学
ナノダイヤモンドの製造方法および製造装置
3か月前
セイコーグループ株式会社
生体電位計測装置
29日前
セイコーグループ株式会社
生体電位計測装置
29日前
株式会社ジャパンディスプレイ
液晶光学素子
4か月前
株式会社塚田メディカル・リサーチ
カテーテル
4か月前
日東紡績株式会社
二酸化炭素の吸収又は脱着剤
2か月前
株式会社アイシン
フッ化物イオン電池用電解液
8日前
国立大学法人大阪大学
治具、システム、方法及びコンピュータプログラム
4か月前
国立大学法人大阪大学
セミクラスレートハイドレートおよびその製造方法
4か月前
国立大学法人大阪大学
トラッキング装置、トラッキング方法及びプログラム
3か月前
三菱重工業株式会社
劣化診断方法および劣化診断装置
4か月前
ウシオ電機株式会社
半導体レーザ素子および発光装置
15日前
ウシオ電機株式会社
半導体レーザ素子および発光装置
19日前
日東紡績株式会社
電池用活物質、電池用電極及び電池
10日前
エヌ・イーケムキャット株式会社
還元的アミノ化触媒
2か月前
続きを見る
他の特許を見る