TOP
|
特許
|
意匠
|
商標
特許ウォッチ
Twitter
他の特許を見る
10個以上の画像は省略されています。
公開番号
2025152839
公報種別
公開特許公報(A)
公開日
2025-10-10
出願番号
2024054967
出願日
2024-03-28
発明の名称
電気化学モジュールおよびエネルギーシステム
出願人
大阪瓦斯株式会社
代理人
弁理士法人R&C
主分類
H01M
8/028 20160101AFI20251002BHJP(基本的電気素子)
要約
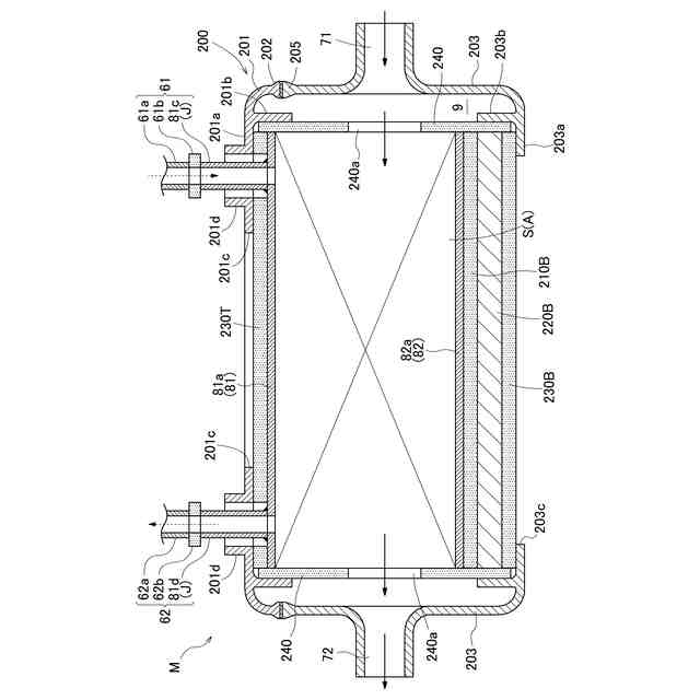
【課題】クラックが生じ難く、ヒートサイクルに対する耐久性が高く、高温安定性を有し、少ない荷重で高いガスシール性を発現するガスシール部を有する電気化学モジュール、および当該電気化学モジュールを備えたエネルギーシステムを提供する。
【解決手段】電気化学素子Aと、隣接する他の電気化学素子Aと、がそれぞれの板状支持体10の四辺における少なくとも対向する二辺に第1ガスとは異なる第2ガスをシールするガスシール部300を備え、当該ガスシール部300は第1挟持体および第2挟持体による締め付け圧力が及ぶガスシール構造GSを有し、ガスシール部300は、無荷重状態において、隣接する電気化学素子A間のそれぞれの板状支持体10の距離よりも小さい厚みを有するシート状のガスシール材301と、当該ガスシール材301の両面に無機粉体を有する粉体層302と、を備えた電気化学モジュールM。
【選択図】図4
特許請求の範囲
【請求項1】
電解質層と前記電解質層の両側にそれぞれ配置されている電極層及び対極電極層とが板状支持体に沿って形成されている複数の電気化学素子が、還元性成分ガス及び酸化性成分ガスのうちの一方である第1ガスを通流するための環状シール部を介して所定の積層方向に積層されている積層体と、
第1挟持体および第2挟持体を備え、前記積層体に所定の締め付け圧力を負荷するように前記第1挟持体および前記第2挟持体を配設し、内部に前記積層体を内装する容器と、を有する電気化学モジュールであって、
前記電気化学素子と、当該電気化学素子に対して上下の積層方向の何れかに隣接する他の電気化学素子と、がそれぞれの前記板状支持体の四辺における少なくとも対向する二辺に前記第1ガスとは異なる第2ガスをシールするガスシール部を備え、当該ガスシール部は前記第1挟持体および前記第2挟持体による前記締め付け圧力が及ぶガスシール構造を有し、
前記ガスシール部は、無荷重状態において、隣接する電気化学素子間のそれぞれの前記板状支持体の距離よりも小さい厚みを有するシート状のガスシール材と、前記ガスシール材の両面に無機粉体を有する粉体層と、を備えた電気化学モジュール。
続きを表示(約 320 文字)
【請求項2】
前記無機粉体がタルクを含む請求項1に記載の電気化学モジュール。
【請求項3】
前記タルクの平均粒子径d50が1~7μmである請求項2に記載の電気化学モジュール。
【請求項4】
前記ガスシール材がケイ素系化合物を含む請求項1または2に記載の電気化学モジュール。
【請求項5】
前記ケイ素系化合物がバーミキュライトを含む請求項4に記載の電気化学モジュール。
【請求項6】
前記電解質層における電解質が固体酸化物である請求項1または2に記載の電気化学モジュール。
【請求項7】
請求項6に記載の電気化学モジュールを備えたエネルギーシステム。
発明の詳細な説明
【技術分野】
【0001】
本発明は、電気化学モジュール、および当該電気化学モジュールを備えたエネルギーシステムに関する。
続きを表示(約 1,300 文字)
【背景技術】
【0002】
特許文献1には、複数の平板型の燃料電池セルを積層してなる積層体と、積層体の積層方向に沿って形成され、複数の燃料電池セルのそれぞれに供給する燃料ガス及び酸化剤ガスのいずれか一方が流れるガス流路と、ガス流路において、積層体のうちの隣接する第1板材と第2板材との間に形成され、第1板材と第2板材との間の空隙層へガス流路を流れるガスが流出することを防止するためのガスシール部と、を備えた燃料電池(電気化学デバイス)が記載してある。
【0003】
当該ガスシール部においては、積層方向に沿って、第1板材と当接するガラス部材を備えることが記載してある。
【0004】
特許文献2には、燃料電池単セルと、単セル用セパレータと、空気極側フレームと、燃料極側フレームと、燃料極側集電部材と、発電単位の最上層および最下層を構成する一対のインターコネクタおよび一対のIC用セパレータと、を備えた燃料電池スタックの構造が記載してある。
【0005】
空気極側フレームは、単セル用セパレータの周縁部における上側の表面と、上側のIC用セパレータの周縁部における下側の表面と、に接触しており、両者の間のガスシール性を確保するシール部材として機能する。
空気極側フレームは、マイカ等の絶縁体により形成してあることが記載してある。
【0006】
特許文献3には、平面固体酸化物燃料電池スタックにおいて隣接する燃料電池による圧縮下で使用される高温ガスシールについて記載してある。
当該高温ガスシールは、5~40質量%のセラミック繊維と50~90質量%のセラミック粉末と2~5質量%の有機結合剤とを含むことが記載してある。
【先行技術文献】
【特許文献】
【0007】
特許第6740856号公報
特開2022-17724号公報
特許第5981695号公報
【発明の概要】
【発明が解決しようとする課題】
【0008】
特許文献1のようにガスシール部にガラス部材を備える場合、固体酸化物形燃料電池(SOFC:Solid Oxide Fuel Cell)の起動・停止時の温度変化から、支持体との熱膨張係数差により、クラックが生じる虞があり、ヒートサイクルに対する耐久性が低いという問題があった。さらに、ガラス部材は、電極の触媒活性を低下させる成分を含有し、高温での運転によりそれら成分が電極に飛散し、SOFCの性能が低下する虞があった。
【0009】
特許文献2,3で使用されているシール部材はマイカ等の絶縁体あるいはセラミック繊維により構成されており、これらは高温での安定性が高いとされている。
【0010】
特許文献2に記載のようにマイカ等の絶縁体をシール部材として用いた場合、荷重を付与することでシール性は確保できるが、その非圧縮性により、高い荷重の付与が必要であるため、SOFCユニットやスタック構造に制限がかかってしまうという問題があった。
(【0011】以降は省略されています)
この特許をJ-PlatPat(特許庁公式サイト)で参照する
関連特許
大阪瓦斯株式会社
給湯装置
16日前
大阪瓦斯株式会社
燃焼装置
7日前
大阪瓦斯株式会社
探査装置
6日前
大阪瓦斯株式会社
ガスコンロ
16日前
大阪瓦斯株式会社
フライヤー
13日前
大阪瓦斯株式会社
撥水性塗料
5日前
大阪瓦斯株式会社
動作制御装置
6日前
大阪瓦斯株式会社
ガラス複合体
8日前
大阪瓦斯株式会社
ガラス複合体
8日前
大阪瓦斯株式会社
音声出力装置
7日前
大阪瓦斯株式会社
警報システム
7日前
大阪瓦斯株式会社
警報システム
7日前
大阪瓦斯株式会社
管理システム
7日前
大阪瓦斯株式会社
蓄電制御装置
6日前
大阪瓦斯株式会社
酸化物複合体
6日前
大阪瓦斯株式会社
高耐熱組成物
6日前
大阪瓦斯株式会社
熱供給システム
16日前
大阪瓦斯株式会社
燃料電池システム
14日前
大阪瓦斯株式会社
燃料電池システム
14日前
大阪瓦斯株式会社
熱電併給システム
12日前
大阪瓦斯株式会社
燃料電池システム
16日前
大阪瓦斯株式会社
燃料電池システム
14日前
大阪瓦斯株式会社
異常診断システム
12日前
大阪瓦斯株式会社
異常診断システム
12日前
大阪瓦斯株式会社
燃料電池システム
14日前
大阪瓦斯株式会社
燃料電池システム
16日前
大阪瓦斯株式会社
エンジンシステム
5日前
大阪瓦斯株式会社
燃料電池システム
14日前
大阪瓦斯株式会社
音声出力システム
12日前
大阪瓦斯株式会社
燃焼制御システム
12日前
大阪瓦斯株式会社
燃料電池システム
14日前
大阪瓦斯株式会社
燃料電池システム
14日前
大阪瓦斯株式会社
燃料電池システム
12日前
大阪瓦斯株式会社
バイオマス系樹脂
6日前
大阪瓦斯株式会社
燃料電池システム
14日前
大阪瓦斯株式会社
燃料電池システム
14日前
続きを見る
他の特許を見る