TOP
|
特許
|
意匠
|
商標
特許ウォッチ
Twitter
他の特許を見る
公開番号
2025153398
公報種別
公開特許公報(A)
公開日
2025-10-10
出願番号
2024055870
出願日
2024-03-29
発明の名称
映像処理方法、プログラム、及び映像処理システム
出願人
パナソニックホールディングス株式会社
代理人
個人
主分類
G09G
5/00 20060101AFI20251002BHJP(教育;暗号方法;表示;広告;シール)
要約
【課題】表示装置から出力する映像コンテンツの色の調整を行いやすくすること。
【解決手段】映像処理方法では、第1映像コンテンツを取得する(S1)。映像処理方法では、映像を表示面に出力する表示装置が設置される環境を示す環境情報を取得する(S2,S4)。映像処理方法では、取得した環境情報に基づいて、第1映像コンテンツの色を調整して第2映像コンテンツとして表示装置2から出力させるための補正情報を生成する(S6)。映像処理方法では、生成した補正情報を出力する。
【選択図】図2
特許請求の範囲
【請求項1】
第1映像コンテンツを取得し、
映像を表示面に出力する表示装置が設置される環境を示す環境情報を取得し、
取得した前記環境情報に基づいて、前記第1映像コンテンツの色を調整して第2映像コンテンツとして前記表示装置から出力させるための補正情報を生成し、
生成した前記補正情報を出力する、
映像処理方法。
続きを表示(約 1,100 文字)
【請求項2】
前記補正情報に基づいて前記第1映像コンテンツを補正して前記第2映像コンテンツを生成し、
生成した前記第2映像コンテンツを前記表示装置から出力させる、
請求項1に記載の映像処理方法。
【請求項3】
前記環境情報に基づいて色が調整された前記第1映像コンテンツを前記表示装置から出力させ、
当該第1映像コンテンツの色を調整するための入力を受け付け、当該入力に基づく色調整用情報を更に取得し、
取得した前記色調整用情報及び前記環境情報に基づいて、前記補正情報を生成する、
請求項1に記載の映像処理方法。
【請求項4】
前記色調整用情報を取得する処理では、調整対象の1以上の色のRGB値を調整する入力に基づいて、前記色調整用情報を取得する、
請求項3に記載の映像処理方法。
【請求項5】
前記色調整用情報を取得する処理では、前記第1映像コンテンツを制作した外部装置が出力可能な色域、及び前記表示装置が出力可能な色域に基づく色域を選択する入力に基づいて、前記色調整用情報を取得する、
請求項3に記載の映像処理方法。
【請求項6】
前記環境情報を取得する処理では、何も映像が表示されていない前記表示面をカメラで撮影したデータと、前記表示装置が出力して前記表示面に表示されるテストパターンを前記カメラで撮影したデータと、から前記環境情報を生成して取得する、
請求項1~5のいずれか1項に記載の映像処理方法。
【請求項7】
前記環境情報を第2環境情報として更に取得し、
既存の前記環境情報である第1環境情報と、取得した前記第2環境情報との比較に基づいて、前記補正情報を生成する際に用いる前記環境情報を決定する、
請求項1~5のいずれか1項に記載の映像処理方法。
【請求項8】
1以上のプロセッサに、
請求項1~5のいずれか1項に記載の前記映像処理方法を実行させる、
プログラム。
【請求項9】
プロセッサ及びメモリを備え、
前記プロセッサは、
第1映像コンテンツを取得し、
映像を表示面に出力する表示装置が設置される環境を示す環境情報を取得し、
取得した前記環境情報に基づいて、前記第1映像コンテンツの色を調整して第2映像コンテンツとして前記表示装置から出力させるための補正情報を生成し、
生成した前記補正情報を出力する、
映像処理システム。
発明の詳細な説明
【技術分野】
【0001】
本開示は、映像処理方法、プログラム、及び映像処理システムに関する。
続きを表示(約 1,600 文字)
【背景技術】
【0002】
特許文献1には、画像を表示する画像表示装置の画質調整方法が開示されている。この画質調整方法は、最もムラが少なく表示される第1の画像を画像表示装置に表示させるステップと、第1の画像を撮像するステップと、撮像された画像から第1の輝度分布データを生成するステップと、第2の画像を画像表示装置に表示させるステップと、第2の画像を撮像するステップと、撮像された画像から第2の輝度分布データを生成するステップと、第1の輝度分布データと第2の輝度分布データとを用いて、画像表示装置に表示させる画像の画質を調整するステップと、を含む。
【先行技術文献】
【特許文献】
【0003】
特開2009-175615号公報
【発明の概要】
【発明が解決しようとする課題】
【0004】
本開示は、表示装置から出力する映像コンテンツの色の調整を行いやすい映像処理方法等を提供する。
【課題を解決するための手段】
【0005】
本開示の一態様に係る映像処理方法では、第1映像コンテンツを取得する。前記映像処理方法では、映像を表示面に出力する表示装置が設置される環境を示す環境情報を取得する。前記映像処理方法では、取得した前記環境情報に基づいて、前記第1映像コンテンツの色を調整して第2映像コンテンツとして前記表示装置から出力させるための補正情報を生成する。前記映像処理方法では、生成した前記補正情報を出力する。
【発明の効果】
【0006】
本開示は、表示装置から出力する映像コンテンツの色の調整を行いやすい、という利点がある。
【図面の簡単な説明】
【0007】
図1は、実施の形態に係る映像処理システムを含む全体構成を示す概要図である。
図2は、実施の形態に係る映像処理システムの基本動作例を示すフローチャートである。
図3は、実施の形態に係る映像処理システムにおける補正情報の生成例の説明図である。
図4は、実施の形態に係る映像処理システムで用いられるユーザインタフェースの一例を示す概要図である。
図5は、実施の形態に係る映像コンテンツの色を調整する処理の一例を示すフローチャートである。
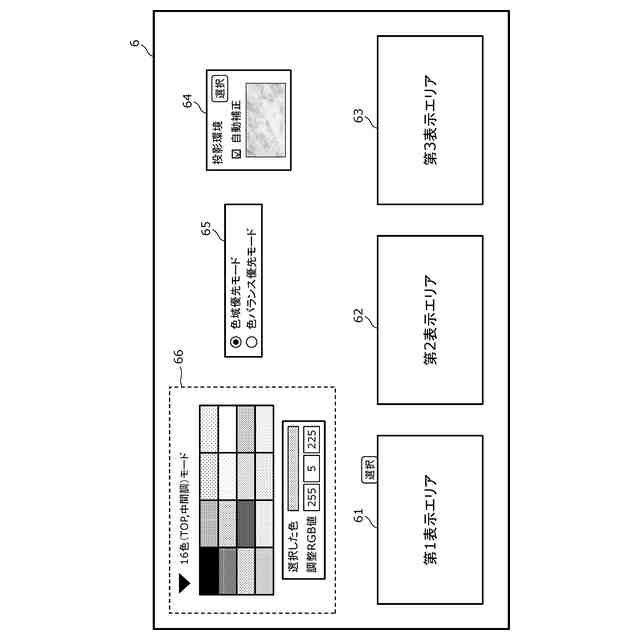
図6は、色域調整モードの動作例の説明図である。
図7は、表示装置が2台である場合の色域調整モードの動作例の説明図である。
【発明を実施するための形態】
【0008】
[1.本開示の基礎となった知見]
まず、発明者の着眼点が下記に説明される。
【0009】
映像コンテンツの制作者は、最適な映像表現を実現するために、シーンごとに映像の色(例えば、彩度、明度、又は色相等)を調整することで、映像コンテンツを制作する場合がある。このような場合、制作者は、実際に映像が出力される場所(以下、「現場」という)で映像コンテンツを制作するのではなく、現場から離れた場所(以下、「制作場所」)で映像コンテンツを制作するのが一般的である。そして、制作者は、映像コンテンツの制作中においては、例えば制作場所にてディスプレイに表示される映像コンテンツを見ながら、映像コンテンツの色を調整する。
【0010】
しかしながら、制作場所と現場とは場所が異なるため、映像コンテンツが表示される場所の環境も異なる。例えば、制作場所では映像コンテンツをディスプレイに表示する一方、現場ではプロジェクタ等の表示装置により映像コンテンツをスクリーンに投写して表示する。このため、制作者が制作場所で色を調整した映像コンテンツが、例えば外光等の環境の違いにより、現場では制作者が意図した映像コンテンツとしてスクリーンに表示されず、表示装置から出力する映像コンテンツの色の調整を行いにくい、という問題がある。
(【0011】以降は省略されています)
この特許をJ-PlatPat(特許庁公式サイト)で参照する
関連特許
個人
回転式カード学習具
1か月前
日本精機株式会社
表示装置
26日前
日本精機株式会社
表示装置
2か月前
個人
時刻表示機能つき手帳
2か月前
個人
計算用教具
22日前
中国電力株式会社
標示旗
1か月前
日本精機株式会社
車両用表示装置
2か月前
日本精機株式会社
車両用表示装置
2か月前
日本精機株式会社
車両用表示装置
2か月前
個人
モデルで薔薇の花嫁様を描く為
1か月前
日本精機株式会社
車両用センサ装置
22日前
個人
微細構造を模した理科学習教材
5日前
トヨタ自動車株式会社
評価方法
3か月前
株式会社一弘社
情報表示板
1か月前
シャープ株式会社
表示装置
1か月前
株式会社ウメラボ
学習支援システム
12日前
個人
音楽教材
2か月前
株式会社ウメラボ
学習支援システム
18日前
株式会社半導体エネルギー研究所
半導体装置
2か月前
ニチレイマグネット株式会社
磁着式電飾装置
1か月前
リンテック株式会社
表示体
11日前
株式会社リコー
画像投射システム
1か月前
シチズンファインデバイス株式会社
液晶表示装置
2か月前
BEST株式会社
吊り下げ表示部材
2か月前
学校法人関西医科大学
腹腔鏡手術訓練装置
1か月前
個人
サインポスト
2か月前
シチズンファインデバイス株式会社
液晶表示装置
1か月前
株式会社サンゲツ
見本帳
2か月前
シャープ株式会社
表示装置
2か月前
個人
ピアノの指トレーニング器具及び練習方法
3か月前
シャープ株式会社
表示装置
2か月前
ニデックインスツルメンツ株式会社
情報処理装置
2か月前
セイコーエプソン株式会社
表示方法
1か月前
セイコーエプソン株式会社
表示方法
1か月前
リンテック株式会社
粘着ラベル
12日前
ニプロ株式会社
シミュレータ
1か月前
続きを見る
他の特許を見る