TOP
|
特許
|
意匠
|
商標
特許ウォッチ
Twitter
他の特許を見る
10個以上の画像は省略されています。
公開番号
2025156383
公報種別
公開特許公報(A)
公開日
2025-10-14
出願番号
2025122061,2024157254
出願日
2025-07-22,2014-06-20
発明の名称
情報処理装置
出願人
株式会社半導体エネルギー研究所
代理人
主分類
G09F
9/00 20060101AFI20251002BHJP(教育;暗号方法;表示;広告;シール)
要約
【課題】一覧性に優れた情報処理装置を提供する。または、可搬性に優れた情報処理装置
を提供する。
【解決手段】展開および折り畳むことができる表示部並びにその状態を検知して折り畳み
情報を供給することができる検知部を備える入出力装置と、折り畳み情報に応じて異なる
処理を実行させるプログラムを記憶する演算装置と、を有する情報処理装置の構成に想到
した。
【選択図】図1
特許請求の範囲
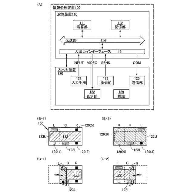
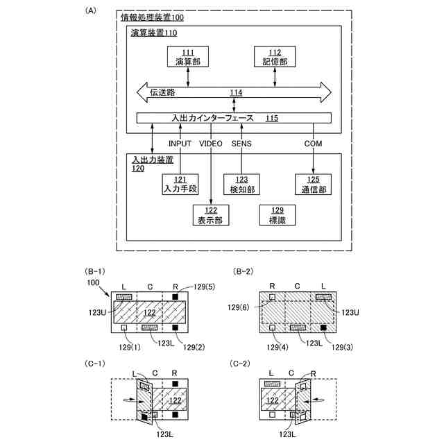
【請求項1】
第1の面および前記第1の面に対向する第2の面を備える連結筐体と、
前記連結筐体の第1の面に近接することができる第1の標識および第2の標識並びに第2の面に近接することができる第3の標識および第4の標識を識別する検知部と、
第1の面が前記連結筐体の第1の面に向き合う位置から、前記第1の面に対向する第2の面が前記連結筐体の第2の面に向き合う位置まで回動可能に、前記連結筐体と接続される第1の筐体と、
第1の面が前記連結筐体の第1の面に向き合う位置から、前記第1の面に対向する第2の面が前記連結筐体の第2の面に向き合う位置まで回動可能に、前記連結筐体と接続される第2の筐体と、を有し、
前記検知部は、前記連結筐体に設けられた第1のセンサを有し、
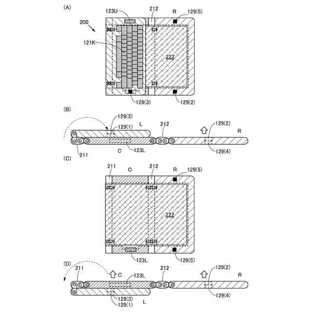
前記連結筐体、前記第1の筐体および前記第2の筐体は、可撓性を有する表示部を折り畳み可能に支持し、
前記第1の筐体は、前記第1の標識を前記第1の面に、前記第3の標識を前記第2の面に備え、
前記第1の標識と前記第3の標識は、前記第1の筐体において互いに重なるように設けられ、
前記第1のセンサは、前記第1の筐体の第1の面が前記連結筐体の前記第1の面と向き合うように折り畳まれているとき、前記第1の標識を検知する機能を有し、
前記第1のセンサは、前記第1の筐体の第2の面が前記連結筐体の前記第2の面と向き合うように折り畳まれているとき、前記第3の標識を検知する機能を有し、
前記第2の筐体は、前記第2の標識を前記第1の面に、前記第4の標識を前記第2の面に備え、
前記第2の標識と前記第4の標識は、前記第2の筐体において互いに重なるように設けられ、
前記第1のセンサは、前記第2の筐体の第1の面が前記連結筐体の前記第1の面と向き合うように折り畳まれているとき、前記第2の標識を検知する機能を有し、
前記第1のセンサは、前記第2の筐体の第2の面が前記連結筐体の前記第2の面と向き合うように折り畳まれているとき、前記第4の標識を検知する機能を有し、
前記検知部は、前記第1の筐体に設けられた第2のセンサをさらに有し、
前記第2の筐体は、第5の標識を前記第1の面に、第6の標識を前記第2の面に備え、
前記第5の標識と前記第6の標識は、前記第2の筐体において互いに重なるように設けられ、
前記第2のセンサは、前記第1の筐体の第2の面が前記連結筐体の前記第2の面と向き合うように折り畳まれ、かつ、前記第1の筐体を介して前記第2の筐体の第2の面が前記連結筐体の前記第2の面と向き合うように折り畳まれているとき、前記第6の標識を検知する機能を有し、
前記第2のセンサは、前記第2の筐体の第1の面が前記連結筐体の前記第1の面と向き合うように折り畳まれ、かつ、前記第2の筐体を介して前記第1の筐体の第1の面が前記連結筐体の前記第1の面と向き合うように折り畳まれているとき、前記第6の標識を検知する機能を有する情報処理装置。
発明の詳細な説明
【技術分野】
【0001】
本発明は、物、方法、または、製造方法に関する。または、本発明は、プロセス、マシン
、マニュファクチャ、または、組成物(コンポジション・オブ・マター)に関する。特に
、本発明は、例えば、ヒューマンインターフェース、半導体装置、表示装置、発光装置、
蓄電装置、それらの駆動方法、または、それらの製造方法に関する。特に、本発明は、例
えば、画像情報の処理および表示方法、プログラムおよびプログラムが記録された記録媒
体を有する装置に関する。特に、本発明は、例えば、表示部を備える情報処理装置に処理
された情報を含む画像を表示する画像情報の処理、表示方法および表示部を備える情報処
理装置に処理された情報を含む画像を表示させるプログラム並びに当該プログラムが記録
された記録媒体を有する情報処理装置に関する。
続きを表示(約 1,200 文字)
【背景技術】
【0002】
情報伝達手段に係る社会基盤が充実されている。これにより、多様で潤沢な情報を職場や
自宅だけでなく外出先でも情報処理装置を用いて取得、加工または発信できるようになっ
ている。
【0003】
このような背景において、携帯可能な情報処理装置が盛んに開発されている。
【0004】
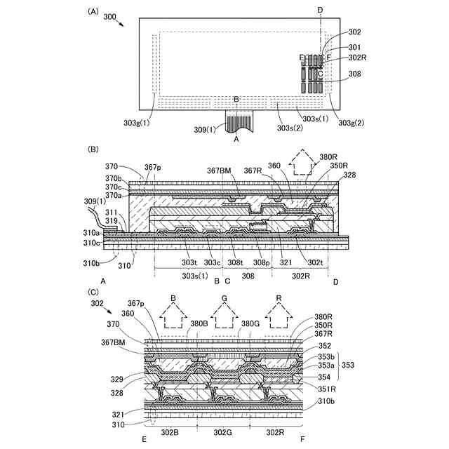
例えば、携帯可能な情報処理装置は屋外で使用されることが多く、落下により思わぬ力が
情報処理装置およびそれに用いられる表示装置に加わることがある。破壊されにくい表示
装置の一例として、発光層を分離する構造体と第2の電極層との密着性が高められた構成
が知られている(特許文献1)。
【0005】
また、電子デバイスの第1の部分に結合された第1のセンサから第1の加速度データを受
信する機能を含むマルチパネル電子デバイスが知られている。また、電子デバイスの第2
の部分に結合された第2のセンサから第2の加速度データを受信する機能をさらに含み、
第1の部分の位置は第2の部分の位置に対して可動であるマルチパネル電子デバイスが知
られている。また、第1の加速度データと第2の加速度データとに少なくとも部分的に基
づいて電子デバイスの構成を判断する機能をさらに含むマルチパネル電子デバイスが知ら
れている(特許文献2)。
【先行技術文献】
【特許文献】
【0006】
特開2012-190794号公報
特開2012-502372号公報
【発明の概要】
【発明が解決しようとする課題】
【0007】
大きな画面を備え、多くの情報を表示することができる表示装置は一覧性に優れる。よっ
て、情報処理装置に好適である。
【0008】
一方で、大きな画面を備える表示装置は小さな画面を備えるものに比べて可搬性が劣る。
【0009】
本発明の一態様は、このような技術的背景のもとでなされたものである。したがって、一
覧性に優れた情報処理装置を提供することを課題の一とする。または、可搬性に優れた情
報処理装置を提供することを課題の一とする。
【0010】
なお、これらの課題の記載は、他の課題の存在を妨げるものではない。なお、本発明の一
態様は、これらの課題の全てを解決する必要はないものとする。なお、これら以外の課題
は、明細書、図面、請求項などの記載から、自ずと明らかとなるものであり、明細書、図
面、請求項などの記載から、これら以外の課題を抽出することが可能である。
【課題を解決するための手段】
(【0011】以降は省略されています)
この特許をJ-PlatPat(特許庁公式サイト)で参照する
関連特許
個人
回転式カード学習具
1か月前
日本精機株式会社
表示装置
26日前
日本精機株式会社
表示装置
2か月前
日本精機株式会社
表示装置
3か月前
個人
時刻表示機能つき手帳
2か月前
個人
計算用教具
22日前
中国電力株式会社
標示旗
1か月前
日本精機株式会社
車両用表示装置
2か月前
日本精機株式会社
車両用表示装置
2か月前
日本精機株式会社
車両用表示装置
2か月前
日本精機株式会社
車両用センサ装置
22日前
個人
モデルで薔薇の花嫁様を描く為
1か月前
個人
微細構造を模した理科学習教材
5日前
トヨタ自動車株式会社
評価方法
3か月前
シャープ株式会社
表示装置
1か月前
シャープ株式会社
表示装置
3か月前
株式会社一弘社
情報表示板
1か月前
個人
音楽教材
2か月前
株式会社ウメラボ
学習支援システム
12日前
株式会社ウメラボ
学習支援システム
18日前
パイオニア株式会社
表示装置
3か月前
個人
口唇閉鎖の訓練具
3か月前
株式会社半導体エネルギー研究所
半導体装置
2か月前
ニチレイマグネット株式会社
磁着式電飾装置
1か月前
株式会社リコー
画像投射システム
1か月前
株式会社ノジマ
応対体験システム
3か月前
リンテック株式会社
表示体
11日前
個人
サインポスト
2か月前
シチズンファインデバイス株式会社
液晶表示装置
2か月前
株式会社バンダイ
情報処理装置およびプログラム
3か月前
学校法人関西医科大学
腹腔鏡手術訓練装置
1か月前
株式会社サンゲツ
見本帳
2か月前
BEST株式会社
吊り下げ表示部材
2か月前
シチズンファインデバイス株式会社
液晶表示装置
1か月前
シャープ株式会社
表示装置
2か月前
シャープ株式会社
表示装置
2か月前
続きを見る
他の特許を見る