TOP
|
特許
|
意匠
|
商標
特許ウォッチ
Twitter
他の特許を見る
10個以上の画像は省略されています。
公開番号
2025156514
公報種別
公開特許公報(A)
公開日
2025-10-14
出願番号
2025130154,2024058824
出願日
2025-08-04,2008-12-18
発明の名称
発光装置
出願人
株式会社半導体エネルギー研究所
代理人
主分類
G09F
9/30 20060101AFI20251002BHJP(教育;暗号方法;表示;広告;シール)
要約
【課題】画素間の輝度むらを抑えることができる、発光素子を用いた表示装置を提供する
。
【解決手段】第1の配線は、膜厚が大きい第1の領域と、膜厚が小さい第2の領域とを有
し、その上方の発光素子が有する第1の電極は、第1の絶縁膜に設けられたコンタクトホ
ールを介して、第1の配線と接続されており、膜厚が大きい第1の領域は、コンタクトホ
ールと重なる領域を有し、膜厚が大きい第1の領域の端部における勾配角度θtを、0°
<θt<90°とする。
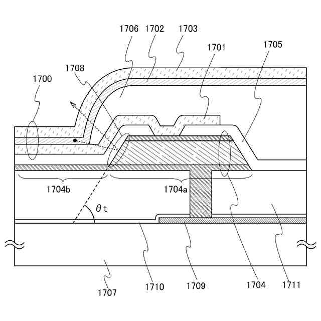
【選択図】図17
特許請求の範囲
【請求項1】
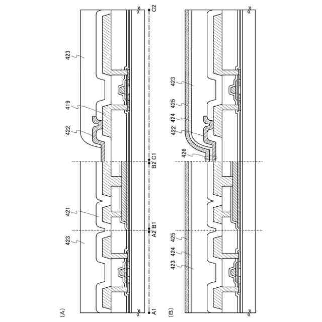
第1のトランジスタと、第2のトランジスタと、発光素子と、電源線と、第1の導電膜と、第2の導電膜と、を有し、
前記第1のトランジスタのソース電極又はドレイン電極の一方は、前記第2のトランジスタのゲート電極と電気的に接続され、
前記第2のトランジスタのソース電極又はドレイン電極の一方は、前記電源線と電気的に接続され、
前記第2のトランジスタのソース電極又はドレイン電極の他方は、前記発光素子と電気的に接続され、
前記第1のトランジスタは、トップゲート型であり、かつ、第1のゲート電極及び第2のゲート電極を有し、
前記第1の導電膜は、前記第1のゲート電極及び前記第2のゲート電極と電気的に接続され、
前記第2の導電膜は、前記電源線と電気的に接続される発光装置であって、
前記第1のゲート電極及び前記第2のゲート電極としての機能を有する第3の導電膜は、前記第3の導電膜の上面において前記第1の導電膜と接する領域を有し、
平面視において、前記第1の導電膜は、前記第3の導電膜のうち前記第1のゲート電極としての機能を有する第1の領域と、前記第3の導電膜のうち前記第2のゲート電極としての機能を有する第2の領域との間の領域と、重なる領域を有し、
前記電源線としての機能を有する第4の導電膜は、前記電源線としての機能を有する第5の導電膜と交差し、
前記第4の導電膜は、前記第4の導電膜の上面において前記第2の導電膜と接する領域を有し、
前記第1の導電膜及び前記第2の導電膜のそれぞれは、第1の絶縁膜の上面と接する領域を有する、
発光装置。
続きを表示(約 2,300 文字)
【請求項2】
第1のトランジスタと、第2のトランジスタと、発光素子と、電源線と、第1の導電膜と、第2の導電膜と、を有し、
前記第1のトランジスタのソース電極又はドレイン電極の一方は、前記第2のトランジスタのゲート電極と電気的に接続され、
前記第2のトランジスタのソース電極又はドレイン電極の一方は、前記電源線と電気的に接続され、
前記第2のトランジスタのソース電極又はドレイン電極の他方は、前記発光素子と電気的に接続され、
前記第1のトランジスタは、トップゲート型であり、かつ、第1のゲート電極及び第2のゲート電極を有し、
前記第1の導電膜は、前記第1のゲート電極及び前記第2のゲート電極と電気的に接続され、
前記第2の導電膜は、前記電源線と電気的に接続される発光装置であって、
前記第1のゲート電極及び前記第2のゲート電極としての機能を有する第3の導電膜は、前記第3の導電膜の上面において前記第1の導電膜と接する領域を有し、
平面視において、前記第1の導電膜は、前記第3の導電膜のうち前記第1のゲート電極としての機能を有する第1の領域と、前記第3の導電膜のうち前記第2のゲート電極としての機能を有する第2の領域との間の領域と、重なる領域を有し、
前記電源線としての機能を有する第4の導電膜は、前記電源線としての機能を有する第5の導電膜と交差し、
前記第4の導電膜は、前記第4の導電膜の上面において前記第2の導電膜と接する領域を有し、
前記第4の導電膜は、複数の画素に渡って延伸しており、
前記第1の導電膜及び前記第2の導電膜のそれぞれは、第1の絶縁膜の上面と接する領域を有する、
発光装置。
【請求項3】
第1のトランジスタと、第2のトランジスタと、発光素子と、電源線と、第1の導電膜と、第2の導電膜と、を有し、
前記第1のトランジスタのソース電極又はドレイン電極の一方は、前記第2のトランジスタのゲート電極と電気的に接続され、
前記第2のトランジスタのソース電極又はドレイン電極の一方は、前記電源線と電気的に接続され、
前記第2のトランジスタのソース電極又はドレイン電極の他方は、前記発光素子と電気的に接続され、
前記第1のトランジスタは、トップゲート型であり、かつ、第1のゲート電極及び第2のゲート電極を有し、
前記第1の導電膜は、前記第1のゲート電極及び前記第2のゲート電極と電気的に接続され、
前記第2の導電膜は、前記電源線と電気的に接続される発光装置であって、
前記第1のゲート電極及び前記第2のゲート電極としての機能を有する第3の導電膜は、前記第3の導電膜の上面において前記第1の導電膜と接する領域を有し、
平面視において、前記第1の導電膜は、前記第3の導電膜のうち前記第1のゲート電極としての機能を有する第1の領域と、前記第3の導電膜のうち前記第2のゲート電極としての機能を有する第2の領域との間の領域と、重なる領域を有し、
前記第1の領域と前記第2の領域とは、前記第3の導電膜が有する第3の領域を介してつながっており、
前記電源線としての機能を有する第4の導電膜は、前記電源線としての機能を有する第5の導電膜と交差し、
前記第4の導電膜は、前記第4の導電膜の上面において前記第2の導電膜と接する領域を有し、
前記第1の導電膜及び前記第2の導電膜のそれぞれは、第1の絶縁膜の上面と接する領域を有する、
発光装置。
【請求項4】
第1のトランジスタと、第2のトランジスタと、発光素子と、電源線と、第1の導電膜と、第2の導電膜と、を有し、
前記第1のトランジスタのソース電極又はドレイン電極の一方は、前記第2のトランジスタのゲート電極と電気的に接続され、
前記第2のトランジスタのソース電極又はドレイン電極の一方は、前記電源線と電気的に接続され、
前記第2のトランジスタのソース電極又はドレイン電極の他方は、前記発光素子と電気的に接続され、
前記第1のトランジスタは、トップゲート型であり、かつ、第1のゲート電極及び第2のゲート電極を有し、
前記第1の導電膜は、前記第1のゲート電極及び前記第2のゲート電極と電気的に接続され、
前記第2の導電膜は、前記電源線と電気的に接続される発光装置であって、
前記第1のゲート電極及び前記第2のゲート電極としての機能を有する第3の導電膜は、前記第3の導電膜の上面において前記第1の導電膜と接する領域を有し、
平面視において、前記第1の導電膜は、前記第3の導電膜のうち前記第1のゲート電極としての機能を有する第1の領域と、前記第3の導電膜のうち前記第2のゲート電極としての機能を有する第2の領域との間の領域と、重なる領域を有し、
前記第1の領域と前記第2の領域とは、前記第3の導電膜が有する第3の領域を介してつながっており、
前記電源線としての機能を有する第4の導電膜は、前記電源線としての機能を有する第5の導電膜と交差し、
前記第4の導電膜は、前記第4の導電膜の上面において前記第2の導電膜と接する領域を有し、
前記第4の導電膜は、複数の画素に渡って延伸しており、
前記第1の導電膜及び前記第2の導電膜のそれぞれは、第1の絶縁膜の上面と接する領域を有する、
発光装置。
発明の詳細な説明
【技術分野】
【0001】
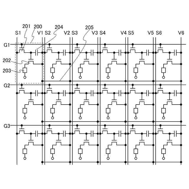
本発明は、発光素子が各画素に設けられた半導体表示装置に関する。
続きを表示(約 2,100 文字)
【背景技術】
【0002】
アクティブマトリクス型の半導体表示装置は、マトリクス状に配列された数十~数百万個
の各画素に、スイッチング素子と表示素子とが設けられている。該スイッチング素子によ
り、ビデオ信号を画素へ入力した後も表示素子への電圧の印加または電流の供給がある程
度維持されるので、アクティブマトリクス型は半導体表示装置の大型化、高精細化に柔軟
に対応することができ、今後の半導体表示装置の主流となりつつある。
【0003】
半導体表示装置の大型化に伴って浮上する問題の一つに、抵抗値の増大に起因する、配線
の電位の降下が挙げられる。例えば、スイッチング素子として機能するトランジスタのゲ
ート電極に接続された配線(走査線)の電位が降下してしまうと、走査線に入力された信
号の波形に乱れが生じ、該トランジスタのスイッチングを的確なタイミングで制御できな
くなってしまう。特に、走査線には、水平方向の全ての画素が有するトランジスタのゲー
ト電極が接続されている。半導体表示装置が高精細化されることで画素数が増えると、一
つの走査線に接続されるトランジスタの数も増大する。そのため、走査線の電位の降下が
より著しくなってしまい、トランジスタのスイッチングを的確に制御することがより困難
になる。
【0004】
走査線をより抵抗率の低い材料で形成することができれば、電位の降下を抑えることがで
きる。しかし、画素が有するトランジスタのゲート電極と走査線とは、通常、一つの層上
に形成された導電膜を、エッチング等により所望の形状に加工(パターニング)すること
で形成されている。ゲート電極には、トランジスタの作製工程において施される加熱処理
に耐えうる程度の耐熱性が要求されるため、ゲート電極及び走査線に用いることができる
材料の種類には、制限があった。
【0005】
下記の特許文献1には、走査線とは異なる層上において形成された補助配線と、走査線と
を接続することで、走査線の電位の降下を抑える液晶表示装置について記載されている。
【先行技術文献】
【特許文献】
【0006】
特開平10-198292号公報
【発明の概要】
【発明が解決しようとする課題】
【0007】
ところで、発光素子を表示素子として用いた半導体表示装置は視認性が高く、薄型化に最
適であると共に、視野角にも制限が無いため、CRT(cathode ray tub
e)や液晶表示装置に替わる半導体表示装置として注目されている。発光素子を用いたア
クティブマトリクス型の半導体表示装置は、具体的に提案されている構成がメーカーによ
って異なるが、通常、少なくとも発光素子と、画素へのビデオ信号の入力を制御するトラ
ンジスタ(スイッチング用トランジスタ)と、該発光素子に供給する電流値を制御するト
ランジスタ(駆動用トランジスタ)とが、各画素に設けられている。
【0008】
液晶素子は一対の電極間に印加される電圧の大きさに従って階調を表示する表示素子であ
るのに対し、発光素子は一対の電極間に流れる電流の大きさに従って階調を表示する表示
素子である。そのため、発光素子を用いた半導体表示装置は、液晶表示装置に比べて画素
に供給する電流が大きい。よって、半導体表示装置が大型化されることで、電流を供給す
るべき表示素子の総面積が増大すると、表示する階調によっては画素に供給する電流値が
著しく大きくなる。そのため、画素に電流を供給するための配線(電源線)の電位が大幅
に降下してしまい、表示領域内の画素間において輝度の高さにむらが生じてしまう。
【0009】
上述した問題に鑑み、配線の電位の降下に起因する画素間の輝度むらを抑えることを目的
とする。
【課題を解決するための手段】
【0010】
上記問題を解決するために、電源電位が与えられる電源線どうしを、画素が複数配列され
ている表示領域内において、電気的に接続する。さらに、電源線どうしを表示領域内にお
いて電気的に接続するための配線(補助電源線)と、画素が有するトランジスタのゲート
電極との上には層間絶縁膜が形成されており、電源線は、補助電源線及びゲート電極より
も更に上層に位置する、上記層間絶縁膜上に形成されている。そして、補助電源線には、
層間絶縁膜上に形成された配線(補助配線)が電気的に、或いは直接、接続されている。
なお、本明細書において、電気的に接続という場合には、特別に断りがない限り、直接接
続される状態も含むものとする。
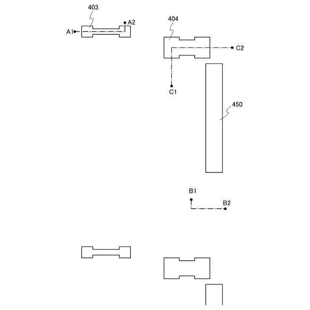
(【0011】以降は省略されています)
この特許をJ-PlatPat(特許庁公式サイト)で参照する
関連特許
個人
回転式カード学習具
1か月前
日本精機株式会社
表示装置
2か月前
個人
時刻表示機能つき手帳
2か月前
日本精機株式会社
表示装置
26日前
個人
計算用教具
22日前
中国電力株式会社
標示旗
1か月前
日本精機株式会社
車両用表示装置
2か月前
日本精機株式会社
車両用表示装置
2か月前
日本精機株式会社
車両用表示装置
2か月前
個人
微細構造を模した理科学習教材
5日前
日本精機株式会社
車両用センサ装置
22日前
個人
モデルで薔薇の花嫁様を描く為
1か月前
トヨタ自動車株式会社
評価方法
3か月前
シャープ株式会社
表示装置
1か月前
株式会社一弘社
情報表示板
1か月前
株式会社ウメラボ
学習支援システム
12日前
個人
音楽教材
2か月前
株式会社ウメラボ
学習支援システム
18日前
ニチレイマグネット株式会社
磁着式電飾装置
1か月前
株式会社半導体エネルギー研究所
半導体装置
2か月前
株式会社リコー
画像投射システム
1か月前
リンテック株式会社
表示体
11日前
株式会社サンゲツ
見本帳
2か月前
シチズンファインデバイス株式会社
液晶表示装置
2か月前
個人
サインポスト
2か月前
BEST株式会社
吊り下げ表示部材
2か月前
シチズンファインデバイス株式会社
液晶表示装置
1か月前
学校法人関西医科大学
腹腔鏡手術訓練装置
1か月前
個人
ピアノの指トレーニング器具及び練習方法
3か月前
シャープ株式会社
表示装置
2か月前
シャープ株式会社
表示装置
2か月前
ニデックインスツルメンツ株式会社
情報処理装置
2か月前
セイコーエプソン株式会社
表示方法
1か月前
セイコーエプソン株式会社
表示方法
1か月前
リンテック株式会社
粘着ラベル
12日前
ニプロ株式会社
シミュレータ
1か月前
続きを見る
他の特許を見る