TOP
|
特許
|
意匠
|
商標
特許ウォッチ
Twitter
他の特許を見る
公開番号
2025162724
公報種別
公開特許公報(A)
公開日
2025-10-28
出願番号
2024066106
出願日
2024-04-16
発明の名称
プリンタおよびプログラム
出願人
ブラザー工業株式会社
代理人
弁理士法人コスモス国際特許商標事務所
主分類
H04N
1/409 20060101AFI20251021BHJP(電気通信技術)
要約
【課題】多値で構成された画像を二階調に変換して印刷する際の、文字の画像品質を向上させる技術を提供すること。
【解決手段】プリンタ1は、印刷対象の画像データに基づいて多値画像である中間データを生成し、生成した中間データをディザ処理等によって二階調に変換し、二値化画像を生成する。さらに、プリンタ1は、生成した二値化画像に基づく印刷を、印刷デバイス15によって行う。プリンタ1は、中間データを生成する前に、画像データから文字データを検出し、検出された文字データに示される文字について、1つの着色剤で印刷する場合、文字のエッジに破線を追加し、破線が追加された文字に基づいて中間データを生成し、複数の着色剤で印刷する場合、破線を追加しない。
【選択図】図1
特許請求の範囲
【請求項1】
印刷デバイスとコントローラとを備えるプリンタであって、
前記コントローラは、
画像データを取得する取得処理と、
前記取得処理にて取得された前記画像データに基づいて、多値で構成される多値画像を生成する多値画像生成処理と、
前記多値画像生成処理にて生成された前記多値画像を二階調に変換し、二値化画像を生成する二値化処理と、
前記二値化処理にて生成された前記二値化画像に基づく印刷を、前記印刷デバイスに行わせる印刷処理と、
を実行可能であり、
前記コントローラはさらに、
前記取得処理を実行した後であって前記多値画像生成処理を実行する前に、前記取得処理にて取得された前記画像データから文字を示す文字データを検出する文字検出処理を実行し、
前記コントローラはさらに、
前記文字検出処理にて検出された前記文字データに示される文字について、
1つの着色剤で印刷する場合、文字のエッジに破線を追加する破線追加処理を実行し、前記多値画像生成処理では、前記破線追加処理にて前記破線が追加された文字に基づいて、前記多値画像を生成し、
複数の着色剤で印刷する場合、前記破線追加処理を実行しない、
ように構成されるプリンタ。
続きを表示(約 2,500 文字)
【請求項2】
請求項1に記載されるプリンタにおいて、
文字を印刷するモードとして、グレイの文字を黒色の着色剤で印刷する第1モードと、グレイの文字を複数の着色剤で印刷する第2モードと、を有し、
前記コントローラは、
前記文字検出処理にて検出された前記文字データに示される文字について、
文字の色がグレイであり、かつ前記第1モードで動作している場合、前記破線追加処理を実行し、前記多値画像生成処理では、前記破線追加処理にて前記破線が追加された文字に基づいて、前記多値画像を生成し、
文字の色がグレイでない、または前記第2モードで動作している場合、前記破線追加処理を実行しない、
ように構成されるプリンタ。
【請求項3】
請求項1に記載されるプリンタにおいて、
前記コントローラは、
前記文字検出処理にて検出された前記文字データに示される文字について、
文字の色がグレイであって黒に近似しておらず、かつ1つの着色剤で印刷する場合、前記破線追加処理を実行し、前記多値画像生成処理では、前記破線追加処理にて前記破線が追加された文字に基づいて、前記多値画像を生成し、
文字の色がグレイでない、または文字の色がグレイでも黒に近似している、または複数の着色剤で印刷する場合、前記破線追加処理を実行しない、
ように構成されるプリンタ。
【請求項4】
印刷デバイスとコントローラとを備えるプリンタであって、
前記コントローラは、
画像データを取得する取得処理と、
前記取得処理にて取得された前記画像データに基づいて、多値で構成される多値画像を生成する多値画像生成処理と、
前記多値画像生成処理にて生成された前記多値画像を二階調に変換し、二値化画像を生成する二値化処理と、
前記二値化処理にて生成された前記二値化画像に基づく印刷を、前記印刷デバイスに行わせる印刷処理と、
を実行可能であり、
前記コントローラはさらに、
前記取得処理を実行した後であって前記多値画像生成処理を実行する前に、前記取得処理にて取得された前記画像データから文字を示す文字データを検出する文字検出処理を実行し、
前記コントローラはさらに、
前記文字検出処理にて検出された前記文字データに示される文字の色がグレイであれば、
黒に近似しない場合、文字のエッジに破線を追加する破線追加処理を実行し、前記多値画像生成処理では、前記破線追加処理にて前記破線が追加された文字に基づいて、前記多値画像を生成し、
黒に近似する場合、前記破線追加処理を実行しない、
ように構成されるプリンタ。
【請求項5】
請求項4に記載されるプリンタにおいて、
前記コントローラは、
前記文字検出処理にて検出された前記文字データに示される文字の色がグレイであれば、RGB値の平均値が閾値以下の場合に黒に近似すると判定し、前記閾値よりも大きい場合に黒に近似しないと判定し、
黒に近似しないと判定した文字について、前記破線追加処理を実行し、前記多値画像生成処理では、前記破線追加処理にて前記破線が追加された文字に基づいて、前記多値画像を生成し、
黒に近似すると判定した文字について、前記破線追加処理を実行しない、
ように構成されるプリンタ。
【請求項6】
請求項4に記載されるプリンタにおいて、
前記コントローラは、
前記文字検出処理にて検出された前記文字データに示される文字の色がグレイであれば、
黒に近似しない場合、前記破線追加処理を実行し、前記多値画像生成処理では、前記破線追加処理にて前記破線が追加された文字に基づいて、前記多値画像を生成し、
黒に近似する場合、前記破線追加処理を実行せず、黒の文字として印刷する、
ように構成されるプリンタ。
【請求項7】
請求項1に記載されるプリンタにおいて、
前記破線追加処理で追加される前記破線は、複数の線部と、各線部の間にある非線部と、を有し、前記文字検出処理にて検出された前記文字データに示される文字の濃度が第1濃度の場合、前記第1濃度よりも高い第2濃度の場合と比較して、前記線部の前記非線部に対する比が低い、
ように構成されるプリンタ。
【請求項8】
請求項1に記載されるプリンタにおいて、
前記コントローラは、
前記文字検出処理にて検出された前記文字データに示される文字の濃度が、第1閾値よりも高い場合は、前記破線追加処理を実行せず、前記第1閾値は70%よりも高い、
ように構成されるプリンタ。
【請求項9】
請求項1に記載されるプリンタにおいて、
前記コントローラは、
前記文字検出処理にて検出された前記文字データに示される文字の濃度が、第2閾値よりも低い場合は、前記破線追加処理を実行せず、前記第2閾値は60%よりも低い、
ように構成されるプリンタ。
【請求項10】
請求項1から請求項9のいずれか1つに記載されるプリンタにおいて、
前記コントローラは、
前記文字検出処理では、前記取得処理にて取得された前記画像データから、前記文字データとしてテキストオブジェクトを検出し、
前記破線追加処理では、前記文字検出処理にて検出された前記テキストオブジェクトに示される各文字の輪郭形状を示すデータを取得し、取得された前記データに示される前記輪郭形状に沿って前記破線を追加した中間データを生成し、
前記多値画像生成処理では、前記破線追加処理にて生成された前記中間データに基づいて、前記多値画像を生成する、
ように構成されるプリンタ。
(【請求項11】以降は省略されています)
発明の詳細な説明
【技術分野】
【0001】
本明細書に開示される技術分野は、多値で構成された画像を二階調に変換して印刷することが可能なプリンタおよびプログラムに関する。
続きを表示(約 2,000 文字)
【背景技術】
【0002】
従来、プリンタにおいて、多値で構成された画像をディザ処理や誤差拡散処理を用いて二階調に変換し、二値化画像として濃淡を表現する技術が知られている。この二値化画像では、濃度が下がるほどドットが無い部分の比率が大きくなる。そのため、二値化画像に基づく印字では、ドットが大きく欠けている部分がエッジに露出することがあり、いわゆるジャギーが発生しやすい。そこで、特許文献1に開示されているように、エッジを滑らかに見せるための方法が提案されている。
【先行技術文献】
【特許文献】
【0003】
特開平06-105130号公報
【発明の概要】
【発明が解決しようとする課題】
【0004】
従来の技術のように、二値化画像に含まれる文字に対してエッジを滑らかに見せるためのエッジ強調処理を施した場合、ジャギーは発生し難くなるものの、文字が縁どられたように見えてしまうことがある、といった別の課題が生じてしまう。
【課題を解決するための手段】
【0005】
この課題の解決を目的としてなされたプリンタは、印刷デバイスとコントローラとを備えるプリンタであって、前記コントローラは、画像データを取得する取得処理と、前記取得処理にて取得された前記画像データに基づいて、多値で構成される多値画像を生成する多値画像生成処理と、前記多値画像生成処理にて生成された前記多値画像を二階調に変換し、二値化画像を生成する二値化処理と、前記二値化処理にて生成された前記二値化画像に基づく印刷を、前記印刷デバイスに行わせる印刷処理と、を実行可能であり、前記コントローラはさらに、前記取得処理を実行した後であって前記多値画像生成処理を実行する前に、前記取得処理にて取得された前記画像データから文字を示す文字データを検出する文字検出処理を実行し、前記コントローラはさらに、前記文字検出処理にて検出された前記文字データに示される文字について、1つの着色剤で印刷する場合、文字のエッジに破線を追加する破線追加処理を実行し、前記多値画像生成処理では、前記破線追加処理にて前記破線が追加された文字に基づいて、前記多値画像を生成し、複数の着色剤で印刷する場合、前記破線追加処理を実行しない、ように構成される。
【0006】
本明細書に開示されるプリンタは、多値画像を生成する前に、印刷対象の画像に含まれる文字のエッジに破線を追加するので、その破線によって、二値化された文字のエッジに露出する大きな欠けの一部が塞がれることが期待できる。これにより、文字のエッジの欠けが目立ち難く、ジャギーの発生が抑制される。ただし、複数の着色剤を用いて文字を印刷する場合、ドットを打つ位置が色ごとにずれ、白部分が少なくなり易いことから、文字のエッジに欠けが生じ難い。プリンタは、複数の着色剤を用いて印刷される文字については破線を付加しないので、処理負荷を軽減できる。
【0007】
上記プリンタを含む印刷システム、プリンタの機能を実現するための制御方法、コンピュータプログラム、当該プログラムを格納するコンピュータにて読取可能な記憶媒体も、新規で有用である。
【発明の効果】
【0008】
本明細書に開示される技術によれば、多値で構成された画像を二階調に変換して印刷する際の、文字の画像品質を向上させる技術が実現される。
【図面の簡単な説明】
【0009】
プリンタの概略構成を示すブロック図である。
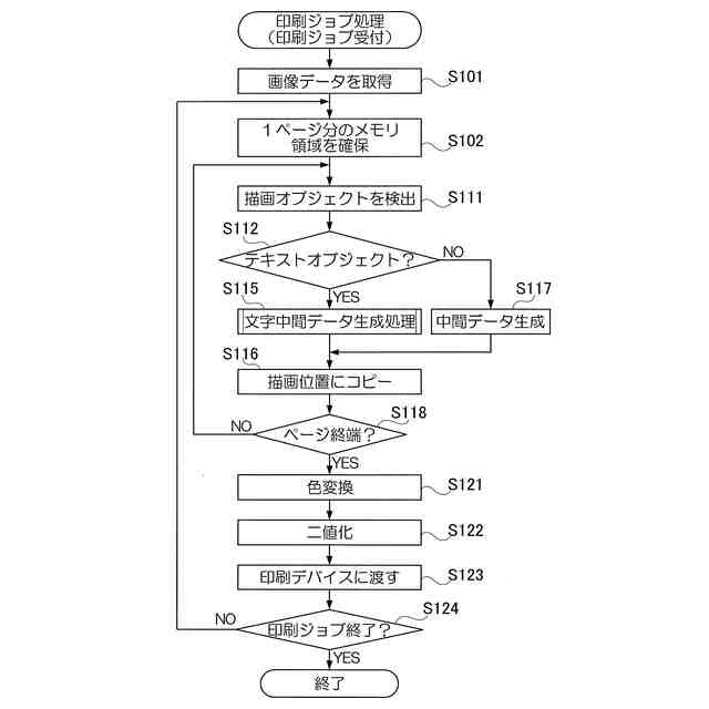
印刷ジョブ処理の手順を示すフローチャートである。
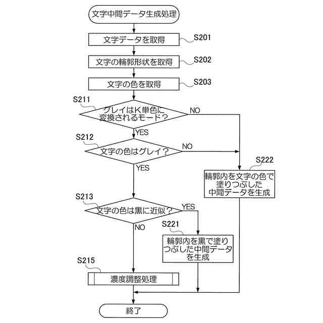
文字中間データ生成処理の手順を示すフローチャートである。
PDF形式のテキスト描画コマンドの例を示す説明図である。
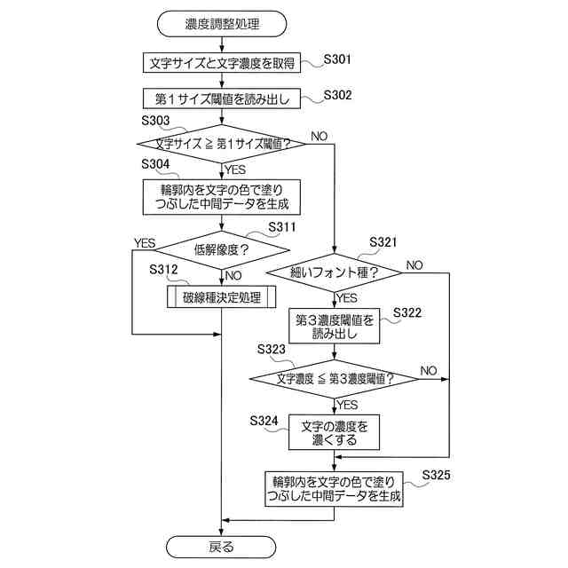
濃度調整処理の手順を示すフローチャートである。
破線種決定処理の手順を示すフローチャートである。
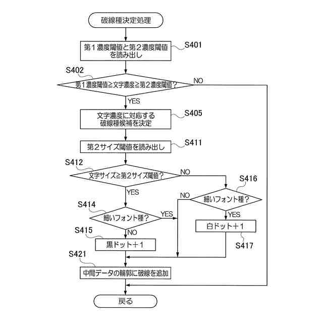
文字濃度と破線種との関係の例を示す説明図である。
破線が追加された中間データの一部の例を示す説明図である。
印刷解像度が低解像度である場合の例を示す説明図である。
線が細く文字濃度が低い文字である場合の例を示す説明図である。
文字サイズが小さい文字である場合の例を示す説明図である。
破線が追加された二値化データの一部の例を示す説明図である。
プリンタに接続されるPCの概略構成を示すブロック図である。
PCにて実行される印刷ジョブ処理の手順を示すフローチャートである。
【発明を実施するための形態】
【0010】
以下、実施の形態にかかるプリンタについて、添付図面を参照しつつ詳細に説明する。本実施の形態は、多値で構成されたカラー画像に基づく印刷が可能なプリンタを開示するものである。
(【0011】以降は省略されています)
この特許をJ-PlatPat(特許庁公式サイト)で参照する
関連特許
ブラザー工業株式会社
印刷装置
2日前
ブラザー工業株式会社
印刷装置
14日前
ブラザー工業株式会社
画像形成装置
1日前
ブラザー工業株式会社
画像形成装置
1日前
ブラザー工業株式会社
画像形成装置
1日前
ブラザー工業株式会社
画像形成装置
1日前
ブラザー工業株式会社
サポートプログラム
1日前
ブラザー工業株式会社
サポートプログラム
1日前
ブラザー工業株式会社
プリンタおよびプログラム
3日前
ブラザー工業株式会社
プリンタおよびプログラム
3日前
ブラザー工業株式会社
インクジェット記録方法及び印刷物
16日前
ブラザー工業株式会社
プログラム、データ処理装置、および、データ処理方法
3日前
ブラザー工業株式会社
通信システム、サーバ、および、コンピュータプログラム
1日前
ブラザー工業株式会社
プリンタ
16日前
ブラザー工業株式会社
画像形成装置
7日前
ブラザー工業株式会社
情報処理プログラム、情報処理装置、情報処理方法、印刷プログラム、印刷装置、及び印刷方法
3日前
個人
イヤーマフ
7日前
個人
監視カメラシステム
16日前
個人
スイッチシステム
1日前
キーコム株式会社
光伝送線路
17日前
個人
スキャン式車載用撮像装置
16日前
WHISMR合同会社
収音装置
1か月前
サクサ株式会社
中継装置
22日前
サクサ株式会社
中継装置
23日前
アイホン株式会社
電気機器
1か月前
キヤノン株式会社
撮像装置
2か月前
株式会社リコー
画像形成装置
9日前
サクサ株式会社
無線システム
21日前
株式会社リコー
画像形成装置
2か月前
株式会社リコー
画像形成装置
2か月前
個人
ワイヤレスイヤホン対応耳掛け
1か月前
キヤノン電子株式会社
画像読取装置
1日前
個人
映像表示装置、及びARグラス
2日前
キヤノン電子株式会社
画像読取装置
1か月前
キヤノン電子株式会社
画像読取装置
15日前
サクサ株式会社
無線通信装置
22日前
続きを見る
他の特許を見る