TOP
|
特許
|
意匠
|
商標
特許ウォッチ
Twitter
他の特許を見る
公開番号
2025092015
公報種別
公開特許公報(A)
公開日
2025-06-19
出願番号
2023207632
出願日
2023-12-08
発明の名称
給電装置
出願人
矢崎総業株式会社
代理人
弁理士法人虎ノ門知的財産事務所
主分類
H02G
11/00 20060101AFI20250612BHJP(電力の発電,変換,配電)
要約
【課題】車両の車室内で使用される機器の使用範囲を拡大することができる給電装置を提供することを目的とする。
【解決手段】給電装置1は、車両100の車室内で使用される機器に対して給電する配索材10と、配索材10が収容される収容空間部25および収容空間部25と外部とを連通する開口部26が設けられた給電ケース20と、給電ケース20の開口部26と接続されるスライドレール30と、開口部26から給電ケース20の外側に引き出された配索材10の端部11aをスライドレール30に沿ってスライド可能に支持すると共に、機器と接続されるコネクタ45が設けられたスライドプロテクタ40と、を備え、スライドレール30は、開口部26と接続され給電ケース20の延在方向Xに沿って延在する幹部31と、幹部31と接続され延在方向Xと交差する幅方向Yに沿って延在する枝部32と、を有する。
【選択図】図1
特許請求の範囲
【請求項1】
車両の車室内で使用される機器に対して給電する配索材と、
前記配索材が収容される収容空間部と、前記収容空間部と外部とを連通する開口部と、が設けられた給電ケースと、
前記給電ケースの前記開口部と接続されるスライドレールと、
前記開口部から前記給電ケースの外側に引き出された前記配索材の端部を前記スライドレールに沿ってスライド可能に支持すると共に、前記機器と接続されるコネクタが設けられたスライドプロテクタと、を備え、
前記スライドレールは、前記開口部と接続され前記給電ケースの延在方向に沿って延在する幹部と、前記幹部と接続され前記延在方向と交差する幅方向に沿って延在する枝部と、を有する、
給電装置。
続きを表示(約 490 文字)
【請求項2】
複数の前記配索材と、
複数の前記配索材のそれぞれの前記端部を前記スライドレールに沿ってスライド可能に支持すると共に、それぞれに前記コネクタが設けられた複数の前記スライドプロテクタと、を備え、
複数の前記スライドプロテクタは、少なくとも一つが前記スライドレールの前記幹部に配置され、かつ少なくとも別の一つが前記スライドレールの前記枝部に配置された状態で設けられる、
請求項1に記載の給電装置。
【請求項3】
複数の前記配索材は、それぞれが可撓性を有する平型配索材によって構成され、
複数の前記平型配索材は、前記スライドレールの前記幹部内にそれぞれの板厚方向が前記幅方向に沿う縦置きの姿勢で配索される、
請求項2に記載の給電装置。
【請求項4】
前記給電ケースおよび前記スライドレールは、前記車両の天井に設置され、
前記スライドプロテクタは、前記スライドレールに対して手動で前記幹部および前記枝部に沿ってスライド可能に構成される、
請求項1または2に記載の給電装置。
発明の詳細な説明
【技術分野】
【0001】
本発明は、給電装置に関する。
続きを表示(約 2,000 文字)
【背景技術】
【0002】
従来の給電装置に関する技術として、例えば、特許文献1には、車両のスライドシートに対して給電する配索材と、配索材が収容される給電ケースと、給電ケースの配索材出口と接続されるスライドレールと、給電ケースの外側に引き出された配索材の端部をスライドレールに沿ってスライド可能に支持するスライドプロテクタと、を備えた給電装置が開示されている。
【先行技術文献】
【特許文献】
【0003】
特許第7167384号公報
【発明の概要】
【発明が解決しようとする課題】
【0004】
ところで、上述した特許文献1に記載の給電装置では、給電の対象が車両のスライドシートであるが、例えば、給電の対象が車両の車室内で使用される機器である場合があり、この場合、機器の使用範囲拡大の点で更なる改善の余地があった。
【0005】
本発明は、上記の事情に鑑みてなされたものであって、車両の車室内で使用される機器の使用範囲を拡大することができる給電装置を提供することを目的とする。
【課題を解決するための手段】
【0006】
上記目的を達成するために、本発明に係る給電装置は、車両の車室内で使用される機器に対して給電する配索材と、前記配索材が収容される収容空間部と、前記収容空間部と外部とを連通する開口部と、が設けられた給電ケースと、前記給電ケースの前記開口部と接続されるスライドレールと、前記開口部から前記給電ケースの外側に引き出された前記配索材の端部を前記スライドレールに沿ってスライド可能に支持すると共に、前記機器と接続されるコネクタが設けられたスライドプロテクタと、を備え、前記スライドレールは、前記開口部と接続され前記給電ケースの延在方向に沿って延在する幹部と、前記幹部と接続され前記延在方向と交差する幅方向に沿って延在する枝部と、を有する。
【発明の効果】
【0007】
本発明に係る給電装置では、スライドレールは、給電ケースの開口部と接続され延在方向に沿って延在する幹部と、幹部と接続され延在方向と交差する幅方向に沿って延在する枝部と、を有する。この構成により、給電装置は、例えば、機器と接続されるコネクタが設けられたスライドプロテクタを、スライドレールに対して幹部および枝部に沿って延在方向および幅方向にスライドさせることができる。この結果、給電装置は、車両の車室内で使用される機器の使用範囲を拡大することができる、という効果を奏する。
【図面の簡単な説明】
【0008】
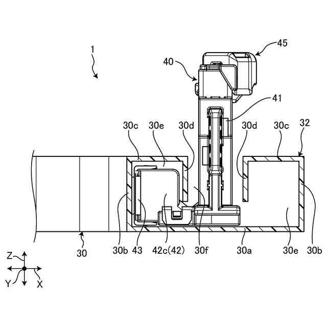
図1は、実施形態に係る給電装置の例示的な斜視図である。
図2は、実施形態に係る給電装置のスライドレールが取り外された状態の例示的な平面図であって、高さ方向の下方側(車室内側)から見た図である。
図3は、実施形態に係る給電装置のスライドレールが取り外された状態の例示的な平面図であって、高さ方向の上方側から見た図である。
図4は、実施形態に係る給電装置のスライドレールにおける幹部の例示的な断面図である。
図5は、実施形態に係る給電装置のスライドレールにおける枝部の例示的な断面図である。
図6は、実施形態に係る給電装置のスライドプロテクタの例示的な斜視図である。
【発明を実施するための形態】
【0009】
以下、本発明に係る実施形態を図面に基づいて詳細に説明する。なお、下記実施形態によりこの発明が限定されるものではない。また、下記実施形態における構成要素には、当業者が置換可能かつ容易なもの、あるいは実質的に同一のものが含まれる。なお、本明細書では、序数は、部品や、部材、部位、位置、方向等を区別するためだけに用いられており、順番や優先度を示すものではない。
【0010】
[実施形態]
図1は、実施形態に係る給電装置1の斜視図である。図1に示される本実施形態の給電装置1は、例えば、多目的車両等の車両100の天井101に設置され、車室内で使用される機器に対して給電するものである。本実施形態の給電装置1は、例えば、導電性を有する複数の配索材10(図2参照)と、複数の配索材10を収容する給電ケース20と、給電ケース20と接続されるスライドレール30と、給電ケース20の外側に引き出された複数の配索材10のそれぞれの端部11aをスライドレール30に沿ってスライド可能に支持する複数のスライドプロテクタ40と、を備えている。なお、給電装置1は、この他、さらに、固定具や、ガイド機構など種々の構成部品を含んで構成されてもよい。車室内で使用される機器は、例えば、照明や、モニタ、スマートフォン、ノートパソコン等の電子機器である。
(【0011】以降は省略されています)
この特許をJ-PlatPat(特許庁公式サイト)で参照する
関連特許
矢崎総業株式会社
端子
1か月前
矢崎総業株式会社
端子
1か月前
矢崎総業株式会社
照明灯
25日前
矢崎総業株式会社
箱状体
1か月前
矢崎総業株式会社
雌端子
1か月前
矢崎総業株式会社
バスバ
1か月前
矢崎総業株式会社
箱状体
1か月前
矢崎総業株式会社
コネクタ
1か月前
矢崎総業株式会社
コネクタ
10日前
矢崎総業株式会社
コネクタ
1か月前
矢崎総業株式会社
コネクタ
1か月前
矢崎総業株式会社
コネクタ
16日前
矢崎総業株式会社
コネクタ
1か月前
矢崎総業株式会社
コネクタ
18日前
矢崎総業株式会社
コネクタ
18日前
矢崎総業株式会社
配索構造
1か月前
矢崎総業株式会社
コネクタ
25日前
矢崎総業株式会社
コネクタ
25日前
矢崎総業株式会社
コネクタ
25日前
矢崎総業株式会社
コネクタ
1か月前
矢崎総業株式会社
コネクタ
1か月前
矢崎総業株式会社
コネクタ
1か月前
矢崎総業株式会社
コネクタ
9日前
矢崎総業株式会社
コネクタ
1か月前
矢崎総業株式会社
コネクタ
6日前
矢崎総業株式会社
照明構造
2日前
矢崎総業株式会社
止水部材
2日前
矢崎総業株式会社
コネクタ
1か月前
矢崎総業株式会社
コネクタ
4日前
矢崎総業株式会社
コネクタ
4日前
矢崎総業株式会社
コネクタ
2日前
矢崎総業株式会社
照明装置
1か月前
矢崎総業株式会社
コネクタ
2日前
矢崎総業株式会社
コネクタ
1か月前
矢崎総業株式会社
電気接続箱
26日前
矢崎総業株式会社
ゴムブーツ
2日前
続きを見る
他の特許を見る