TOP
|
特許
|
意匠
|
商標
特許ウォッチ
Twitter
他の特許を見る
公開番号
2025141446
公報種別
公開特許公報(A)
公開日
2025-09-29
出願番号
2024041379
出願日
2024-03-15
発明の名称
ベース装置、化粧板ユニット、火災感知器及び火災感知システム
出願人
能美防災株式会社
代理人
弁理士法人エビス国際特許事務所
主分類
G08B
17/00 20060101AFI20250919BHJP(信号)
要約
【課題】本発明は、火災感知器を目立たないようにすることを課題とする。
【解決手段】本発明のベース装置は、引き込み装置を備え、前記引き込み装置により火災感知器を化粧板から突出した状態と突出しない状態に切り替え可能であることを特徴とする。
【選択図】 図3
特許請求の範囲
【請求項1】
引き込み装置を備え、
前記引き込み装置により、火災感知器を化粧板から突出した突出状態と、前記化粧板から突出しない引き込み状態に切り替え可能であることを特徴とするベース装置。
続きを表示(約 580 文字)
【請求項2】
火災感知器の突出量を調節可能であることを特徴とする請求項1に記載されたベース装置。
【請求項3】
人がいることを検知して、火災感知器を引き込み状態にすることを特徴とする請求項1に記載されたベース装置。
【請求項4】
人がいることを検知しても、人が就寝していることを検知すると、前記火災感知器を突出状態とすることを特徴とする請求項3に記載されたベース装置。
【請求項5】
人を検知するセンサーと、前記請求項3または4のベース装置を化粧板パネルに備えたことを特徴とする化粧板ユニット。
【請求項6】
請求項1乃至4のいずれか一項に記載されたベース装置と、
前記ベース装置に取り付けられた火災感知器本体と、を備え、
前記火災感知器本体は、円柱形状であって側面に空気流入口を有していることを特徴とする火災感知器。
【請求項7】
火災受信機と、
前記請求項1乃至4のいずれか一項に記載されたベース装置を複数備え、
複数の前記ベース装置は、前記火災受信機に感知線で接続され、
前記感知線に接続された複数の前記ベース装置のうち、いずれかから火災感知信号を送出した際には、他の前記ベース装置を突出状態にすることを特徴とする火災感知システム。
発明の詳細な説明
【技術分野】
【0001】
本発明は、火災の検知に用いるベース装置、化粧板ユニット、火災感知器及び火災感知システムに関するものである。
続きを表示(約 1,500 文字)
【背景技術】
【0002】
特許文献1に記載されているように、火災感知器の一種である煙感知器は、天井等に取り付けて火災による煙を感知する。特許文献1の煙感知器は、天井等に感知器ベースを設置し、感知器ベースに煙感知器本体を取り付ける。特許文献2は、火災感知器の一種である熱感知器であり、天井に固定される。
【先行技術文献】
【特許文献】
【0003】
特開2023-095473号公報
特開2023-113876号公報
【発明の概要】
【発明が解決しようとする課題】
【0004】
煙感知器等の火災感知器は、天井板等の化粧板から室内側に突出して設置される。火災感知器の室内への突出は目立って内装の美観を損なう可能性があるため、目立ちにくい火災感知器も実用化されている。たとえば、埋込型の煙感知器は感知器本体のほとんどが化粧板の室内面よりも室外側に位置して、従来のものより目立ちにくい。しかし、埋込型の煙感知器であっても、室内に突出する空気流入口の近傍等は目立ってしまう。煙感知器では、煙感知器本体内に煙を導入するための空気流入口は、煙が流入しやすいように、化粧板の室内側に突出している。仮に、煙感知器を化粧板の裏側に設け、空気流入口の近傍を室内側に突出しないように化粧板にフラットに形成したとしても、室内側に露出しているために空気流入口は目立ってしまう。煙感知器は目立たない方が、設置した部屋における内装の美観を損なわないようにすることができる。
【0005】
本発明は、火災感知器をより目立たないようにすることを課題とする。
【課題を解決するための手段】
【0006】
本発明の一実施形態におけるベース装置は、引き込み装置を備え、前記引き込み装置により、火災感知器を化粧板から突出した突出状態と突出しない引き込み状態に切り替え可能であることを特徴とする。
【発明の効果】
【0007】
本発明により、火災感知器を目立たないようにすることができる。
【図面の簡単な説明】
【0008】
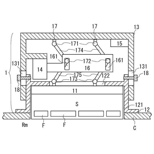
天井板に取り付けた実施形態のベース装置の縦断面図。
突出状態である実施形態における煙感知器の縦断面図。
引き込み状態である実施形態における煙感知器の縦断面図。
実施形態の煙感知器をホテルの客室に設置した場合の平面図。
実施形態の煙感知器をホテルの客室に設置した場合のベース装置の動作フロー図。
実施形態における化粧板ユニット。
実施形態の煙感知器を備えた煙感知システム。
【発明を実施するための形態】
【0009】
以下の実施形態では、水平な天井板Cに設置された煙感知器のベース装置1について説明する。しかし、ベース装置1を斜めの天井板や壁板等の化粧板に取り付けてもよい。ベース装置1は煙感知器本体Sが取り付けられて煙感知器を形成する。実施形態では火災感知器として煙感知器の例を示している。しかし、熱感知器等の他の火災感知器でもよい。その場合、煙感知器本体Sは熱感知器本体等の他の火災感知器本体となる。
【0010】
図1は、天井板Cに取り付けた実施形態のベース装置1の縦断面図である。天井板Cの下側が室内Rmであり、ベース装置1は、化粧板である天井板Cの裏側に取り付けられている。天井板Cの裏側は室内Rmとは反対側である。ベース装置1は、内部において上下に移動する感知器ベース11を有する。図1において、感知器ベース11は側面図で示す。図1等では、配線の記載を省略する。
(【0011】以降は省略されています)
この特許をJ-PlatPat(特許庁公式サイト)で参照する
関連特許
能美防災株式会社
消火設備
今日
能美防災株式会社
防災システム
今日
能美防災株式会社
感知器ベース
2日前
能美防災株式会社
防災システム
20日前
能美防災株式会社
中継器の配線接続構造
14日前
能美防災株式会社
塵芥車の火災検知システム
今日
能美防災株式会社
防災設備の製造管理システム
今日
能美防災株式会社
避難シミュレーションシステム
今日
能美防災株式会社
火災感知器
今日
能美防災株式会社
ベース装置、化粧板ユニット、火災感知器及び火災感知システム
2日前
能美防災株式会社
スプリンクラーヘッド
12日前
国立大学法人群馬大学
支持構造の異常検知方法
2日前
国立大学法人群馬大学
支持構造の異常検知方法
2日前
日本精機株式会社
警報システム
1か月前
個人
自動電動車椅子
13日前
エムケー精工株式会社
車両誘導装置
1か月前
スズキ株式会社
運転支援装置
29日前
個人
磁気路上での車両の路線離脱防御
2日前
ニッタン株式会社
検知器
21日前
ニッタン株式会社
発信機
1か月前
株式会社国際電気
防災システム
1か月前
ニッタン株式会社
発信機
1か月前
ニッタン株式会社
検知器
23日前
ニッタン株式会社
検知器
21日前
トヨタ自動車株式会社
車両
1か月前
株式会社小糸製作所
移動体検出装置
23日前
トヨタ自動車株式会社
サーバ
6日前
日本信号株式会社
異常走行検出装置
6日前
株式会社SUBARU
運転支援装置
今日
株式会社小糸製作所
車両検出システム
23日前
日本精機株式会社
報知装置及び報知システム
12日前
能美防災株式会社
火災感知器
26日前
ヨシモトポール株式会社
接近報知システム
26日前
本田技研工業株式会社
情報提供装置
1か月前
本田技研工業株式会社
情報提供装置
1か月前
本田技研工業株式会社
運転評価装置
2か月前
続きを見る
他の特許を見る