TOP
|
特許
|
意匠
|
商標
特許ウォッチ
Twitter
他の特許を見る
公開番号
2025112172
公報種別
公開特許公報(A)
公開日
2025-07-31
出願番号
2024006312
出願日
2024-01-18
発明の名称
電極インクの塗工方法
出願人
本田技研工業株式会社
代理人
個人
,
個人
主分類
B05D
1/38 20060101AFI20250724BHJP(霧化または噴霧一般;液体または他の流動性材料の表面への適用一般)
要約
【課題】電極層の形成が容易な電極インクの塗工方法を提供すること。
【解決手段】多孔質のガス拡散層4に電極層2を形成する電極インクの塗工方法は、ガス拡散層4の下面を加熱手段5で加熱する加熱工程S1と、ガス拡散層4の上に電極インク20を塗工する塗工工程S2と、塗工工程S2で塗工した電極インク20を乾燥させる乾燥工程S3と、塗工工程S2と、乾燥工程S3と、を繰り返し行う繰り返し工程S4と、を有する。繰り返し工程S4は、ガス拡散層4の表面が、電極インク20で覆われた状態となるまで行われることが好ましい。
【選択図】図1
特許請求の範囲
【請求項1】
多孔質のガス拡散層に電極層を形成する電極インクの塗工方法であって、
前記ガス拡散層の下面を加熱手段で加熱する加熱工程と、
前記ガス拡散層の上に前記電極インクを塗工する塗工工程と、
前記塗工工程で塗工した前記電極インクを乾燥させる乾燥工程と、
前記塗工工程と、前記乾燥工程と、を繰り返し行う繰り返し工程と、を有する電極インクの塗工方法。
続きを表示(約 360 文字)
【請求項2】
前記繰り返し工程は、前記ガス拡散層の表面が、前記電極インクで覆われた状態となるまで行われる、請求項1に記載の電極インクの塗工方法。
【請求項3】
前記加熱工程を、昇温可能な板状の前記加熱手段の上に前記ガス拡散層を載せて行う、請求項1又は2に記載の電極インクの塗工方法。
【請求項4】
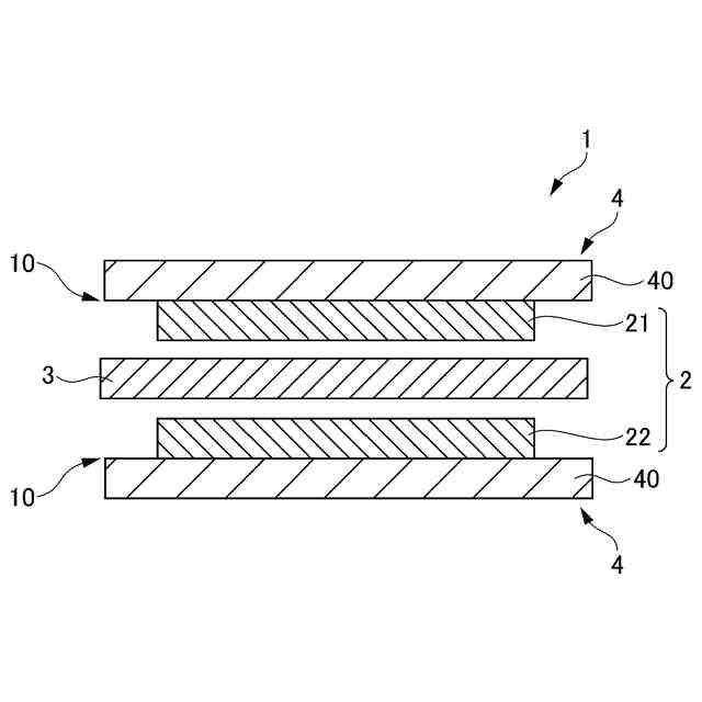
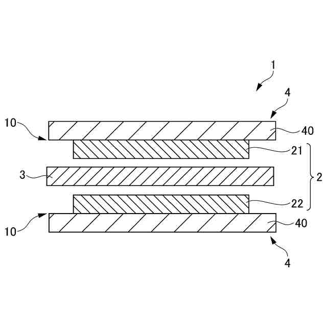
固体高分子電解質膜の両面に電極層が配置され、前記電極層の外側にガス拡散層が形成されたガス拡散電極を有する電解質膜・電極構造体であって、
前記ガス拡散層は、多孔質性のシート状部材で構成され、
前記電極層は、前記ガス拡散層の内部に電極インクが染み込んで乾燥された電極内側層と、前記ガス拡散層の表面に前記電極インクが配置された電極外側層と、を有する、電解質膜・電極構造体。
発明の詳細な説明
【技術分野】
【0001】
本発明は、電極インクの塗工方法に関する。
続きを表示(約 1,600 文字)
【背景技術】
【0002】
従来、固体高分子電解質膜の両側にアノード電極層とカソード電極層を配置して接合させた触媒層付電解質膜(CCM)を、水電解等に用いることが知られている。触媒層付電解質膜の製造の際、固体高分子電解質膜を構成する基材に電極層を構成する電極インクを塗布して乾燥させる技術が提案されている(例えば、特許文献1参照)。
【先行技術文献】
【特許文献】
【0003】
特許4993915号明細書
【発明の概要】
【発明が解決しようとする課題】
【0004】
固体高分子電解質膜に電極層を接合させた触媒層付電解質膜を水電解に用いると、電解中に電極層が剥離する場合がある。そこで、固体高分子電解質膜の外側に配置させたガス拡散電極(GDE)の拡散層に電極層を形成することが考えられる。しかし、拡散層側に電極層を塗工しようとすると、拡散層が多孔質体で構成されるため、電極インクが深く染み込んでしまって電極層を形成しにくいという問題があった。
【課題を解決するための手段】
【0005】
(1) 本発明は、多孔質のガス拡散層(例えば、ガス拡散層4)に電極層(例えば、電極層2)を形成する電極インク(例えば、電極インク20)の塗工方法であって、前記ガス拡散層の下面を加熱手段(例えば、加熱手段5)で加熱する加熱工程(例えば、加熱工程S1)と、前記ガス拡散層の上に前記電極インクを塗工する塗工工程(例えば、塗工工程S2)と、前記塗工工程で塗工した前記電極インクを乾燥させる乾燥工程(例えば、乾燥工程S3)と、前記塗工工程と、前記乾燥工程と、を繰り返し行う繰り返し工程(例えば、繰り返し工程S4)と、を有する電極インクの塗工方法に関する。
【0006】
(2) 前記繰り返し工程は、前記ガス拡散層の表面が、前記電極インクで覆われた状態となるまで行われることが好ましい。
【0007】
(3) 前記加熱工程は、昇温可能な板状の前記加熱手段の上に前記ガス拡散層を載せて行うことが好ましい。
【0008】
(4) 本発明は、固体高分子電解質膜(例えば、固体高分子電解質膜3)の両面に電極層(例えば、電極層2)が配置され、前記電極層の外側にガス拡散層(例えば、ガス拡散層4)が形成されたガス拡散電極(例えば、ガス拡散電極10)を有する電解質膜・電極構造体(例えば、電解質膜・電極構造体1)であって、前記ガス拡散層は、多孔質性のシート状部材(例えば、シート状部材40)で構成され、前記電極層は、前記ガス拡散層の内部に電極インク(例えば、電極インク20)が染み込んで乾燥された電極内側層(例えば、電極内側層2a)と、前記ガス拡散層の表面に前記電極インクが配置された電極外側層(例えば、電極外側層2b)と、を有する、電解質膜・電極構造体に関する。
【発明の効果】
【0009】
上記(1)によれば、ガス拡散層を下面から加熱した状態で電極インクを塗工するので、電極インクがガス拡散層の下面まで到達する前に乾燥し、ガス拡散層の内部に留まる。そして、その状態から塗工と乾燥とを繰り返し行うことで、電極インクをガス拡散層の表面に早く塗工することが可能になる。また、電極層の一部がガス拡散層の内部でガス拡散層と一体に結合しているため、水電解を行うときに水溶液の中がガス拡散層と一体化した電極層の一部がアンカー効果を奏し、電極層2の剥離が抑制される。
【0010】
上記(2)によれば、ガス拡散層の表面が、電極インクで覆われた状態となるまで塗工工程と乾燥工程とを繰り返すことによって、電極層をガス拡散層から剥離しにくくなるように確実に結合させ、ガス拡散層に電極層を塗工することができる。
(【0011】以降は省略されています)
この特許をJ-PlatPat(特許庁公式サイト)で参照する
関連特許
本田技研工業株式会社
保持装置
今日
本田技研工業株式会社
バッテリ
今日
本田技研工業株式会社
保管装置
1日前
本田技研工業株式会社
保管装置
1日前
本田技研工業株式会社
固体電池
1日前
本田技研工業株式会社
バッテリ
今日
本田技研工業株式会社
断続装置
1日前
本田技研工業株式会社
送電装置
1日前
本田技研工業株式会社
受電装置
1日前
本田技研工業株式会社
電源システム
1日前
本田技研工業株式会社
放電処理方法
1日前
本田技研工業株式会社
鞍乗り型車両
今日
本田技研工業株式会社
潤滑システム
1日前
本田技研工業株式会社
遠心ファン構造
今日
本田技研工業株式会社
遠心ファン構造
今日
本田技研工業株式会社
モータ制御装置
1日前
本田技研工業株式会社
リリーフバルブ
今日
本田技研工業株式会社
鞍乗り型電動車両
3日前
本田技研工業株式会社
バッテリシステム
今日
本田技研工業株式会社
燃料電池システム
今日
本田技研工業株式会社
コンテンツ再生装置
今日
本田技研工業株式会社
二酸化炭素回収装置
1日前
本田技研工業株式会社
二酸化炭素回収装置
1日前
本田技研工業株式会社
撮像装置の取付構造
1日前
本田技研工業株式会社
二酸化炭素回収装置
1日前
本田技研工業株式会社
コンテンツ再生装置
今日
本田技研工業株式会社
送電装置及び受電装置
1日前
本田技研工業株式会社
送電装置及び受電装置
1日前
本田技研工業株式会社
選別装置、及び選別方法
今日
本田技研工業株式会社
ウインドスクリーン装置
今日
本田技研工業株式会社
再生型燃料電池システム
今日
本田技研工業株式会社
選別装置、及び選別方法
今日
本田技研工業株式会社
断線検出装置、及び車両
1日前
株式会社ニフコ
風防装置
今日
本田技研工業株式会社
車両用コミュニケーション装置
今日
本田技研工業株式会社
車両用コミュニケーション装置
今日
続きを見る
他の特許を見る