TOP
|
特許
|
意匠
|
商標
特許ウォッチ
Twitter
他の特許を見る
公開番号
2025115772
公報種別
公開特許公報(A)
公開日
2025-08-07
出願番号
2024010410
出願日
2024-01-26
発明の名称
コイル部品
出願人
株式会社村田製作所
代理人
個人
,
個人
主分類
H01F
27/29 20060101AFI20250731BHJP(基本的電気素子)
要約
【課題】金属端子近傍におけるワイヤの断線を抑制する。
【解決手段】コイル部品10は、ドラムコア10C、第1金属端子40、及び第1ワイヤ81を備えている。ドラムコア10Cは、柱状の巻芯部11、及び巻芯部11の中心軸Xに沿う方向の第1端に設けられている第1鍔部21、巻芯部11の第1端とは反対側の第2端に設けられている第2鍔部31を有する。第1金属端子40は、第1鍔部21に設けられている。第1金属端子40は、第1鍔部21の上面と向かい合う第1接合部45を有している。第1接合部45は、上面が左右軸Zに沿う方向において巻芯部11に向かうほど下方向に向かうように傾斜している第1傾斜部45Bを有している。第1ワイヤ81の第1端81Aは、第1接合部45の上面に接合されている。且つ、下方向を向いて視たとき、第1ワイヤ81は、第1傾斜部45Bに重なっている。
【選択図】図2
特許請求の範囲
【請求項1】
柱状の巻芯部、及び前記巻芯部の中心軸に沿う方向の第1端に設けられた第1鍔部、前記巻芯部の第1端とは反対側の第2端に設けられた第2鍔部を有するドラムコアと、
前記第1鍔部に設けられた第1金属端子と、
前記巻芯部に巻回され、第1端及び当該第1端と反対側の第2端を有する第1ワイヤと、
を備え、
前記第1鍔部は、前記中心軸に沿う方向から視たときに、前記中心軸に直交する上下軸に沿う方向において前記巻芯部に対して外側に張り出しており、
前記上下軸及び前記中心軸の双方に直交する軸を左右軸とし、前記上下軸に沿う方向のうちの一方を上方向、前記上方向と反対方向を下方向としたとき、
前記第1金属端子は、第1接合部を有しており、前記第1接合部の下面は、前記第1鍔部の上面と向かい合っており、
前記第1接合部は、第1傾斜部を有しており、当該第1傾斜部の上面は、前記左右軸に沿う方向において前記巻芯部に向かうほど前記下方向に向かうように傾斜しており、
前記第1ワイヤの第1端は、前記第1接合部の上面に接合されており、且つ、前記下方向を向いて視たとき、前記第1ワイヤは、前記第1傾斜部に重なっている
コイル部品。
続きを表示(約 1,500 文字)
【請求項2】
前記第1接合部は、第1平面部をさらに有しており、当該第1平面部の上面は、前記上下軸に直交しており、
前記第1傾斜部は、前記左右軸に沿う方向において前記巻芯部側で前記第1平面部に隣接している
請求項1に記載のコイル部品。
【請求項3】
前記第1ワイヤの第1端は、前記第1平面部においてのみ接合されている
請求項2に記載のコイル部品。
【請求項4】
前記第1ワイヤの第1端は、前記第1傾斜部においてのみ接合されている
請求項2に記載のコイル部品。
【請求項5】
前記第1ワイヤの第1端は、前記第1傾斜部及び前記第1平面部に接合されている
請求項2に記載のコイル部品。
【請求項6】
前記第1鍔部のうちの、前記左右軸に沿う方向において前記第1金属端子に対して前記中心軸を挟んで反対側の部分に設けられた第2金属端子と、
前記巻芯部に巻回され、第1端と当該第1端と反対側の第2端を有する第2ワイヤと、
をさらに備え、
前記第2金属端子は、前記第1鍔部の上面と向かい合う第2接合部を有しており、
前記第2接合部は、第2平面部と、前記中心軸に沿う方向において前記第2鍔部側で前記第2平面部に隣接する第2傾斜部と、を有し、
前記第2平面部の上面は、前記上下軸に直交しており、
前記第2傾斜部の上面は、前記中心軸に沿う方向において前記第2鍔部に向かうほど前記下方向に向かうように傾斜しており、
前記第2ワイヤの第1端は、前記第2接合部の上面に接合されており、且つ、前記下方向を向いて視たとき、前記第2ワイヤは、前記第2傾斜部に重なっている
請求項2に記載のコイル部品。
【請求項7】
前記第1鍔部のうちの、前記左右軸に沿う方向において前記第1金属端子に対して前記中心軸を挟んで反対側の部分に設けられた第2金属端子と、
前記巻芯部に巻回され、第1端と当該第1端と反対側の第2端を有する第2ワイヤと、
をさらに備え、
前記第2金属端子は、前記第1鍔部の上面と向かい合う第2接合部を有しており、
前記第2接合部は、第2平面部と、前記左右軸に沿う方向において前記巻芯部側で前記第2平面部に隣接する第2傾斜部と、を有し、
前記第2平面部の上面は、前記上下軸に直交しており、
前記第2傾斜部の上面は、前記左右軸に沿う方向において前記巻芯部に向かうほど前記下方向に向かうように傾斜しており、
前記第2ワイヤの第1端は、前記第2接合部の上面に接合されており、且つ、前記下方向を向いて視たとき、前記第2ワイヤは、前記第2傾斜部に重なっている
請求項2に記載のコイル部品。
【請求項8】
前記第1平面部の上面の面積と、前記第2平面部の上面の面積と、が等しい
請求項6または7に記載のコイル部品。
【請求項9】
前記上下軸に沿う方向において、前記第1鍔部の上面から前記第1平面部までの最短距離と、
前記上下軸に沿う方向において、前記第1鍔部の上面から前記第2平面部までの最短距離と、が等しい
請求項6又は請求項7に記載のコイル部品。
【請求項10】
前記上下軸に沿う方向における前記第1平面部の下面から上面までの厚さ寸法と、
前記上下軸に沿う方向における前記第2平面部の下面から上面までの厚さ寸法と、が等しい
請求項9に記載のコイル部品。
(【請求項11】以降は省略されています)
発明の詳細な説明
【技術分野】
【0001】
本発明は、コイル部品に関する。
続きを表示(約 1,500 文字)
【背景技術】
【0002】
特許文献1に記載のコイル部品は、巻芯部及び2つの鍔部を備えている。巻芯部は四角柱状である。2つの鍔部は、巻芯部の両端に接続している。各鍔部は、巻芯部の中心軸線と直交する方向において、巻芯部から外側に張り出している。これら巻芯部及び鍔部は、コイル部品のコアを構成している。また、特許文献1に記載のコイル部品は、電極部とワイヤとを備えている。電極部は、鍔部に取り付けられている。ワイヤは、巻芯部に巻回されている。ワイヤの端部は、熱圧着により電極部に取り付けられている。
【先行技術文献】
【特許文献】
【0003】
特開2019-50317号公報
【発明の概要】
【発明が解決しようとする課題】
【0004】
特許文献1に記載のコイル部品において、電極部で熱圧着されたワイヤは、電極部上で押しつぶされている。そのため、電極部上のワイヤは、熱圧着前の外径が保たれず扁平な形状に変形していることがある。このようなワイヤにおける扁平な部分が電極部の縁上にまで及んでいると、当該箇所においてワイヤが断線するおそれがある。
【課題を解決するための手段】
【0005】
上記課題を解決するため、本発明は、柱状の巻芯部、及び前記巻芯部の中心軸に沿う方向の第1端に接続している第1鍔部、前記巻芯部の第1端とは反対側の第2端に接続している第2鍔部を有するドラムコアと、前記第1鍔部に取り付けられた第1金属端子と、前記巻芯部に巻回され、第1端及び当該第1端と反対側の第2端を有する第1ワイヤと、を備え、前記第1鍔部は、前記中心軸に直交する上下軸に沿う方向において前記巻芯部に対して外側に張り出しており、前記上下軸及び前記中心軸の双方に直交する軸を左右軸とし、前記上下軸に沿う方向のうちの一方を上方向、前記上方向と反対方向を下方向としたとき、前記第1金属端子は、前記第1鍔部の上面と向かい合う第1接合部を有しており、前記第1接合部は、上面が前記左右軸に沿う方向において前記巻芯部に向かうほど前記下方向に向かうように傾斜している第1傾斜部を有し、前記第1ワイヤの第1端は、前記第1接合部の上面に接合されており、且つ、前記下方向を向いて視たとき、前記第1ワイヤは、前記第1傾斜部に重なっているコイル部品である。
【発明の効果】
【0006】
上記構成によれば、金属端子近傍におけるワイヤの断線を抑制できる。
【図面の簡単な説明】
【0007】
図1は、コイル部品の斜視図である。
図2は、コイル部品の上面図である。
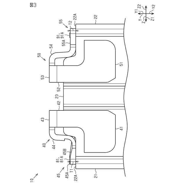
図3は、第1負方向を向いて、コイル部品を視たときの拡大図である。
図4は、変更例のコイル部品の上面図である。
図5は、変更例のコイル部品の斜視図である。
【発明を実施するための形態】
【0008】
以下、コイル部品の一実施形態を、図面を参照して説明する。なお、図面は、理解を容易にするために構成要素を拡大して示している場合がある。構成要素の寸法比率は実際のものと、又は別の図面中のものと異なる場合がある。
【0009】
<全体構成について>
図1に示すように、コイル部品10は、ドラムコア10Cと、板コア10Fと、を備えている。
【0010】
ドラムコア10Cは、巻芯部11、第1鍔部21、及び第2鍔部31を有している。
巻芯部11は、四角柱状である。巻芯部11の材質は、例えば、アルミナ、Ni-Zn系フェライト、合成樹脂、及びこれらの混合物等である。
(【0011】以降は省略されています)
この特許をJ-PlatPat(特許庁公式サイト)で参照する
関連特許
株式会社村田製作所
電池
10日前
株式会社村田製作所
ラック
1か月前
株式会社村田製作所
釣り具
9日前
株式会社村田製作所
電子部品
2日前
株式会社村田製作所
増幅回路
1か月前
株式会社村田製作所
搬送装置
1か月前
株式会社村田製作所
噴霧ノズル
4日前
株式会社村田製作所
コイル部品
1か月前
株式会社村田製作所
高周波回路
1か月前
株式会社村田製作所
コイル部品
16日前
株式会社村田製作所
高周波回路
1か月前
株式会社村田製作所
電力増幅回路
1か月前
株式会社村田製作所
流体制御装置
17日前
株式会社村田製作所
フィルタ回路
6日前
株式会社村田製作所
測定システム
1か月前
株式会社村田製作所
積層インダクタ
6日前
株式会社村田製作所
積層インダクタ
1か月前
株式会社村田製作所
圧力センサ装置
1か月前
株式会社村田製作所
インダクタ部品
16日前
株式会社村田製作所
弾性波フィルタ
16日前
株式会社村田製作所
グラビア印刷版
24日前
株式会社村田製作所
複合型電子部品
2日前
株式会社村田製作所
インダクタ部品
1か月前
株式会社村田製作所
インダクタ部品
1か月前
株式会社村田製作所
呼吸検出システム
6日前
株式会社村田製作所
電子部品の製造装置
1か月前
株式会社村田製作所
多層基板及び電子機器
6日前
株式会社村田製作所
多層基板及び電子機器
6日前
株式会社村田製作所
積層セラミック電子部品
25日前
株式会社村田製作所
積層セラミック電子部品
2日前
株式会社村田製作所
積層セラミック電子部品
18日前
株式会社村田製作所
光学的パターン表示物品
2日前
株式会社村田製作所
積層セラミック電子部品
18日前
株式会社村田製作所
積層セラミック電子部品
18日前
株式会社村田製作所
積層セラミック電子部品
3日前
株式会社村田製作所
積層セラミック電子部品
3日前
続きを見る
他の特許を見る