TOP
|
特許
|
意匠
|
商標
特許ウォッチ
Twitter
他の特許を見る
10個以上の画像は省略されています。
公開番号
2025117378
公報種別
公開特許公報(A)
公開日
2025-08-12
出願番号
2024012188
出願日
2024-01-30
発明の名称
自動車ドア用グラスラン
出願人
西川ゴム工業株式会社
,
マツダ株式会社
代理人
弁理士法人前田特許事務所
主分類
B60J
10/88 20160101AFI20250804BHJP(車両一般)
要約
【課題】モールの端部が正規の位置から上下方向にずれないようにして車両の外観見栄えを良好にする。
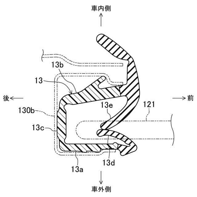
【解決手段】自動車ドア用グラスランは、グラスラン本体20とモール30とを備えている。グラスラン上辺部11の車外側には、本体側嵌合部23a、23bが車両前後方向に延びるように形成されている。モール30の車両前後方向一端部にはエンドキャップ40が固定されている。エンドキャップ40は、モール30の車内側の面に沿うように延び、モール30に固定される固定板42を有している。固定板42は、グラスラン上辺部11の車外側に嵌合するように形成されている。
【選択図】図6
特許請求の範囲
【請求項1】
自動車ドアのウインド開口を形成するように延びるウインドフレームに車外側から組み付けられ、該ウインドフレームとウインドガラスとの間をシールする自動車ドア用グラスランであって、
前記ウインドフレームの上部から車外側に延びるグラスラン取付板に対して取り付けられ、車両前後方向に延びるグラスラン上辺部を有するグラスラン本体と、
前記グラスラン上辺部の車外側に組み付けられ、車両前後方向に延びるモールとを備え、
前記モールには、前記グラスラン上辺部の車外側に嵌合する上部及び下部モール側嵌合部が車両前後方向に延びるように形成され、
前記グラスラン上辺部の車外側には、前記上部及び下部モール側嵌合部が嵌合する本体側嵌合部が車両前後方向に延びるように形成され、
前記モールの車両前後方向一端部には、他端部へ向けて突出する係止部を有するエンドキャップが固定され、
前記グラスラン上辺部の車両前後方向一端部には、前記エンドキャップの前記係止部が挿入される挿入孔が開口しており、
前記エンドキャップの前記係止部は、前記挿入孔に挿入されるとともに、前記グラスラン上辺部に係止され、
前記エンドキャップは、前記モールの車内側の面に沿うように延び、前記モールに固定される固定板を有し、
前記固定板は、前記グラスラン上辺部の前記本体側嵌合部の車外側に嵌合するように溝が形成されている、自動車ドア用グラスラン。
続きを表示(約 1,100 文字)
【請求項2】
請求項1に記載の自動車ドア用グラスランにおいて、
前記本体側嵌合部は、前記グラスラン上辺部の車両前後方向一端部に達するまで延びるとともに、上方へ突出する上側嵌合部と下方へ突出する下側嵌合部とを有し、
前記固定板には、前記上側嵌合部に嵌合する上側溝と、前記下側嵌合部に嵌合する下側溝とが形成されている、自動車ドア用グラスラン。
【請求項3】
請求項2に記載の自動車ドア用グラスランにおいて、
前記固定板は、上下方向及び車両前後方向に延びており、
前記上側溝は、前記固定板の上側部分と、前記固定板の上部から上方へ突出する上側突出部と、前記上側突出部の車内側から下方へ突出する上部内側突出部とによって形成され、
前記下側溝は、前記固定板の下側部分と、前記固定板の下部から下方へ突出する下側突出部と、前記下側突出部の車内側から下方へ突出する下部内側突出部とによって形成されている、自動車ドア用グラスラン。
【請求項4】
請求項3に記載の自動車ドア用グラスランにおいて、
前記上側嵌合部と前記下側嵌合部は、前記グラスラン上辺部から車外側へ突出する基部と一体成形され、
前記固定板の前記上側溝及び前記下側溝を前記上側嵌合部及び前記下側嵌合部にそれぞれ嵌合させた状態で、前記上部内側突出部の下端部と前記基部の上面との間に隙間が形成される一方、前記下部内側突出部の上端部が前記基部の下面に当接している、自動車ドア用グラスラン。
【請求項5】
請求項4に記載の自動車ドア用グラスランにおいて、
前記上部内側突出部の車両前後方向他側には、他端部に行くにしたがって上側に位置するように傾斜した上側傾斜面が形成され、
前記下部内側突出部の車両前後方向他側には、他端部に行くにしたがって下側に位置するように傾斜した下側傾斜面が形成されている、自動車ドア用グラスラン。
【請求項6】
請求項1から5のいずれか1つに記載の自動車ドア用グラスランにおいて、
前記モールの意匠部と前記グラスラン上辺部との間には、別体の樹脂部品が設けられ、
前記モールの前記意匠部の上側には、車内側へ折り曲げられるとともに下方へ屈曲するように形成された上側屈曲部が形成され、
前記モールの前記意匠部の下側には、車内側へ折り曲げられるとともに上方へ屈曲するように形成された下側屈曲部が形成され、
前記樹脂部品の上部には、前記上側屈曲部の内側に嵌まる上側樹脂嵌合部が形成され、
前記樹脂部品の下部には、前記下側屈曲部の内側に嵌まる下側樹脂嵌合部が形成されている、自動車ドア用グラスラン。
発明の詳細な説明
【技術分野】
【0001】
本開示は、自動車ドアのウインドフレームに組み付けられる自動車ドア用グラスランに関する。
続きを表示(約 2,100 文字)
【背景技術】
【0002】
例えば特許文献1には、ウインドフレームに対して車外側から組み付けられるグラスランが開示されている。特許文献1のグラスランは、自動車のルーフの側縁部に沿って前後方向に延びるグラスラン上辺部と、グラスラン上辺部の車外側に組み付けられるモールとを備えている。グラスラン上辺部の車外側には、モールが嵌合する嵌合部が前後方向に連続したレール状に形成されている。一方、モールの後端部には、端末部材が固定されている。
【先行技術文献】
【特許文献】
【0003】
特開2023-101051号公報
【発明の概要】
【発明が解決しようとする課題】
【0004】
ところで、特許文献1のグラスラン上辺部に設けられている嵌合部は前後方向に連続しているが、端末部材の組み付け位置まで達していないので、端末部材を嵌合部に嵌合させることができない。このため、端末部材を嵌合部によって位置決めすることができず、その結果、モールにおける端末部材側が狙いとする位置から上下方向にずれてしまうおそれがある。
【0005】
このことを図9及び図10に基づいて具体的に説明する。図9は、自動車100の右側面図であり、リヤドア100のウインドフレーム101に対して従来のグラスラン102が組み付けられた状態を示している。このグラスラン102の車外側には車両前後方向に延びるリヤドアモール102aが組み付けられている。また、リヤドア100の後方にはリヤサイドガラス104が車体に対して固定されている。リヤサイドガラス104の上縁部に沿うように後側モール106が設けられている。さらに、ウインドフレーム101の後辺部101aにはガーニッシュ105が組み付けられている。
【0006】
図10は、図9の枠A内を拡大して示すものであり、リヤドアモール102aの後端部には、端末部材102bが固定されているが、特許文献1に開示されている構造の場合、端末部材102bを嵌合部によって位置決めすることができないので、例えばウインドガラスの全閉時にウインドガラスによって突き上げられた状態で、リヤドアモール102aの下側部分が車外方向に変位してグラスランの本体部分から浮いてしまうおそれがある。リヤドアモール102aの下側部分が浮くと、リヤドアモール102aにおける端末部材側が正規の位置(仮想線で示す)から上にずれることになる。
【0007】
一方、後側モール106は車体に固定されていて、後側モール106の前端部は、正規の位置にあるリヤドアモール102aの後端部と同じ高さになるように配置されるので、上にずれてしまっているリヤドアモール102aの後端部との間に段差ができることになる。このことは車両の外観見栄えの悪化をもたらすことになる。
【0008】
本開示は、かかる点に鑑みたものであり、その目的とするところは、モールの端部が正規の位置から上下方向にずれないようにして車両の外観見栄えを良好にすることにある。
【課題を解決するための手段】
【0009】
前記目的を達成するために、本開示の一態様では、自動車ドアのウインド開口を形成するように延びるウインドフレームに車外側から組み付けられ、該ウインドフレームとウインドガラスとの間をシールする自動車ドア用グラスランを前提とすることができる。自動車ドア用グラスランは、前記ウインドフレームの上部から車外側に延びるグラスラン取付板に対して取り付けられ、車両前後方向に延びるグラスラン上辺部を有するグラスラン本体と、前記グラスラン上辺部の車外側に組み付けられ、車両前後方向に延びるモールとを備えている。前記モールには、前記グラスラン上辺部の車外側に嵌合する上部及び下部モール側嵌合部が車両前後方向に延びるように形成され、前記グラスラン上辺部の車外側には、前記上部及び下部モール側嵌合部が嵌合する本体側嵌合部が車両前後方向に延びるように形成され、前記モールの車両前後方向一端部には、他端部へ向けて突出する係止部を有するエンドキャップが固定され、前記グラスラン上辺部の車両前後方向一端部には、前記エンドキャップの前記係止部が挿入される挿入孔が開口しており、前記エンドキャップの前記係止部は、前記挿入孔に挿入されるとともに、前記グラスラン上辺部に係止され、前記エンドキャップは、前記モールの車内側の面に沿うように延び、前記モールに固定される固定板を有している。前記固定板は、前記グラスラン上辺部の前記本体側嵌合部の車外側に嵌合するように溝が形成されている。
【0010】
この構成によれば、グラスラン本体をモールに組み付ける際には、グラスラン上辺部の車外側にある本体側嵌合部を、モールの上部及び下部モール側嵌合部に対してその端部から嵌合させた後、モールに対してグラスラン上辺部を車両前後方向に相対的に移動させることにより、モールのグラスラン上辺部に対する組付作業が容易に行える。
(【0011】以降は省略されています)
この特許をJ-PlatPat(特許庁公式サイト)で参照する
関連特許
西川ゴム工業株式会社
自動車用ドア構造
1か月前
西川ゴム工業株式会社
自動車用ウェザーストリップ
24日前
西川ゴム工業株式会社
ドアホールシールの製造方法およびドアホールシール
5日前
西川ゴム工業株式会社
自動車ドア用のグラスランおよびこれを備えたグラスランユニット
24日前
個人
カーテント
4か月前
個人
タイヤレバー
2か月前
個人
前輪キャスター
1か月前
個人
車窓用防虫網戸
5か月前
個人
上部一体型自動車
10日前
個人
ルーフ付きトライク
2か月前
個人
タイヤ脱落防止構造
1か月前
個人
車輪清掃装置
4か月前
個人
ホイルのボルト締結
3か月前
日本精機株式会社
表示装置
1か月前
井関農機株式会社
作業車両
4か月前
個人
マスタシリンダ
17日前
個人
車両通過構造物
2か月前
日本精機株式会社
表示装置
2か月前
日本精機株式会社
表示装置
2か月前
井関農機株式会社
作業車両
4か月前
個人
キャンピングトライク
3か月前
日本精機株式会社
表示装置
2か月前
個人
車両用スリップ防止装置
3か月前
個人
キャンピングトレーラー
3か月前
個人
ワイパーゴム性能保持具
4か月前
個人
アクセルのソフトウェア
3か月前
個人
乗合路線バスの客室装置
2か月前
日本精機株式会社
車載表示装置
25日前
日本精機株式会社
画像投映装置
6日前
日本精機株式会社
車室演出装置
1か月前
株式会社クラベ
ヒータユニット
5か月前
井関農機株式会社
収穫作業車両
5か月前
個人
音声ガイド、音声サービス
2か月前
株式会社ニフコ
収納装置
1か月前
株式会社豊田自動織機
産業車両
2か月前
個人
円湾曲ホイール及び球体輪
2か月前
続きを見る
他の特許を見る