TOP
|
特許
|
意匠
|
商標
特許ウォッチ
Twitter
他の特許を見る
10個以上の画像は省略されています。
公開番号
2025127105
公報種別
公開特許公報(A)
公開日
2025-09-01
出願番号
2024023627
出願日
2024-02-20
発明の名称
自動車用ドア構造
出願人
西川ゴム工業株式会社
代理人
個人
,
個人
主分類
B60J
10/20 20160101AFI20250825BHJP(車両一般)
要約
【課題】構造が簡単で特にシール機能を低下させることのない自動車用ドア構造を提供する。
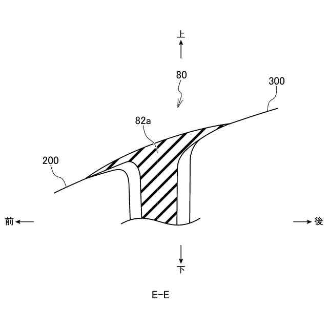
【解決手段】自動車100のウインド開口を形成する窓枠104に上端部が固定されたディビジョンバー150でウインド開口を一方側と他方側に仕切り、ディビジョンバー150の一方側にはガスケット50を介して固定ガラス200が配置され、他方側には縦辺グラスラン30を介して昇降ガラス300が配置されたもので、ディビジョンバー150の上端部よりも上側の部位において、ガスケット50の上端部と縦辺グラスラン30の上端部とを接続一体化してディビジョンバー上端シール部80を形成し、ディビジョンバー上端シール部80を、窓枠104に取付けられ車両前後方向に延びる上辺グラスラン20に形成された下向き開口凹部20aに差し込み固定した。
【選択図】図1
特許請求の範囲
【請求項1】
自動車のウインド開口を形成する窓枠に上端部が固定されたディビジョンバーで前記ウインド開口を一方側と他方側に仕切り、前記ディビジョンバーの一方側にはシール材を介して固定ガラスが配置されるとともに、他方側には縦辺グラスランを介して昇降ガラスが配置された自動車用ドア構造であって、
前記ディビジョンバーの上端部よりも上側の部位において、前記シール材の上端部と前記縦辺グラスランの上端部とを接続一体化してディビジョンバー上端シール部を形成し、
前記ディビジョンバー上端シール部を、前記窓枠に取付けられ車両前後方向に延びる上辺グラスランに形成された下向き開口凹部に差し込み固定したことを特徴とする自動車用ドア構造。
続きを表示(約 970 文字)
【請求項2】
前記上辺グラスランは、前記ディビジョンバーの上端部よりも車両一方側まで延設され、前記固定ガラスの上端部を、前記上辺グラスランの下向き開口凹部に差し込み固定したことを特徴とする請求項1に記載の自動車用ドア構造。
【請求項3】
前記上辺グラスランは、前記窓枠から車外側に延びるグラスラン取付板の上側に配置される上壁と、前記グラスラン取付板の下側に配置される下壁と、前記上壁の車外側端部と前記下壁の車外側端部とを接続する外壁を有し、前記上壁,前記下壁,前記外壁とで構成される内向き開口凹部を前記グラスラン取付板に対して車外側から組付けられるとともに、
前記下向き開口凹部は、前記下壁と、前記下壁の車外側端部から下側に延出する車外側シール部と、前記下壁の車内側端部から下側に延出する車内側シール部で構成されることを特徴とする請求項1又は2に記載の自動車用ドア構造。
【請求項4】
前記ディビジョンバー上端シール部の上側部分はその下側部分より車両幅方向の厚さが薄くなるようにしたことを特徴とする請求項3に記載の自動車用ドア構造。
【請求項5】
前記ディビジョンバー上端シール部の上側部分には、前記固定ガラスの他方側端部と前記昇降ガラスの一方側端部との間に配置される本体部が形成され、
前記本体部の一方側車内側及び一方側車外側から、前記固定ガラスの車内側面及び車外側面にそれぞれ弾接する一方側車内側シールリップと一方側車外側シールリップを形成し、
前記本体部の他方側車内側及び他方側車外側から、前記昇降ガラスの車内側面及び車外側面にそれぞれ摺接する他方側車内側シールリップと他方側車外側シールリップを形成したことを特徴とする請求項4に記載の自動車用ドア構造。
【請求項6】
前記一方側車内側シールリップと一方側車外側シールリップは、それらの断面形状において、一方側にいくにつれて車両幅方向の厚さが徐々に薄くなるように成形されるとともに、
前記他方側車内側シールリップと他方側車外側シールリップは、それらの断面形状において、他方側にいくにつれて車両幅方向の厚さが徐々に薄くなるように成形されたことを特徴とする請求項5に記載の自動車用ドア構造。
発明の詳細な説明
【技術分野】
【0001】
本発明は、ウインド開口を形成する窓枠に固定されたディビジョンバーでウインド開口を前後に仕切り、前側(一方側)に固定ガラスを配置し、後側(他方側)に昇降ガラスを配置した自動車用ドア構造に関するものである。
続きを表示(約 2,100 文字)
【背景技術】
【0002】
図9に示すように、自動車100のフロントドア101の本体部分の上端部であるベルトラインBLと窓枠104で形成されるウインド開口をディビジョンバー1で前後に仕切り、前側にはガスケットなどのシール材(図示しない)を介して固定ガラス200が配置され、後側には縦辺グラスランを介して昇降ガラス300が配置された自動車用ドア構造が知られている。
【0003】
昇降ガラス300の上端部を案内する溝が形成された上辺グラスランが、窓枠104に対して下側から嵌め込まれるタイプのものでは、通常、ディビジョンバー1の上端部は、窓枠104に対してL字形状のブラケット(図示しない)を介して固定される。例えば、サッシュドアの例としては、特許文献1のブラケット7があげられ、パネルドアの例としては、特許文献2のブラケット18があげられる。
図10に示すように、窓枠104の一部であり、車外側に延びるグラスラン取付板2に車外側から組付けられ、窓枠104の一部を車外側から覆って隠すヒドンタイプと呼ばれる上辺グラスラン3では、グラスラン取付板2に上辺グラスラン3が組付けられているため、ディビジョンバー1をグラスラン取付板2に固定することは困難である。
【0004】
そこで、図11に示すように、車両前後方向に延びる上辺グラスラン3と上下に延びる縦辺グラスラン4とを型成形して一体化するとともに、ディビジョンバー1の上端部に設けた金属製接続部5を、グラスラン取付板部2よりも下側に位置するアウタパネル7に設けられた被係止部6に係止することにより、窓枠104に対してディビジョンバー1の上端部を固定するものが開示されている(例えば、特許文献3)。
【先行技術文献】
【特許文献】
【0005】
特開昭60-060028号公報
特開2010-274709号公報
特開2019-89363号公報
【発明の概要】
【発明が解決しようとする課題】
【0006】
しかしながら、図11に示した自動車用ドア構造によれば、ディビジョンバー1の上端部に金属製接続部5を設け、また、金属製接続部5を係止するための被係止部6もアウタパネル7に設ける必要があるので構造が複雑なものとなる。
さらに、上辺グラスラン3と縦辺グラスラン4を一体的に型成形する必要がある。そのためには、上辺グラスラン3の下側部を部分的に切欠した後に、縦辺グラスラン4と型成形一体化することが必要であるので、作業工程が煩雑になって、製造コストが上昇する。また、部品が大型化して運搬コストが上昇する。
【0007】
そこで、本発明の目的とするところは、構造が簡単で特にシール機能を低下させることのない自動車用ドア構造を比較的低コストで提供することにある。
【課題を解決するための手段】
【0008】
上記の目的を達成するために、本発明は、自動車(100)のウインド開口を形成する窓枠(104)に上端部が固定されたディビジョンバー(150)で前記ウインド開口を一方側と他方側に仕切り、前記ディビジョンバー(150)の一方側にはシール材(50)を介して固定ガラス(200)が配置されるとともに、他方側には縦辺グラスラン(30)を介して昇降ガラス(300)が配置された自動車用ドア構造であって、
前記ディビジョンバー(150)の上端部よりも上側の部位において、前記シール材(50)の上端部と前記縦辺グラスラン(30)の上端部とを接続一体化してディビジョンバー上端シール部(80)を形成し、
前記ディビジョンバー上端シール部(80)を、前記窓枠(104)に取付けられ車両前後方向に延びる上辺グラスラン(20)に形成された下向き開口凹部(20a)に差し込み固定したことを特徴とする。
【0009】
また、本発明は、前記上辺グラスラン(20)は、前記ディビジョンバー(150)の上端部よりも車両一方側まで延設され、前記固定ガラス(200)の上端部を、前記上辺グラスラン(200)の下向き開口凹部(20a)に差し込み固定したことを特徴とする。
【0010】
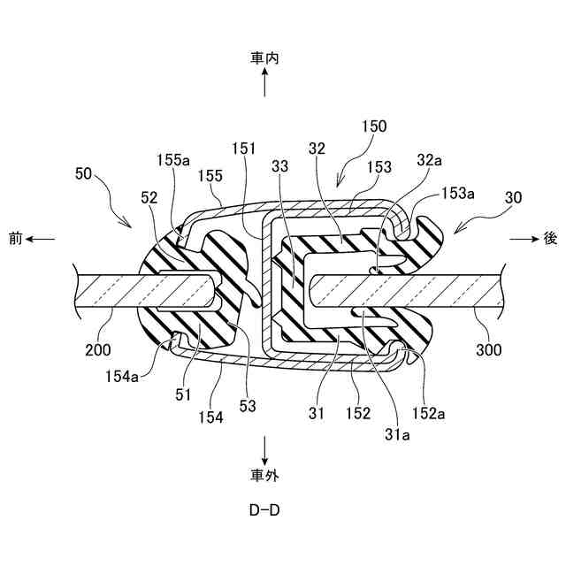
また、本発明は、前記上辺グラスラン(20)は、前記窓枠(104)から車外側に延びるグラスラン取付板(112)の上側に配置される上壁(21)と、前記グラスラン取付板(112)の下側に配置される下壁(22)と、前記上壁(21)の車外側端部と前記下壁(22)の車外側端部とを接続する外壁(23)を有し、前記上壁(21),前記下壁(22),前記外壁(23)とで構成される内向き開口凹部(20b)を前記グラスラン取付板(112)に対して車外側から組付けられるとともに、
前記下向き開口凹部(20a)は、前記下壁(22)と、前記下壁(22)の車外側端部から下側に延出する下側シール部(27)と、前記下壁(23)の車内側端部から下側に延出する内側シール部(26)で構成されることを特徴とする。
(【0011】以降は省略されています)
この特許をJ-PlatPat(特許庁公式サイト)で参照する
関連特許
西川ゴム工業株式会社
自動車用ドア構造
1か月前
西川ゴム工業株式会社
自動車ドア用グラスラン
1か月前
西川ゴム工業株式会社
自動車用ウェザーストリップ
21日前
西川ゴム工業株式会社
ドアホールシールの製造方法およびドアホールシール
2日前
西川ゴム工業株式会社
自動車ドア用のグラスランおよびこれを備えたグラスランユニット
21日前
個人
カーテント
4か月前
個人
タイヤレバー
2か月前
個人
前輪キャスター
1か月前
個人
上部一体型自動車
7日前
個人
ホイルのボルト締結
3か月前
個人
車輪清掃装置
4か月前
個人
タイヤ脱落防止構造
1か月前
個人
ルーフ付きトライク
2か月前
井関農機株式会社
作業車両
4か月前
日本精機株式会社
表示装置
1か月前
個人
キャンピングトライク
3か月前
日本精機株式会社
表示装置
2か月前
個人
車両通過構造物
2か月前
日本精機株式会社
表示装置
2か月前
井関農機株式会社
作業車両
4か月前
日本精機株式会社
表示装置
2か月前
個人
マスタシリンダ
14日前
個人
ワイパーゴム性能保持具
4か月前
個人
キャンピングトレーラー
3か月前
個人
乗合路線バスの客室装置
2か月前
個人
アクセルのソフトウェア
3か月前
個人
車両用スリップ防止装置
3か月前
株式会社ニフコ
収納装置
1か月前
個人
車載小物入れ兼雨傘収納具
3か月前
日本精機株式会社
車室演出装置
1か月前
日本精機株式会社
車載表示装置
22日前
株式会社豊田自動織機
産業車両
2か月前
株式会社クラベ
ヒータユニット
4か月前
個人
音声ガイド、音声サービス
2か月前
株式会社ニフコ
保持装置
3か月前
株式会社ニフコ
照明装置
1か月前
続きを見る
他の特許を見る